一般的电子琴都需要有结构复杂的琴键,使业余爱好者在实际制作时遇到不少困难。本文向读者介绍一台无键电子琴,它的特点是省掉了传统的琴键,只要用手指触到音阶位置,电子琴就会发出相应的声音。
电路工作原理
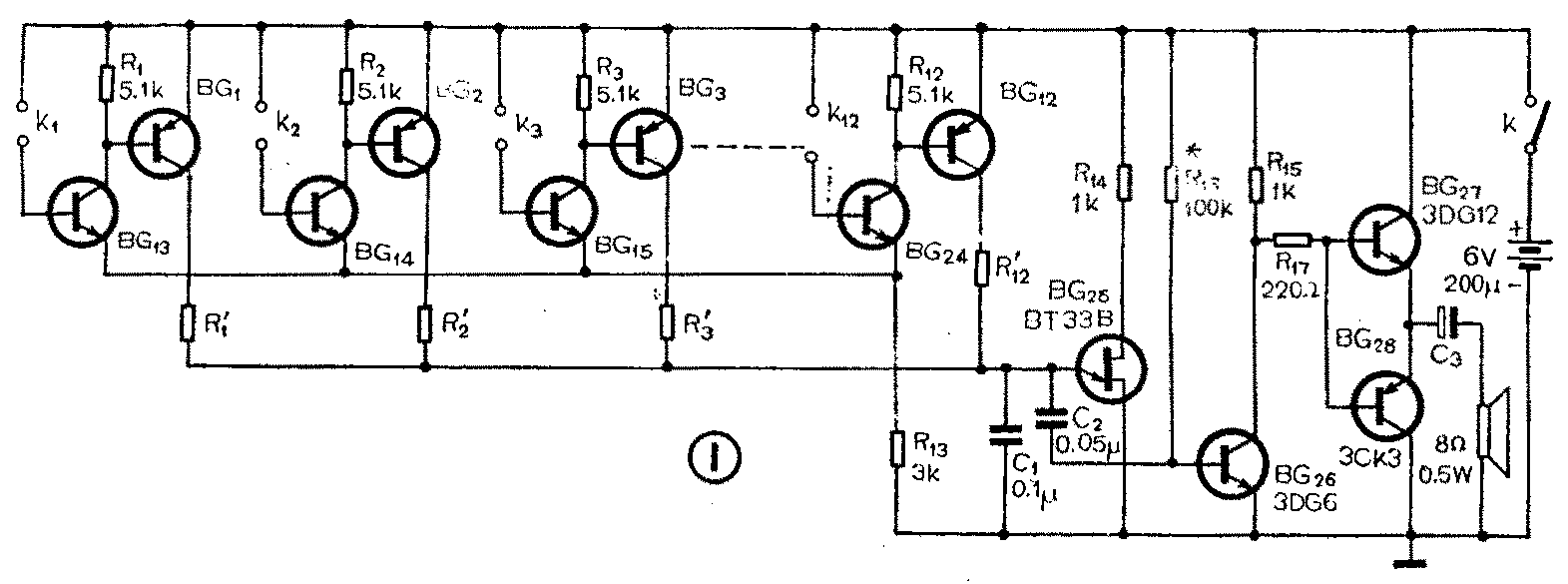
图1为无键电子琴的电路图。图中单结晶体管BG\(_{25}\)连接成音频振荡器。三极管BG26~BG\(_{28}\)组成音频放大器。C1是确定音频频率的电容,C\(_{2}\)是耦合电容。当C1容量确定之后,电子琴的音阶则只通过R'\(_{1}\)-R'1212个电阻来调整,这12个音阶电阻可叫做音阶电阻,不同的音阶电阻值对应不同的振荡频率,也就是说对应不同的音阶。图中R\(_{13}\)是限流电阻。

平时,12个音阶电阻上面的三极管BG\(_{1}\)~BG12均处于截止状态,所以R'\(_{1}\)~R'12等于断路,音频振荡器不起振(BG\(_{13}\)~BG24不导通)。当手指触摸K\(_{1}\)时,BG13得到微弱的基极电流,这一电流足以使BG\(_{13}\)导通,于是BG1饱和导通,这就等于将R'\(_{1}\)上端通过BG1接到电源的正极。于是BG\(_{25}\)产生振荡。音频信号经放大后,从扬声器中就会发出声音。其它音阶触点K2~K\(_{12}\)的工作过程与K1相同。显然,只要R'\(_{1}\)~R'12按一定规律取不同的阻值,电子琴就可以产生出所要求的音阶。
图2是电子琴的印刷电路板。K\(_{1}\)~K12相当于12个琴键,制作成触摸形式。

元件选择及调试
BG\(_{1}\)~BG12采用β≈100~150的3CG21型三极管。BG\(_{13}\)~BG24采用β≈80~120的3DG6型三极管。这24只三极管要求漏电流要较小。用万用表R×10K档测管子的ec极电阻时,表针应基本不动。注意:测3DG型管子时万用表负表笔接C极,测3CG型管子时正表笔接C极。
BG\(_{25}\)采用BT33B或BT35单结晶体管。BG26采用β≈80~100的3DG6三极管。BG\(_{27}\)采用3DG12,BG28采用3CK型三极管,这两只管子的β值相近即可。
电路组装好以后,先调R\(_{16}\)使BG27发射极对地电位为3伏左右,然后调R'\(_{1}\)~R'12的阻值。将K\(_{1}\)短接,10K电位器串一只12KΩ的电阻代替R'1焊入电路,边吹口琴的5·音边调电位器,直到电子琴的扬声器中发出的声音与琴声相同为止。然后将电位器焊下来,测量其电阻值,用一个等值电阻焊上即可。其它音的调试方法与此相同,只不过在调试R'\(_{5}\)~R'12时电位器不串12K电阻,直接用10K电位器即可,因为这时音阶电阻阻值约在6~10K之间。音阶电阻调好以后,要依次接K\(_{1}\)~K12演奏一下,连续起来听一听5·6·1 2 3 4 5 6 7 1· 2·这几个音的质量。如果有不正的音可再细调一下。
无键电子琴在演奏时手不能太湿。如果手上有水,要擦干再奏。手也不能太干,如果太干,应先洗一下手擦干后再演奏。(常光宇)