近来人们常可在一些小型宴会、舞厅或一些商店中欣赏到一种使人耳目一新的音响效果。它既有美妙的音乐回旋,又有伴随着音乐节奏的五彩缤纷的灯光闪烁,音响和灯光浑然一体,令人心情兴奋而愉快。这就是国内最近几年兴起的新型音响技术“彩色音乐”。本文介绍几种简易的便于业余制作的适合于一般家庭、小型舞会使用的“彩色音乐”控制器。
原理与线路
目前流行的彩色音乐控制器多半是采用可控硅整流电路。其基本原理是:从信号源(收音机、收录机等音响设备)引出音频信号,充当可控硅的触发电压。如果该触发电压正半周的幅值高于可控硅导通所需的触发电压值则可控硅导通。可控硅主回路就会有电流流过,它的负载(即彩灯)就会被点亮。反之,当该触发电压过小时,可控硅处于阻断状态,彩灯就熄灭。于是彩灯就会随着可控硅触发电压的大小,也就是随着音乐节奏闪烁。不难看出,只要设计出各种不同类型的触发电路(有放大、分频、直接耦合升压等类型),就可以制作出功能各异的彩色音乐控制器。
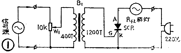
1.接线式控制器(8301型):这种控制器的原理图参见图1,它是一种最原始最简单的彩色音乐控制器线路。它的输入端直接与信号源的输出端(即喇叭两端)相接。将引出的音频信号通过耦合变压器B\(_{1}\)升压,直接触发可控硅导通,使彩灯(图中的Rfz)闪烁。这种电路的输入灵敏度要求大于0.3V,可带动300W负载。这种电路的特点是频响好,灵敏度高,且不受外界杂散电磁波干扰。

2.分频式控制器(8405型):分频式控制电路见图2所示。印制板及元件排列见图3。音频信号从音响设备的扬声器两端引出。经变压器B1升压,再通过分频元件(图2中的C\(_{1}\)、C2、C\(_{3}\)、L1)分频,得到高、中,低频触发电压,并各自触发不同的可控硅。于是红、绿、兰三种颜色的彩灯便随着各国的频率闪烁。这种电路的特点是变通性较强,每路彩灯的功率为300W,是一种用途较广的控制器。


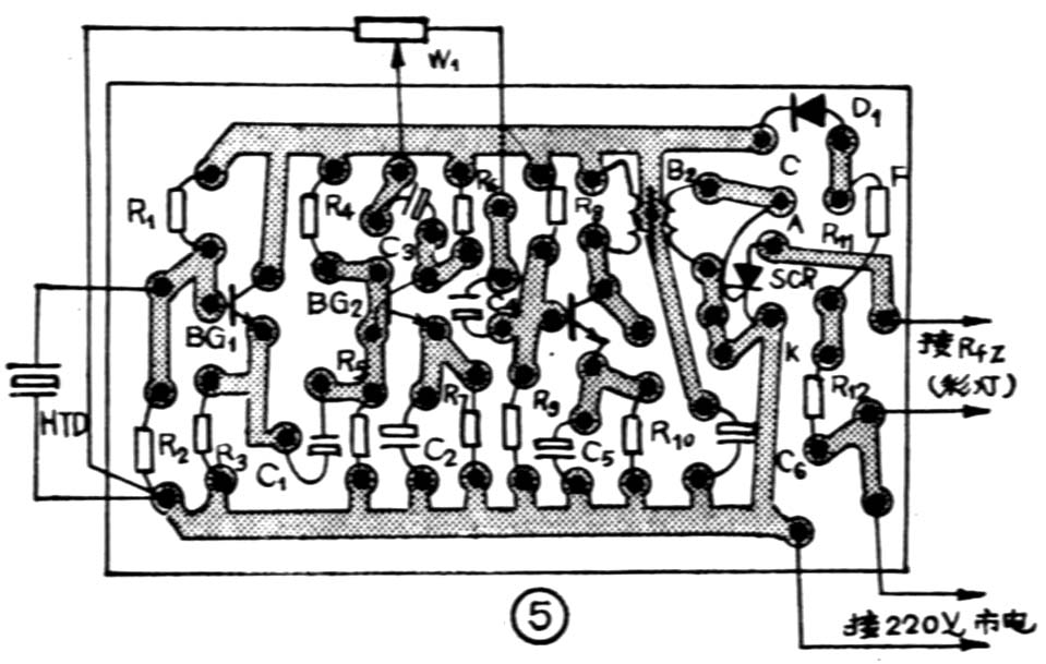
3.声控式控制器(8421型): 声控式电路见图4,印制板及元件排列见图5。输入回路采用压电陶瓷片(HTD),利用其压电效应,将信号源的声波转换成电信号,然后经放大器放大,再经变压器B\(_{2}\)耦合,去触发可控硅(SCR),控制彩灯闪烁。这种电路的特点是操作简便,使用时只要将控制器靠近信号源便可工作,无须接线。


图4中R\(_{11}\)、R12是降压电阻,与D\(_{1}\)、C6组成半波整流器,为放大器提供6~8V的直流电压。图中BG\(_{1}\)起缓冲作用,BG2、BG\(_{3}\)起放大作用。该电路也可带动300W负载。
图1、2、4中均有一个5~15kΩ的电位器W\(_{1}\),它是用来调整音频触发电压大小的,即调整灵敏度用的。应该调整到使可控硅处于导通与阻断的临界状态,以便使彩灯亮熄的时间间隔适中。
元件的选择与使用
上述几种电路关键元件是小功率触发单向可控硅。经试验,型号为CRZAM进口塑封可控硅(2安400伏)的效果令人满意。
图1、2中的耦合变压器B\(_{1}\),其初次级匝数见图1。由于B1除作升压用外还用作隔离220V交流电压用。因此初次级绕组的绝缘性能要好。两绕组间的绝缘电阻应大于20MΩ。否则B\(_{1}\)被击穿将会损坏其他元器件。图4中的B2工作在低压状态,可选择普通晶体管收音机中的输入变压器代用。图2中的L\(_{1}\)也可使用晶体管收音机输入变压器的初级代替。图4中的压电陶瓷片选用国产HTD—27A-1型,将其正面紧贴在机壳面板的小窗口内壁,用胶水固定。
与控制器配用的彩灯,可选用市售的圆柱形灯泡,工作电压为12~15V,工作电流约75mA,交直流均可供电,外形参考图6。彩灯的“花瓣”可参考图8,灯座参考图7。各灯的“花瓣”应搭配成各种颜色。这种彩灯必须是串联使用。市售的彩灯串通常是18个为一串。若要增加彩灯的数量可采用并、串的方法,如图9所示。灯座内有两个电极焊片,分别焊在两根电源线上。灯泡的两根电极线穿过灯瓣底部的两个小直孔之后,各自向外弯折,裸露在瓣底部的外面。然后再将装好灯泡的灯瓣插入灯座内,使灯泡的两个电极裸露部分与灯座中的两焊片接触,应该使每个彩灯的焊接与装配都确保良好的接触,否将则会造成整串彩灯不亮。



图4中的BG\(_{1}\)~BG3可选用V\(_{ceo}\)≥15V, β>50的3DG型管子,电阻均采用1/8W的。
由于控制器的印制板上都带有220V高压,故应选用环氧树脂基覆铜板制作。控制灵敏度的电位器选用WH5—1A型,安装在前面板上。本控制器的外壳是注塑的,其外形见图10, 后盖上安装了供插入彩灯串的二芯插座(三分频式有三个二芯插座)。此外,还备有与信号源输出端引线相连接的输入接线柱。

使用与实例
本机的制作若元件质量保证且焊接无误,一般可不必调整便可正常工作。使用时应先把彩灯串直接插入220V市电,观察一下是否能正常发亮,先排除彩灯可能出现的故障。若彩灯正常应该全部亮。然后将彩灯插入本机的二芯插座内,把收音机的输出端接入本机的输入接线柱。声控式的控制器则靠近音响设备的喇叭即可。接上控制器电源,然后打开收音机,调谐一个音乐节奏感强烈的节目,适当调节本机的控制电位器W\(_{1}\)。这时就可观赏到彩灯随着音乐的节奏而闪闪发亮。
下面介绍三分频式控制器在某些特殊场合的彩色音乐实例。
1.七彩屏幕:舞会上当演奏强烈的迪斯科音乐时,可将控制器的三路输出接上以红、绿、蓝为三基色的射灯,并将三路光源同时射向一块大屏幕上。这样随着强烈的迪斯科舞曲,屏幕上便会出现快速变幻的五彩缤纷的彩光,使整个舞厅变得更富有活力与动感。用同样的方法处理,也可以设计出七彩音乐喷泉,只不过各路射灯照在泉柱上而已。
2.人造夜幕:舞会上当演奏慢步舞曲时,可利用彩灯控制器及彩灯串设置一个“人造夜晚”的意境。方法是将三路彩灯串任意地无规则地放置在一块大茶色玻璃(当作“夜幕”用)的背后,或者也可将彩灯串钳镶在大块墨色绒幕上。这样当慢步舞曲旋律起奏时,“夜幕”就会出现许多不规则的光点在闪烁,犹如晴空繁星点点,出现恬静、优美的夜晚意境。
最后应该提及的是市售彩灯串有时会串接一个“起辉器”(俗称跳泡),其外形尺寸与普通的彩色灯泡一样,但内部结构不同。使用这种彩灯串与本控制器配合应事前将跳泡摘掉或将其短路。(严闻)