本文介绍一个超小型心率监测器,因为电路非常简单,所以在业余条件下也可以制作。这种心率监测器不是作为精确的心率记数用,而是作为自我监督心率变化用。
我们知道,人的心率的快慢是情绪状态、运动强度和心脏功能的客观指标之一,但是一般人很难时刻都准确地测出自己的心率数值。如果把本仪器带在身上,用心电电极将心电信号检出,如图1方框图所示,经放大并经过特殊处理后,仪器能在指定的心率范围内发出心电节拍信号声。使用者便能随时得知自己的心率变化情况了。

下面向读者介绍两个不同机型的监测器。Ⅰ型机适用于心率较快的情况。Ⅱ型机适用于心率较慢的情况。
Ⅰ型机的工作原理
Ⅰ型机适用的心率范围是60次/分~160次/分。通过调整电路中的有关元件,在(60~160)次/分范围内可改变发心电信号的心率范围,此心率范围的宽度设计在中心值的±20%范围内。比如若将中心值调在100次/分处,则心率信号范围为80次/分~120次/分,如果心率超出此范围的上、下限,仪器不发声;如果心率处于上述范围以内,仪器则会发出心电信号声,且该信号声的节拍与心跳的节拍相同。如果心率正好为仪器预调范围的中心值,仪器发出信号声的频率为2200Hz,此时输出音量最大;如果心率加快了,则音调随之变高且节拍加快;心率减慢,则音调随之变低且节拍减慢。心率加快或心率减慢时,仪器输出音量都减小。这样,使用者就可以根据信号声的节拍、音调和响度三方面的变化,较明显地辨别自身心率的变化了。
该仪器因为要随身携带,所以体积要尽量小,重量要尽量轻,耗电要省。我制作的这台小仪器,电压3伏,静态电流150微安。采用G13型钮扣电池,可连续使用1000小时再更换。
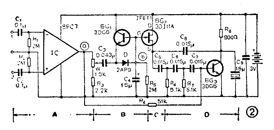
图2为Ⅰ型机电路图。为了分析方便,我们将电路分成A、B、C、D几段。A段电路由心电电极拾取的心电信号波形如图③,其中幅度最高的约1毫伏左右,变化最陡的脉冲叫R波,另外还有变化较缓慢的P波、T波等。每心跳一次就有一个R波。


心电信号从贴在人体上的电极取出,从1,3两端子送到输入回路。
输入回路由RC网络组成,因时间常数取得较小,所以可将心电信号中的R波分离出来,再经过集成运算放大器放大,在a点就能输出一个幅度恒定(宽度稍有变化)的脉冲序列。由于集成运放电路开环增益极高,R波足以使电路处于饱和削顶状态,所以在a点得到的方脉冲前、后沿都很陡,不需要再对方脉冲进行整形。
B段电路:这一部分电路的功能是利用计数率电路将输出的脉冲信号转换成直流电压,要求从输出的电压与脉冲频率(即心率)成正比,即完成频率/电压的线性转换。
开始时,C\(_{3}\)、C4上没有电荷。晶体管BG\(_{1}\)为零偏压,不导通。当第一个心电正脉冲到来时,二极管D正偏导电,三极管BG1反偏不导通,这时输入脉冲直接给C\(_{3}\)、C4充电。C\(_{4}\)充电同时还要通过R5放电,由于R\(_{5}\)C4时间常数很大,C\(_{4}\)放电很慢,所以暂不考虑它的影响。如果输入脉冲有一定宽度,即可保证C3、C\(_{4}\)充满电荷。如果忽略二极管D的压降,根据电容分压可得,UC3=\(\frac{C}{_{4}}\)C3+C\(_{4}\)Um,U\(_{C4}\)=C3;C\(_{3}\)+C4U\(_{m}\),Um为输入脉冲的幅度,设U\(_{m}\)=1.5V,C3=0.43μF,C\(_{4}\)=1.5μF,则UC3=\(\frac{1.5}{1.5+0.43}\)×1.5=1.2(V),U\(_{C4}\)=0.33;1.5+0.43×1.5=0.3(V)。
当第一个正脉冲过去后,二极管D反偏不导通,三极管BG\(_{1}\)正偏导通,BG1对C\(_{3}\)反向充电,直到C3、C\(_{4}\)上的电压相等(方向相反),BG1才截止。因此这时从输入端向右看进去, C\(_{3}\)、C4串联电压为零,也就是说串联电容上没有剩余电荷。所以当第二个脉冲再一次输入时,起始条件与前一个脉冲完全一样,由此可知第二个脉冲过去后在C\(_{4}\)上又充上0.3V电压,于是C4上的电压为U\(_{c4}\)=2×C3C\(_{3}\)+C4U\(_{m}\)=0.6V。如此继续下去,C4上电压就会积累起来,如果输入几个脉冲,则U\(_{c4}\)=n×C3;C\(_{3}\)+C4U\(_{m}\)。
但是C\(_{4}\)上的电压不能无限制地增加,在C4充电的同时还要通过R\(_{5}\)放电。将C4每秒钟得到的电荷量与放掉的电荷量相等,达到动平衡,C\(_{4}\)上的电压不再升高。所以决定C4上电压高低的不是脉冲的数量,而是脉冲的频率,即C\(_{4}\)上的电压对应每秒的脉冲数,UC4=U\(_{m}\)·R5·C\(_{3}\)·f。从上式不难看出,电容C4上的电压与输入脉冲频率成正比。
电位器W可预调发声的心率范围。它实际上是改变了计数率电路的输入脉冲幅度U\(_{m}\),使得不论心电脉冲中心值是多少,的输出电压均相同,于是末级的工作状态相同,发出的音响规律一样。
在集成运算放大器输出脉冲的同时,通过电阻R\(_{4}\)给末级BG3的基极提供一个偏置电流,于是末级音频振荡器开始产生振荡;没有心电脉冲时,BG\(_{3}\)得不到偏置电流,音频振荡器不振荡,此时末级也不消耗电能。这样就能保证音响的节拍与心跳相同并且能节约电能。
C段电路的工作原理是:输出的直流电压约为+1.2V,这一电压加在场效应管JFETI栅极。场效应管在电路中的作用相当一个压控可变电阻,随着加在栅极G上电位的不同,D、S极之间的电阻R\(_{DS}\)则随之变化。在图2电路中,JFET处于反偏状态,电源电压减去b点电压即为反偏值。由于的电压值与心电脉冲的频率成正比,因此当心率加快时使电压相应提高,于是反偏减小,RDS减小,所以使末级产生的音频振荡频率升高(具体原理见后面D段电路),即心率加快时所产生的声音音调也变高。
由于电池使用久以后,电压会逐渐降低,使得的输出电压减小,电压降低,会给测量带来误差。但由于场效应管JFET工作在反偏,当电源电压降低的同时,使得JFET反偏减小,R\(_{DS}\)减小,其作用就相当对电压进行了一定补偿,也就是说对电源电压的降低进行了一定补偿。但不能完全补偿,为了保证一定精度,当电池电压降低10%以后就应更换电池。
D段电路工作原理:这一部分为四级RC移相正弦振荡电路组成的音频振荡器,每一级RC网络移相45°。这种电路容易起振,能产生良好的正弦波,使得声音较悦耳。另一个优点是电源电压变化时对振荡频率影响很小,使电路可稳定可靠地工作。
改变移相网络的电阻,振荡频率随之改变。场效应管JFET D、S极之间的电阻R\(_{DS}\)相当于移相网络的一级电阻。RDS变化时,可控制振荡频率,R\(_{DS}\)大时振荡频率低。RDS阻值偏移5.1kΩ时振荡减弱,R\(_{DS}\)大于20kΩ、小于2kΩ时则停止产生振荡。
音响报警声是通过压电陶瓷片发出的。
Ⅱ型机的工作原理
Ⅱ型机适用于心率下限报信,即心率低于某数值时,发出声响信号,而且声响的节拍与心跳相同。下限值可根据需要由电阻R\(_{3}\)\(^{*}\)预先调整好(见图4)。电源电压3伏,静态电流120微安。

电路原理图见图4。A部分原理与Ⅰ型机相同,不再重复。
B部分实际上是一个锯齿波形成电路。电源通过JFET和R\(_{3}\)\(^{*}\)对电容C3恒流充电,当集成运放电路(IC)输出的一个脉冲到来时,BG\(_{1}\)导通,强迫C3放电,这个脉冲过去以后,BG\(_{1}\)截止,又对C3充电,以后不断重复上述过程。于是在形成一个锯齿波电压,波形见图5。如果脉冲间隔很小(即心率快),使C\(_{3}\)上的电压积累不起来,总达不到下一级的触发导通所需的电压值,于是下级控制门总打不开,末级得不到偏置电流,便不产生音频振荡,不发声;如果心率减慢,使C3上积累的电压达到下一级的触发电压(见图5),则控制门被触发翻转,末级得到偏置电流,振荡电路产生振荡。

由于电容C\(_{3}\)通过晶体管BG1放电,其放电时间常数远小于脉冲的宽度,即在远少于脉宽的时间内放电完毕,所以IC输出的脉冲宽度并不受影响。
为了防止电源电压降低时产生误差,采取了如下措施:利用场效应管的恒流特性对电容C\(_{3}\)充电,使得电源电压降低时对锯齿波的周期影响减小。另一方面,若电源电压降低,则输出的脉冲幅度减小,使BG1退出饱和区,管内电阻增加,电容C\(_{3}\)不能充分放电,使剩余电压增大,于是锯齿波电压的基线相应提高,本来电源电压下降时,基极电位要降低,但由于C3放电少,使电压的幅度仍然不变,这样对电源电压的下降就起到了补偿作用。经试验,电池电压降低到2伏时还能工作。为了保证一定测试精确度,电池电压降低20%时就应更换电池。
C部分电路的原理是:控制门为PNP—NPN复合管双稳态触发电路,两管同时截止为一个稳态,两管同时导通为另一个稳态。两个稳态的翻转由BG\(_{3}\)基极b的电位控制。管子截止后不消耗功率,很省电。当锯齿波电压幅度达到如图5所示的触发门限电压时,电路翻转,BG2、BG\(_{3}\)导通,于是为下一级提供了偏置电流,末级产生振荡,压电陶瓷片发声。当BG1被IC输出脉冲控制导通时,相当于接地,强迫双稳态电路翻转,两管同时截止,直到下一次再被锯齿波触发。
D部分电路是一个自激间歇振荡器,产生音频频率的脉冲序列,音频频率约为2000赫,这种电路的优点是效率较高。当心率较慢使图4中电位较高,促使BG\(_{2}\)、BG3进入导通饱和状态时,BG\(_{4}\)基极获得一个偏置,间歇振荡器开始工作,压电陶瓷片则发出音频信号声。心率脉冲过去后,电位下降,BG2、BG\(_{3}\)又翻转为截止状态,BG4得不到偏置则停止振荡,信号声消失。这样,只要心率脉冲频率较低,使的电位能上升到足以使BG\(_{2}\)、BG3进入导通饱和状态,压电陶瓷片就发声,心率每秒有多少次,陶瓷片也每秒响同样次数(参看图5)。显然,此时压电陶瓷片节拍发声的频率与被测试的人的心率是相同的。如果人的心率不是很低,使的电位不足以使BG\(_{2}\)、BG3导通,压电陶瓷片则不响。
制作经验
为了缩小体积,减轻重量,电路中所有的三极管及场效应管应采用芝麻管。电阻采用1/8或1/16瓦的碳膜电阻。电容器使用玻璃釉的。1.5μF电容采用珠状钽电解电容。W为小型实心电位器。电池为G13型钮扣电池。线路板使用单面敷铜板,越薄越好。Ⅰ型机的机芯可以装在一个小圆塑料盒内。Ⅱ型机机芯装在一个扁塑料盒内(注:关于机壳的尺寸及形状;读者可根据情况自行设计)。集成运算放大器选用北京东光电工厂生产的单电源、微功耗型的8FC7,指标应选A档以上的,开环增益应大于100分贝,共模抑制比大于85分贝。三极管的β值应在80~100范围内选取。场效应管JFET1的I\(_{Dss}\)=5.2mA,gm=6500,V\(_{p}\)=-2.2V。JFET2的IDss=6.8mA,g\(_{m}\)=5100,Vp=-2.6V。脉冲变压器B的磁芯采用半导体中周中用的工字型磁芯,尺寸为φ3×3.5,用φ0.03mm漆包线在磁芯上绕1000圈,然后再绕一个500匝的线圈即可。绕线圈时要注意极性,不要接反。磁芯外面套一个φ7×4×1.5的磁环。Ⅰ型机的结构及电路板见图6,Ⅱ型机的电路板见图7,可供制作者参考。


使用方法
1.使用时应避免化纤衣服直接与该仪器和电极导线接触摩擦。
2.心电电极的位置及粘贴是否牢固非常重要。电极“1”贴于心前胸壁骨左侧,电极“3”贴于左第四、五根肋骨之间(见图8),两电极之间的距离应大于10厘米。平时电极“2”可以省掉。如果受附近交流电磁场干扰很严重,则可将屏蔽电极“2”贴于“1”与“3”电极之间。

粘贴电极前,先用酒精棉将皮肤用力擦干净。在电极片上涂上导电膏。最后用橡皮膏贴牢,务必使电极片与皮肤接触良好,不能松动。
3.心电电极使用上海卢湾区红旗仪表厂生产的生物电监护电极及电极粘合片。在业余条件下可使用φ10mm镀银圆铜片作为心电电极,电极引出的连接线采用细软导线。用橡皮膏将电极粘贴固定在身上。(胡天奇)