录象机的射频输出频率多选用UHF波段,而我国现有的大量非全频道的电视机只可收VHF波段,无法收到录象机的录像节目,因此不能作录象机的监视器。作者这里介绍一个UHF频道转换电路,就能解决这个问题,具体电路如图1所示,电路简单且性能稳定,制作也较容易,有录象机而无全频道电视机的读者不妨一试。

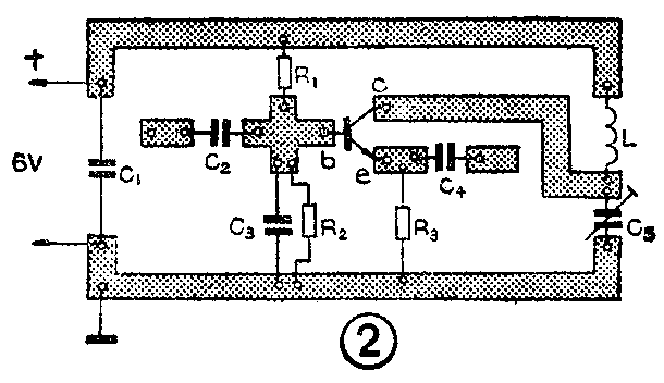
1.电路原理:晶体管BG、电感L、半可变电容器C\(_{5}\)和管子的极间电容组成电容三点振荡电路。加上电源后电路开始起振,此时BG管的发射极的振荡信号与录象机送来的UHF频段的信号在发射结混频。结果产生落在6~12频道范围内的差频信号。由于发射极输出接在电视机的天线输入插孔,这样电视机的输入高放电路就成为该电路的输出调谐回路。通过此调谐回路的选频就能够选出VHF波段的6~12频道范围内的差频信号,电视机就能正常接收而放出录象节目了。通过调节半可调电容器C5,可以在6~12频道的某一个频道收到录象机送来的信号。
2.元器件选择:晶体管工作频率较高,因此要求管子的f\(_{T}\)>800MHz,如3D71C、3DG71D或3D72A等,要求管子的β≥80。电感L=0.2~0.5μH,用0.1mm高强度漆包线在圆铅笔杆(直径约为0.7cm)上绕6圈后脱胎而成。电容器选用损耗小的瓷片或云母电容。电阻用1/8瓦或1/16瓦的金属膜或碳膜电阻。输入和输出引线要用电缆,注意阻抗匹配,一般电视机天线插孔输入阻抗为75Ω,用75Ω电缆为好。
3.安装与调试:按图2制好印刷电路板(图为1∶1),然后把选好的元器件经整形、刮腿和镀锡等处理以后,再焊到印刷板上,注意不能虚焊。焊完后经检查确实无误方可通电调试,先调R\(_{1}\)使Ue为1V左右,即管子电流约为1mA。在管子发射极和地之间接上三用表(用电压档),再用手或金属改锥去触C\(_{5}\)的定片,观察Ue是否变化,如果变化则说明已经起振。此时将输入和输出电缆分别接到录象机和电视机上,将电视机频道开关放在6~12频道的某一个频道,由自己选择,注意当地电视台已占用的电视频道就不能用来收录象,如北京地区6和8两个频道不能用。分别打开录象机和电视机的电源,录象机置于放象状态,调节电视机的微调钮和半可变电容器C\(_{5}\),就可以在电视机的屏幕上欣赏录象节目了。

电路板装好并调试完以后,再装入屏蔽盒内(由元件的大小及印制板来确定适当尺寸),把电缆引出来留有足够的长度。如果用电池作电源,需作一个电池盒或者使电池盒和屏蔽盒合成一个盒也可以,作为附件放在机外。也可以把装有电路板的屏蔽盒装在电视机内的适当位置,最好装在高频头屏蔽盒附近,并在电视机的外壳适当位置装一个转换开关、标出“放象”和“电视”两档。当用录象机放象时,将开关拨到“放象”一档,在收看电视节目时,将开关拨到“电视”一档。这就不需要外接电源,由电视机+12伏电源输出端引出,经过一只阻值为3K(1/2W)的降压电阻,就可得到6伏电压。该电路消耗电流小于2mA,因此对电视机的电路工作无任何影响。(赵洪普)