本刊八四年十二期上介绍了三色变色发光二极管。这种管子是将两个管芯封装在一起组成一个管子。其中两个管芯的正极分别引出,两个负极连在一起,如图1所示。当发红光的管芯上加上正向电压时,此变色发光管就发红光;当发绿光的管芯上加上正向电压时,此变色发光管就发绿光,当两个管芯上同时均加正向电压时,此变色管就发橙光。我们称上述的三色变色发光管为正向电压控制的发光器件。下面我们向读者介绍另一种由正、负电压控制的双向变色发光管,型号有2EF303,2EF313两种。
构造与特性

双向变色发光二极管内部构造是由不同材料的两个管芯反向并联构成,如图2所示。当加正向电压时,发红光管芯正向导通,此发光管发出红光,这时发绿光管芯因处于反向截止而不发光;当加反向电压时,正好与上述过程相反而只发绿光。如果正、反电压变化较快,则双向变色发光管呈现橙色。


2EF303、2EF313的外形及尺寸分别见图3、图4,它们都用无色散射材料封装。这两种双向变色发光管在电路中用图2所示符号表示,它们的特性参数见附表。
附表(环境温度25℃)
型号 参数名称 发光强度 正向电压 反向电流 发光 光谱 最大
峰值波长 半宽长 工作电流
参数符号 I\(_{V}\) UF I\(_{R}\) λP Δλ Iopm
单位 mcd V A。 A。 mA
测试条件 I\(_{F}\)=10mA IF=10mA U\(_{R}\)=4V
2EF303,2EF313 C\(_{a}\)P 1~5 2~2.5 50 6950 300 40
绿光管芯
C\(_{a}\)A1AS 0.5~3 2~2.5 50 5600 300 40
红光管芯
应用线路

图5是双向发光管基本工作原理电路。其中R是限流电阻,U\(_{1}\)、U2是大于2伏的电源,而R按下式计算:R=U-\(\frac{1}{_{F}}\)IF,U为外加驱动电压,U\(_{F}\)为工作时的正向压降,IF为正向工作电流。
2EF303、2EF313发光管没有特定的正负极,就是说,可把发红光管芯的正极作为此管的正极,也可把发绿光管芯的正极作为此管的正极,可按需要来标志此管的正、负极。

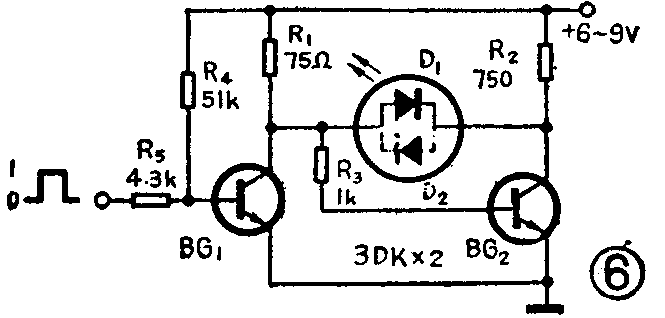
图6是双向变色发光二极管的简单应用线路。当正脉冲到来时,BG\(_{1}\)导通,BG2截止,则电流通过R\(_{2}\)、D2、BG\(_{1}\)后到接地点,D2发绿光;当“O”或负脉冲到来时, BG\(_{1}\)截止,BG2导通,则电流通过R\(_{1}\)、D1、BG\(_{2}\)后到接地点,D1发红光。
双向变色发光管已得到广泛的应用。例如铁路火车站调度室火车运行状态指示,火车自停指示灯,电话指示灯,总之用它代替目前的白炽指示灯,可节省电能,而且装置方便,寿命长。(段金义)
