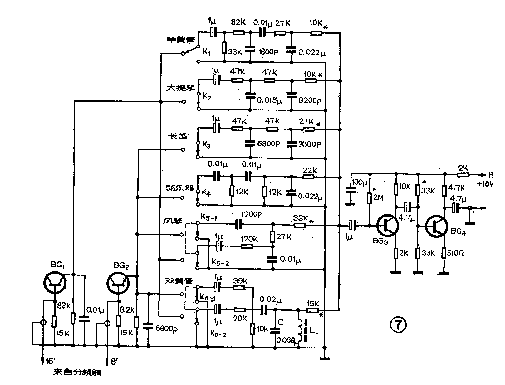
(宁金铭)三、音色滤波器:本文所介绍的复音电子琴,其音色电路采用简单的无源滤波器,具体电路见图7。音色滤波器的主要功能是:由音阶分频器输出的8'、16'音色信号,经过电子琴键盘电路控制后,成为一些具有丰富谐波成分的无音色特征的乐音信号。如果要想获得不同乐器的音响信号波形,则还必须将上述无音色特征的乐音信号送到音色滤波器中去进行处理。

图7中所画出的一些滤波器电路,通过一些转换开关控制后,能使复音电子琴形象地模拟出六种乐器的音色,这六种乐器是:单簧管、大提琴、长笛、弦乐器、风琴、双簧管,并能获得这几种音色的合成音色。从图7可以看出,来自分频器输出端的8'、16'两个八度音阶信号,分别经过由BG\(_{2}\)、BG1的be结组成的钳位电路,把输入信号中低于0.7V的杂音信号滤除,使噪音信号不能通过BG\(_{1}\)、BG2的be结,并且在不按琴键时能降低信号中的背景噪音。经过这样处理后,可得到两个纯净的八度音阶信号,再分别送往后面的各个音色模拟电路中去。
音色模拟电路是通过一些高通、低通、带通滤波器来实现的。例如,对模拟单簧管的电路来说,它是一个低通滤波器,加在输入端的是一个16'谐波信号。由于低通滤波器能使高次谐波的幅度大为衰减,所以会减少许多不悦耳的频率成分,使声音变得浑厚、端庄、含蓄、谐和纯美。一般说来,在键盘的中音区模拟单簧管音色较逼真。对于弦乐器电路来说,它输入的是一个8'谐波信号,滤波电路是一个RC高通滤波器,它适合表现明亮、高亢、色彩鲜明的小提琴等弦乐音色。对于双簧管模拟电路来说,为了弥补输入信号中偶次谐波的不足,在输入端送进了8'、16″两组音阶信号,这样使双簧管的音色更有特色,其滤波电路采用了LC滤波网络,值得注意的是,电感L与电容C的数值对双簧管的音色影响很大,L值过大时,声音发暗、发哑;L值过小,音色则太尖刺。电感元件选用磁罐,线圈采用乱绕法,电感值在330mH~500mH范围内选定。
采用上述音色滤波器来模拟某些常规乐器的效果,只能在某一频段上来模拟,很难在整个音域都模拟得很理想。另外,如果把前面提到的几种音色按比例进行合成,还可以得到多种乐器的音色。例如,当把大提琴、长笛、弦乐器的琴键同时按下时,可模拟出钢琴的音色。以上几种模拟音色电路,由于信号经过滤波器后有很大衰减,因此在滤波器的后面又加了两级前置放大器,以提高音量。前置放大器电路中带“*”号的电阻的数值,可以根据不同音色电路的需要适当调整一下。图7电路中所用的晶体管的型号都是3DG型的,其中BG\(_{3}\)、BG4的β值应大于100,反压大于20V。音色选择开关采用六位四刀双掷直键琴键开关。图8为音色滤波器的印刷电路板。

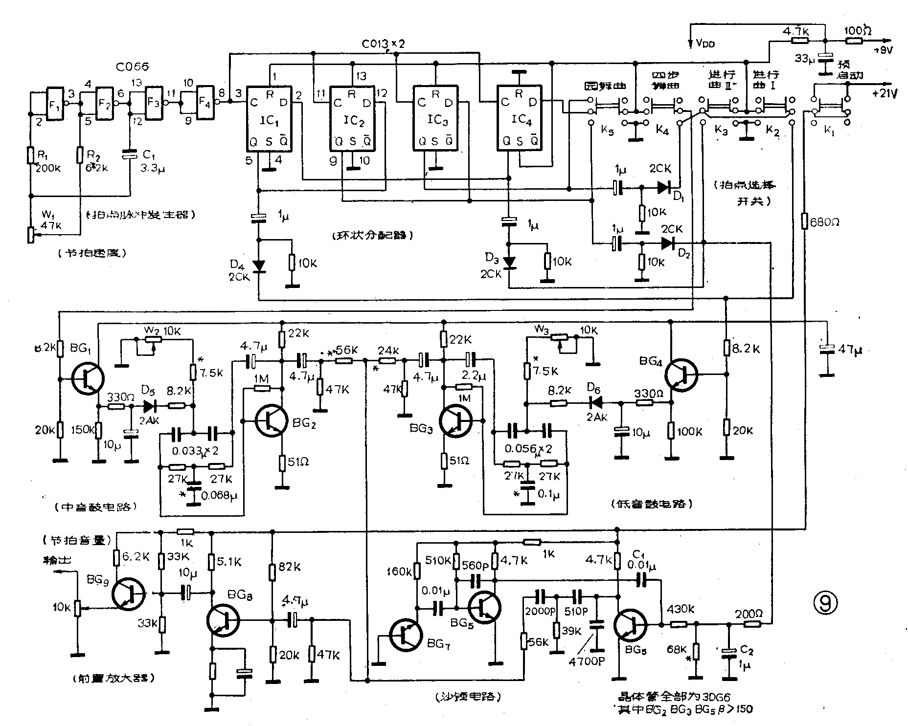
四、自动打击乐伴奏电路:该电子琴所采用的自动节奏器电路,是一个用环状计数器作时序脉冲源的电路。具体电路见图9。有关环状计数器的工作原理,请参考本刊1982年第3期《业余自制电子琴》一文。图9中画有三种打击乐电路:低音鼓、中音鼓及沙锤模拟电路,可以打出进行曲Ⅰ、进行曲Ⅱ、四步舞曲、园舞曲四种节奏的乐曲。图9中左上方是拍点脉冲发生器,它由CMOS二输入端四与非门CO66电路中的F\(_{1}\)、F2组成,拍点的速率取决于电路上R\(_{2}\)+W1值的大小,拍点速率的范围取决于C\(_{1}\)容量的大小。为了可靠地触发环状分配器,由F2输出的信号又经过两个串联起来的非门(F\(_{3}\)、F4)对信号进行整形,使拍点脉冲的前沿变得更徒。图9中由IC\(_{1}\)~IC4组成了环状分配器,它是由两块CMOS双D触发器组成的。K\(_{1}\)~K5组成拍点选择开关,由五位双刀双掷直键开关组成。为了使拍点清晰、分明,每个触发器的Q端都经过一个微分电路,将矩形的时序脉冲变为尖脉冲,这样就可以对各打击乐的音色模拟电路实行瞬间“敲击”,二极管D\(_{1}\)~D4可以消除微分后负的尖脉冲所产生的冲击噪声。图9中由BG\(_{1}\)~BG7及一些阻容元件构成三种打击乐的音响模拟电路,其中中音鼓和低音鼓电路从形式上完全相同,都是采用单管双T型RC振荡电路,只是在振荡元件参数的选取上有所区别,以达到不同的声响要求。W\(_{2}\)、W3是半可调电位器,用来调整鼓音的频率和鼓音的余音长短。担任振荡的两只管子BG\(_{2}\)和BG3的β值应大于100。关于鼓电路的工作原理,请参阅本刊1982年第3期中的《业余自制电子琴》一文。图中由BG\(_{5}\)、BG6、BG\(_{7}\)等元器件构成沙锤电路,其中BG7是噪音源电路。通常的噪音源电路都采用稳压二极管,利用稳压二极管在反向击穿区形成的无规律的雪崩过程来产生噪音。适当选择击穿电流的大小,可得到最强的噪音效果。本文所谈及的电子琴中,为了降低费用,我们采用硅三极管的eb结代替稳压二极管,实践证明也能获得同样的噪音效果。BG\(_{6}\)为噪音放大管。BG5为激励开关管,当节奏程序脉冲没有到来之前,BG\(_{5}\)是截止的,此时噪音信号虽已通过电容C1耦合到BG\(_{5}\)的基极上,但由于BG5是截止的,所以噪音信号还是不能从BG\(_{5}\)集电极输出。当节奏脉冲到来时,BG5才突然导通一下,这时电容器C\(_{2}\)上已充上的电荷迅速泄放掉,同时使得噪音信号以突起渐落的形式从BG5集电极输出,经由R、C等元件组成的高通滤波器后输送到前置放大器的输入端。沙锤是一种高频噪声打击乐器,它发出的声响能量主要集中在3~20KHz范围内。它的声响细碎,无固定音高,纯系噪声,但是如果没有高频特性良好的音响重放设备和放大电路,是很难真实地重视沙锤的音响效果的。图9中所用的晶体管均为3DG6,β值应大于50,耐压应大于20伏。二极管D\(_{1}\)~D4选用2CK或2CP型的,D\(_{5}\)、D6为2AK型的。图10为印刷电路板图。


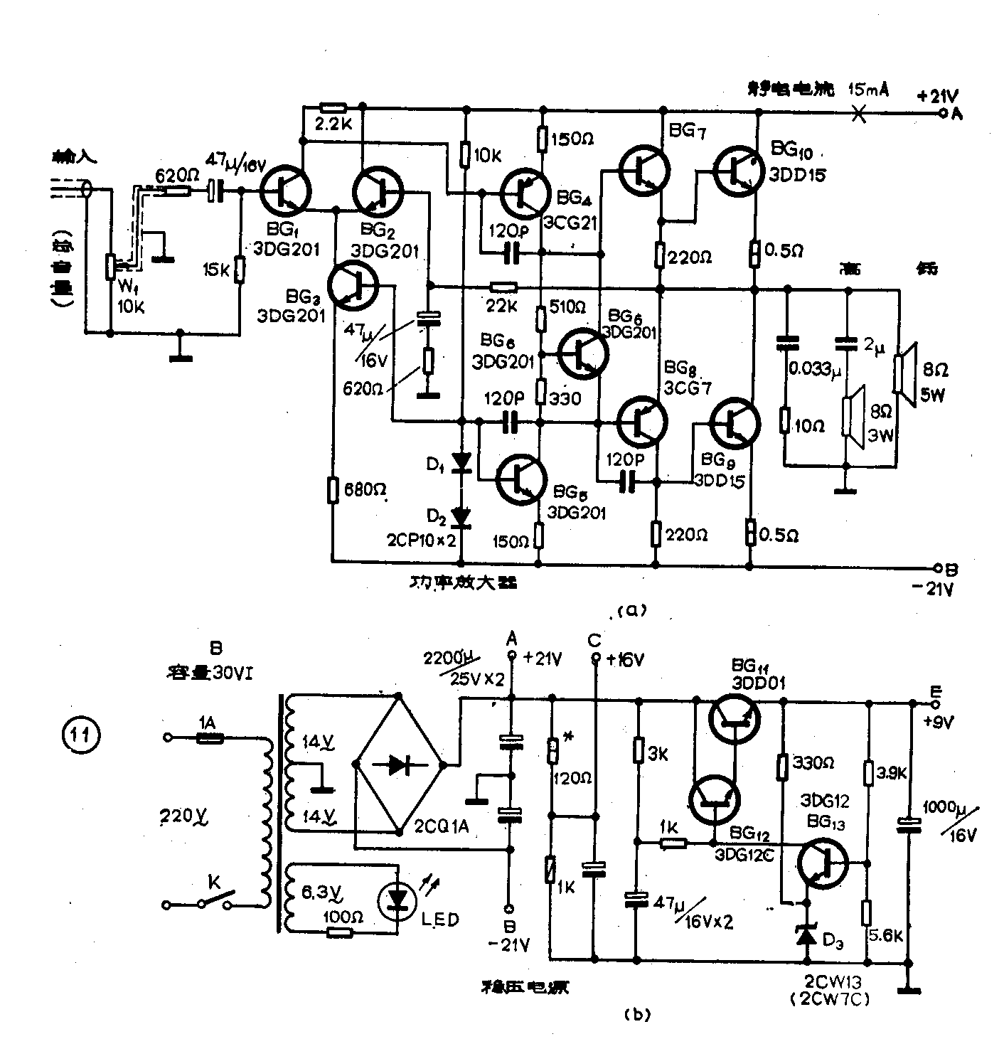
五、稳压电源及放大器电路:图11是本琴所采用的功率放大器和电源电路。功率放大器采用目前广为流行的OCL电路,它具有良好的频率特性。该电路最大输出功率可达10瓦以上。图中的电源电路也是一般稳压电路,性能稳定可靠。因为该复音电子琴的音源采用RC基准音阶发生器电路,振荡频率随着电源电压的变化会出现较大误差,因此必须采用较好的稳压系统。如果读者有现成的扩音机及稳压电源,只要符合本文要求都可以使用。有关复音电子琴琴键的制作及整机组装经验下期再讲。
