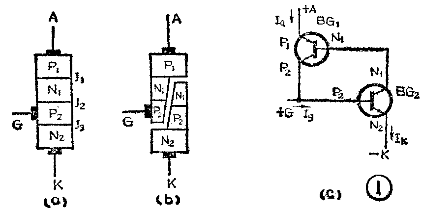
为了说明可控硅的导通原理,许多书中都是把可控硅看成是两个晶体三极管的组合来加以论述的,见图1。图1(c)中,BG\(_{1}\)为PNP型三极管,BG2为NPN型三极管,两个管的基极分别与对方的集电极连在一起。BG\(_{1}\)的发射极相当于可控硅的阳极A,BG2的发射极相当于可控硅的阴极K,BG\(_{1}\)的集电极与BG2的基极连在一起相当于可控硅的控制极G。可控硅的典型特点是:(1)当在阳极A与阴极K之间加有正向电压,控制极G不加正向电压时,可控硅不导通;(2)只有在阳极A与阴极K之间加上正向电压,在控制极G与阴极K之间也加一定的电压时,可控硅才导通。而且可控硅一旦导通之后,即使将控制极上的电压去掉,其导通状态不变。由于可控硅的导通原理在许多书中均有详述,故在此不再重复。

根据可控硅的导通原理及其特点,如果能用两个真实的晶体三极管搭成一个具有可控硅导通特点的电路,那么不论是在教学中演示可控硅的导通原理,还是在实际电路中应用都将很有意义。本着这种想法,我进行了多次试验,最后终于得到了一个满意的电路。现将试验过程简述如下:
模拟电路的产生
起初是将一个3AX81和一个3DG12三极管按照图1(c)的形式连接起来,又在3DG12的发射极串接一个 6.3V/0.1A的指示灯ZD作为电路的负载,见图2。图中电源电压为6V, K为电源开关, N为触发按钮,W用以调整触发电压的高低。但在试验时,每当接通电源开关K的瞬间,不等按下触发按钮N,指示灯ZD就已经亮了,电路出现了失控现象。此时用万用表测量BG\(_{1}\)和BG2的管压降,分别为0.1V和0.25V左右,测量ZD两端的电压为 5.6V左右,从而知道BG\(_{1}\)和BG2已经处于饱和导通状态。为什么在不加控制电压的情况下BG\(_{1}\)和BG2会饱和导通呢?主要原因就是因为普通的晶体三极管接在电路中后,都程度不同地存在穿透电流。例如3AX81B型三极管在U\(_{ce}\)=6V时,其穿透电流Iceo≤700μA(见晶体管手册)。所以,对照图2电路分析即可知道:当接通电源开关K时,BG\(_{1}\)的穿透电流Iceo便加到了BG\(_{2}\)的基极,这个电流也就是BG2的基极电流I\(_{b2}\),经过BG2放大,在BG\(_{2}\)的集电极出现了Ic2=βI\(_{b2}\),而Ic2又恰恰是BG\(_{1}\)的基极电流Ib1,这个电流再经过BG\(_{1}\)的放大,便得到了BG1的集电极电流I\(_{c1}\)=β1I\(_{b1}\)=β1β\(_{2}\)Ib2,然后这个电流又加到BG\(_{2}\)的基极……。如此循环下去,形成了强烈的正反馈,使BG1和BG\(_{2}\)很快达到饱和导通状态。于是,指示灯亮了起来。

由以上分析可以看出,要想避免电路失控,关键在于设法克服晶体管穿透电流对电路的影响,确保在不加触发电压的情况下,BG\(_{2}\)处于可靠的截止状态。为了解决这一问题,可把图2电路作如下改动,见图3。

一方面把ZD由原来的与BG\(_{2}\)发射极串联改为与BG2并联,这样可以利用指示灯的灯丝电阻在冷态时很小这一特点,将BG\(_{2}\)的基极电位箝制在最低限度。另一方面为了防止BG1和BG\(_{2}\)在饱和导通时,电流过大而烧毁,在BG1和BG\(_{2}\)的基极电路中各增加一个限流保护电阻。电路改接之后,果然效果很好。
电路的工作原理
当接通电源开关K时,虽然BG\(_{1}\)还会有穿透电流Iceo产生,但由于此时ZD的灯丝处于冷态,其电阻值为10Ω左右。此电阻与BG\(_{1}\)的内阻相串联起着串联分压作用,分压结果在ZD两端的电压仅为700μA×10Ω=0.007V(设BG1的穿透电流Iceo=700μA)。这样一个低的电压通过R\(_{2}\)(4.7K)加到BG2的基极,远远不能使BG\(_{2}\)的发射结导通。因此BG2截止,BG\(_{1}\)也就截止。又因流过指示灯的电流只有700μA左右,所以指示灯不亮。
当电源开关接通时,再按下触发按钮N,这时正6伏的电源便通过电位器W加到指示灯上,使指示灯两端的电压迅速提高到3V以上(设灯丝热阻为600Ω,W为500Ω,则U\(_{ZD}\)=6V·600/(600+500)≈3.3V。于是这个电压便通过R2的基极,使BG\(_{2}\)产生基极电流Ib2,经过BG\(_{2}\)放大又在BG2的集电极产生I\(_{c2}\)=βIDZ,又因为I\(_{c2}\)就是BG1的基极电流I\(_{b1}\),所以经BG1放大后又得到I\(_{c1}\)=β1I\(_{b1}\)-β1β\(_{2}\)Ib2,然后I\(_{c1}\)又反馈到BG2的基极……。如此循环下去很快就使BG\(_{1}\)和BG2达到饱和导通状态。此时ZD的端电压进一步上升至6V左右,使指示灯达到全亮。
当放开触发按钮N以后,由于BG\(_{1}\)和BG2的饱和状态完全是依靠电路本身的正反馈来维持,所以指示灯仍然全亮。从而使电路模拟出可控硅所特有的“一触即发”和“一经触发,控制极便失去控制作用”的自锁特点。
模拟电路的应用举例
本电路除了可以在教学中演示可控硅的导通原理外,还可以作为一种具有自锁功能的晶体管开关电路应用于实际工作中,现举两例加以说明。
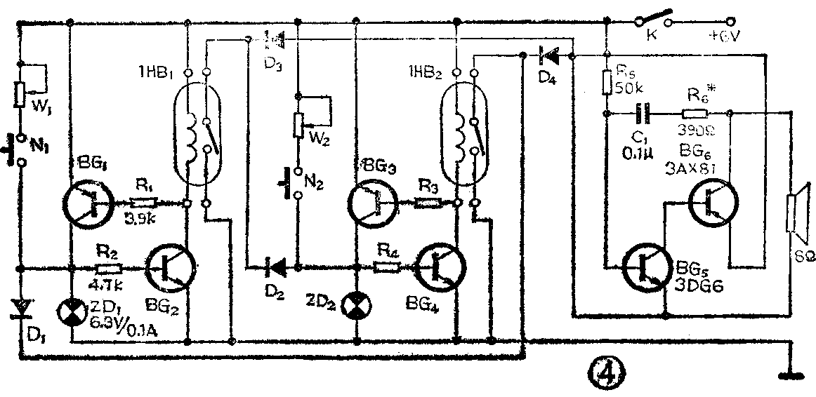
1.简易抢答电路。图4是一个简易的二人抢答电路。前面两级为具有自锁功能的可控硅模拟电路,电路中还增加了两个干簧继电器分别作为BG\(_{2}\)和BG4的负载。后一级是由BG\(_{5}\)、BG6组成的音频振荡器。

电源开关K由裁判员控制,当裁判员出题完毕,接通电源开关K后抢答即可开始。假定第一个人最先按下触发按钮N\(_{1}\),则指示灯ZD1亮,电路自锁。同时干簧继电器1HB\(_{1}\)工作,使其常开触点闭合。此时,一方面接通了音频振荡电路,使扬声器发出音响信号,另一方面使二极管D2的负极接地。在这种情况下,假如第二个人按下触发按钮N\(_{2}\),则因D2导通而将ZD\(_{2}\)两端的电压箝制在0.5V左右,故ZD2灯不亮。
当裁判员发现ZD\(_{1}\)已亮并听到扬声器的发音后,即可切断电源开关,此时ZD1熄灭,扬声器停止发音,为下一次抢答做好准备。在下一次抢答对,如果是第二个人最先按下触发按钮N\(_{2}\),则ZD2亮,喇叭发出音响。而第一个人再按下N\(_{1}\)时则对电路不起作用,其道理与上述相同。
此电路可根据实际需要扩展为三人或四人以上的抢答电路。其特点是电路简单,需要的元器件少,花钱不多,组装起来几乎不需调试就能正常工作。
电路中的元器件使用业余品即可,其中BG\(_{1}\)和BG3的型号为3AX81B,β值要大于50且尽量一致;BG\(_{2}\)和BG4的型号为3DG12B,β值也要大于50且也应尽量一致。于簧继电器为1HB型,工作电压为6V,工作电流为12毫安,线圈电阻为500Ω左右。电位器W\(_{1}\)和W2的阻值为500Ω(电路中调到300Ω左右)。二极管D\(_{1}\)~D4均为2AP9型,且选其导通压降小的管子。其他元件的参数均如图4所列。
电路装成之后如需调整,可分别调试自锁电路和音频振荡电路。由于电路比较简单,有关调试方法不在赘述了。
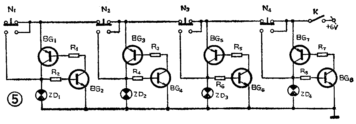
2.程序控制电路。图5所示为一可以顺序接通或顺序切断的程序控制电路。其工作原理是:当接通电源开关K以后,电源便通过K加到各个控制按钮。此时不论先按哪个按钮,与之对应的指示灯都会亮,但是要想使指示灯按一定的顺序先后点亮,就必须按着N\(_{4}\)、N3、N\(_{2}\)和N1的顺序按下按钮,才能使指示灯ZD\(_{4}\)、ZD3、ZD\(_{2}\)、ZD1依次点亮。比如先按下N\(_{4}\)按钮,由于BG7和BG\(_{8}\)饱和并自锁,所以指示灯ZD4点亮。放开N\(_{4}\)后,按钮在自身回位弹簧的作用下复位,为下一步点亮ZD3作好了通电准备。然后按下N\(_{3}\),则ZD3灯点亮,……这样就可使指示灯按照一定的顺序依次点亮了。

在此基础上要想使四个指示灯依次顺序熄灭,则不能先按下N\(_{1}\)按钮,因为此时ZD1已点亮并自锁,按下N\(_{1}\)将不起任何作用。但又不能先按下N4,因为按下N\(_{4}\)以后,一下子就把ZD3、ZD\(_{2}\)和ZD1的电源都切断了,于是BG\(_{1}\)~BG6因断电而截止,使ZD\(_{3}\)、ZD2和ZD\(_{1}\)三个指示灯同时熄灭,唯独ZD4仍然亮着。要想使指示灯依次顺序熄灭,只能按着N\(_{2}\)、N3、N\(_{4}\)和K的顺序依次按下和断开,才能使ZD1、ZD\(_{2}\)、ZD3和ZD\(_{4}\)顺序熄灭。
比如按下N\(_{2}\)后,ZD1因BG\(_{1}\)和BG2断电而熄灭;然后按下N\(_{3}\),BG3和BG\(_{4}\)又退出饱和自锁使ZD2熄灭,再按下N\(_{4}\),ZD3熄灭,最后切断电源开关K,ZD\(_{4}\)也熄灭。至此使断路恢复原初始状态。
如果也象抢答电路一样在BG\(_{2}\)、BG4、BG\(_{6}\)和BG8的集电极与电源之间接上干簧继电器的话,此电路还可以对功率较大的电路实现顺序控制。(杨金耀)