问:有一台按飞跃电路自制的31厘米电视机,长期来存在以下两个问题。①高压硅堆极易吸湿发热及氧化,几次更换硅堆及高压包都不能彻底解决。②光栅上有3条由黑白点组成的肋骨条,采用调整行输出磁芯间隙、更换行输出变压器和加屏蔽等措施都不能消除它们。请贵刊帮助解答。
答:第2个问题中的黑白点肋骨条主要是由含行频脉冲包络的高频火花辐射信号干扰所致,与行频振铃干扰的关系不大,因此用调行输出磁芯间隙等方法来消除它们是不行的。高频火花辐射信号的频谱很宽,并且易与电视信号调制。在被天线接收后,经过放大和检波,就寄生在视频信号上,最后以一条或数条黑白点肋骨条的形式出现在屏幕上。这种干扰信号对每个频道几乎都有影响,它形成的主要原因是高压电路的火花或电晕放电。根据所提供“高压硅堆吸湿、氧化严重”的情况分析,高压硅堆的放电现象一定较严重。因此检修时应把硅堆、高压线连接的接触簧片等用酒精清洗干净。如有污浊或锈蚀现象,要用砂纸磨净。待酒精干后,将硅堆装回支架内。然后用蜡克、环氧树脂或石腊(都要求绝缘性好的)滴封硅堆架上凡可能进空气的部位或隙缝。这样处理后湿气就不易侵蚀硅堆,故障也就排除了,并且以后不易再复发。倘若其它部分也有放电现象,可按同样办法处理。(王德沅)
问:有一台昆仑牌B3110型黑白电视机,伴音电路中的AN355集成块第⑦、⑧脚间的双陶瓷滤波器X\(_{3}\)02损坏,使伴音发出断断续续的“喀喀”声,影响收看, 将X302对地端剪断(不接地)后,伴音恢复正常,这种做法对机器有影响吗?其原理是怎样的?
答:这种做法只要能使电视伴音恢复正常是可行的。对电视机无损害。
其原理是:因为X\(_{3}\)02是一个双峰陶瓷滤波器,它的作用就是将X301滤波后的伴音信号再进行一次滤波,进一步滤除其中的杂音。如果将X\(_{3}\)02对地断开,可视为此滤波器不起滤波作用。这时的X302作为一只电容与R\(_{3}\)03(2.2KΩ)并联,起的是电容的作用了。如果断开X302的对地端后,仍不能使伴音恢复正常,那就必须更换一只新的X\(_{3}\)02双陶瓷滤波器。(屈梅)
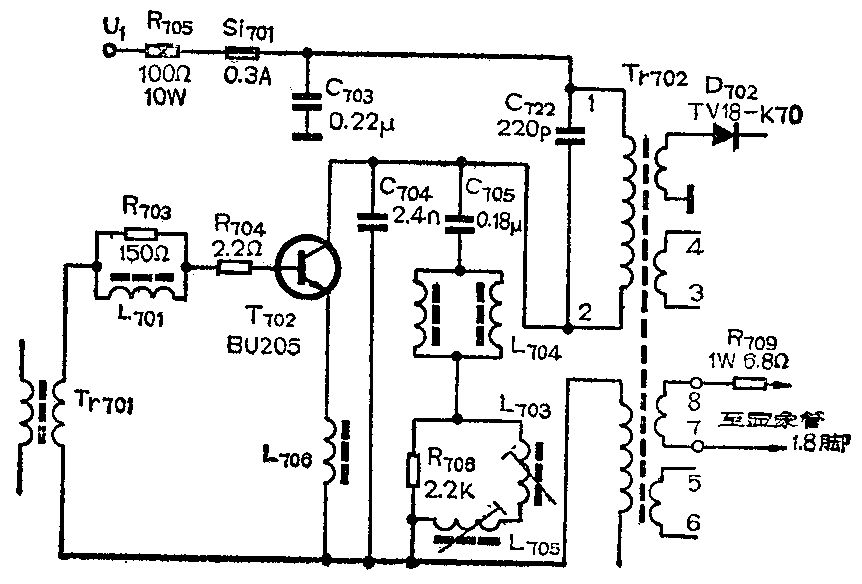
问:一台罗马尼亚244型20英寸黑白电视机,当开大亮度旋钮时,有几条水平亮带严重干扰图象,同时从机内和扬声器发出吱吱声。当把亮度调暗时,上述故障消失,但图象太暗,无法观看。经检查是显象管质量不佳造成的, 由于市场上买不到同型号的显象管,请问有何补救方法?
答:这种故障可能是显象管第二阳极内部电极有接触不良的现象。当亮度旋钮开大时,显象管的束电流将增大,如果显象管的第二阳级内部电极有接触不良故障,则会引起放电火花,当亮度旋钮调小时,则束电流相应地减小,放电火花即消失。
补救的方法:
1.适当降低高压(见附图),把行扫描供电电阻R\(_{7}\)05(10W、100Ω)换成10W、150~200Ω。但是这个电阻不宜换的太大,否则会影响行幅。

2.提高灯丝电压:把显象管的灯丝回路电阻R\(_{7}\)09(1W、6.8Ω)换成1W、1Ω或用导线将其连通。经这样改动后,显象管还能继续正常使用。(欧楚钦)
问:自装一台14英寸黑白电视机,收看方格信号时,方格边沿模糊,调节对此度旋钮,图象在垂直方向随之变化,请问这是什么原因?怎样解决?
答:若收看节目时,图象稳定,只是边沿模糊,则可能是末级视放电路中的高频补偿元件损坏。常见有以下几种情况:(1)末级视放管集电极电感开路;(2)发射极电容开路;(3)发射极电路中消隐二极管短路;(4)末级视放管工作点失常。检修时,将高频头的频段开关置无信号频道,观察屏幕上的噪声点, 如果噪声点是模糊一片,可检查显象管加速极电压和聚焦极电压是否正常,并调整聚焦电位器使之正常。如果噪声点有拖尾现象,应检查末级视放管集电极电感是否开路,发射极电容是否开路,如果调节对比度旋钮,图象上下缩动,应检查帧消隐电路元件和与对比度电位器串联的电解电容器。(谢梅林)
问:有一台北京牌842-2型电视机,刚开机时行幅很窄,过一会后就无光栅,不知是何原因?
答:出现这种故障时,可先测一下行输出管集电极上的27V直流电压是否正常,如果电压低于27V,并且提升二极管热得烫手,则说明问题出在提升二极管上,一般这种故障可能是提升二极管的反向特性变坏所致。(李脐生)
问:一台匈牙利TA5301型电视机出现有声无光故障,经查是高压硅堆D609损坏所致。但用国产20KV硅堆换上后,故障仍没消除。再细查行输出级及显象管等都没发现问题,这是什么原因?怎样检修?
答: 这大多是把硅堆的极性搞反了。因为匈牙利电视机上用的硅堆的极性标记与我国硅堆的极性标记正好相反,即他们标记的极性是指输出电压的极性,并非硅堆本身的极性。因此,如果在检修中把国产硅堆依照原硅堆的极性标记装入机内,则将使显象管高压失去,从而产生无光栅故障。只要把新换硅堆反置,故障即会马上消除。(王德沅)
问:显象管的荧光屏为什么不用平面玻璃?
答:由于显象管内被抽成高真空,而管玻壳外是一个大气压,所以在设计玻壳外形就要考虑让玻壳能安全承受管外的大气压力而不破碎。而球形承受的外压力比平板大,故玻壳的外形一般都做成球形的。早期的显象管荧光屏的四角都是呈圆形的,屏面也是外凸呈球形。近几年来,随着玻壳加工技术的提高,逐渐出现了四角接近直角,屏的弧度接近于平面的显象管。(朱家林)
问:一台晶体管收音机只能收到低端一个中央台的广播,调整双连电容器,所收到的中央台信号能有大小变化但不出现其他电台信号。这是什么原因?
答: 这种现象很可能是本地振荡器停振造成的。当双连电容器容量最大时天线回路调谐在低端,中央台频率为540KHz,通过变频级的集电极槽路和中放槽路,540KHz信号能够漏过去一部分,经过检波而出现,所以能够听到这个台的节目。随着双连电容器的调整,双连容量越来越小,天线回路的谐振频率远离540KHz,故这个台的声音逐渐变小,但是由于本地振荡器停振,不会再有其他电台信号通过变频级,故收不到其他电台节目。这种现象应仔细检查与本振级有关的元器件。首先用万用表直流电压档测量变频级发射极电阻上的压降。用手触摸双连电容的振荡联,如果指针有摆动说明本振级是振荡的,如果电表指针无摆动则说明本振停振。然后重点检查振荡线圈是否完好;垫整电容器是否完好;变频级发射极耦合电容是否完好;最后检查一下变频级静态电流是不是偏小,找到停振的原因,排除了停振故障,收音机就会正常工作了。(季正华)
问:一部三洋2429N型收录机,更换碰头之后放音效果还可以,但录音之后音量极小。虽然调整方位角和偏磁电流也无济于事。不知应如何解决?
答: 三洋M2429N收录机是直流偏磁、直流抹音的低档收录机。更换录放磁头之后,如果接磁头的两根导线位置弄颠倒,就会出现上述现象。因此更换磁头之前必须做好记号,使接磁头的导线不要弄错。如果已经接错出现了上述录音音轻的问题,只要将接录放磁头的两根线对调一下就能解决。(李传钟)
问:我有一台输出功率为15瓦、电源电压采用±24V的OCL扩音机,为了使该机在交流市电停电后也能扩声,我想将这台扩音机改装成交直流两用机,使其在市电停电后能用22.5V、15W的电池继续为该机供电,这种想法是否可行?如何改装?

答:完全可以改装。改装办法见附图,新增设的一个双刀双掷开关K\(_{1}\)作为交、直流转换开关;新增设三个接线柱A1\(_{2}\)3,分别作为正、负电源与地线接线。如图所示,在电源的正、负极电路中各串联一个1A的保险丝,可对机器起保护作用。电路中新增设两只二极管D\(_{5}\)与D6, 其耐在要大于电池电压值,电流为1A,反向漏电流越小越好(即反向电阻要足够大),正向压降也应尽量小些,一般可选用硅整流二极管。这两个二极管有如下两个作用:①较高的反向电阻可避免电池通过电源变压器短路;②在使用交流电源时,整流后的直流电源还可以通过D\(_{5}\)、D6对电池进行充电,并不影响扩音机的正常工作。(张国华)
问:本刊曾多次讲到用电子管6N1可以代替6N2使用,请问用6N2可以取代6N1吗?
管型 灯丝电流 跨导 输出阻抗 用途
6N1 0.6A 大 低 功放低放
6N2 0.3A 小 高 低放
答:附表为6N1、6N2的几项主要参数,读者只要认真看一下它们的区别,就可以知道,用6N1可以代替6N2,而如果用6N2代替6N1使用,则只限于用在低放场合。如果原机器中的 6N1是用来做功率放大用的,则6N2不能代替6N1。(张国华)