一只母鸡端卧在窝内,当你把它抱起时,它就会‘咯、咯、咯达——”“咯,咯、咯达——”地叫起来,原来是母鸡生蛋了。
母鸡生蛋的玩具,由光电开关和音频振荡器两部分组成。这里,我们重点介绍音频振荡器制作方法。音频振荡器的电源开关可以用任何一种光电开关电路中的继电器接点来控制。
工作原理
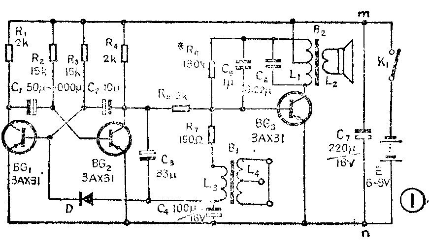
图1是电原理图。在图1中BG\(_{1}\)、BG2、C\(_{1}\)、C2、R\(_{1}\)~R4等元件组成自激多谐振荡器,它产生的振荡信号用来控制BG\(_{3}\)的工作状态。R6、C\(_{5}\)、C6、BG\(_{3}\)及L1组成一个电感三点式音频振荡器。适当选取R\(_{6}\)、C5可以使扬声器中发出频率较低的单音调的声音。

晶体管BG\(_{3}\)与R7、C\(_{4}\)及L3组成一个间歇振荡器。改变C\(_{4}\)的数值;可以改变间歇振荡器的频率。由于音频振荡信号与间歇振荡信号同时加在BG3管的发射结上,所以,扬声器中就发出了“咯、咯、咯”的声音来。这时,如果把多谐振荡器产生的振荡信号也加在BG\(_{3}\)的发射结上,使BG3的工作状态又发生变化。我们要求它能产生一个具有一定周期的两短一长的音频振荡信号,即要求从扬声器中发出“咯、咯、咯达”的声音。实践证明,经过细心调整,是可以实现的。
元件选择与调试
本装置中BG\(_{1}\)、BG2、BG\(_{3}\)均用3AX31晶体管,要求它们的Iceo小于200微安,要求β大于30。当然也可以用其它PNP型管子代替。B1选用晶体管收音机的输入变压器,初级为L\(_{3}\),次级为L4,安装时,应将L\(_{4}\)次级线圈头、尾引线焊接在印制板的同一印刷线条上,中心抽头空着不用。B2为晶体管收音机的输出变压器,其铁心截面积选得大些为好、最小不可小于3.5×5.5(平方毫米)。二极管D选用2cp型。扬声器的口径应选择大一点的,选用椭圆形喇叭更好。
全部元器件焊在图2所示的印制板上(1:1比例)。焊接无误即可进行调试。

调试时,应先断开R\(_{5}\)、R7。接通电源,调整R\(_{6}\)的阻值,使BG3管的集电极电流为5~10毫安。此时扬声器中能听到音频振荡输出的信号,然后分别改变C\(_{5}\)、C6的数值,当容量增大时,产生的音频信号频率变低。反之,当容量减小时。频率变高。接通R\(_{7}\),间歇振荡器工作,使BG3受其输出的间歇信号控制,在扬声器中得到“咯、咯”声。改变C\(_{5}\)、C6后频率合适了,再改变C\(_{4}\)的容量。C4容量加大后,间歇的周期就长些。当耳朵听到“咯、咯”声时,这部分的粗调工作就完成了。
自激多谐振荡器一般来说不需调整,只要元器件可靠,焊接无误,都能起振。如果不起振,可按下列方法调整,将万用表置于直流电压10伏档,测量BG\(_{1}\)、BG2的集电极电压,若电压很低,说明两管均处于饱和状态,电路没起振,这时可以适当地增加两管的基极电阻阻值或者换用β值小一些的管子。然后再重新测量BG\(_{1}\)管的集电极电压,如果表针只是抖动而不摆动,说明振荡的频率较高,还应加大R3的阻值,使频率降低,直到表针随着多谐振荡器的电路翻转而摆动。接着接通R\(_{5}\),多谐振荡器产生的振荡信号就会源源不断地输入到BG3的基极。
在调整过程中,当分别调整C\(_{1}\)、C2、C\(_{3}\)、C4或R\(_{5}\)、R6元件时,都能改变鸡叫的音响效果。调整R\(_{5}\)值可改变咯、咯、咯声的间隔时间。R5可直接用一个阻值5K的微调电阻,R\(_{6}\)可用一个50K的电阻串联一个100K的微调电阻,然后接在电路中。
调整时可按上述顺序反复多调几次,直至满意为止。把此装置与光电开关、电池等都装入母鸡的胸膛中。光电管放在母鸡肚子下方,平时因母鸡身体遮挡,见不到光照,只有将鸡抱起来光电管才见亮光,使光电开关接通。喇叭就发出“咯、咯、咯达——”的声音。
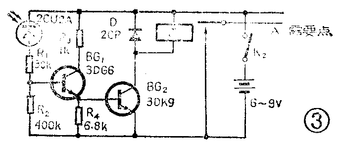
图3是典型的光电开关电原理图。图中除了光电二极管2CU2A和继电器J两个以外,都是收音机中常用的元器件。只要元件可靠、焊接无误,一般通电后都能正常工作。BG\(_{1}\)可选用3DG6,β≥50;BG2用3DK9或3DG12,β≥20即可以。继电器J可选用JRX型小型继电器,要求其内阻为300欧,吸会电流在25毫安以下,工作电压为6伏。光电二极管可选用2C-U2A管子,图5是它的外形图和符号图。光电二极管在使用时一定要反向接入电路中,即它的正极接到电源的负极上,它的负极接到电源的正极上。这样,在无光照时。它的内阻很大、电路不工作。当有光照时,它的内阻变得很小,由原来的截止变为导通状态。接着BG\(_{1}\)、BG2也处于导通状态。继电器吸合,使常开接点闭合。我们可以利用其中的一组常开接点的闭合,来实现图1中K\(_{1}\)的闭合。图4是光电开关的印刷电路板(1:1)。如上述母鸡下蛋电路需接光电开关时,可把电源及K1开关省略,然后把图1中的n点与图3光电开关的电池正极相连接;m点与图3中的A点连接。当K\(_{2}\)合上后,光电部分工作,有光照时,继电器J吸合,m点通过接点与电池负极连接,图1电路接上电源就工作。为了缩小体积,可把图2、图4印制板合并在一块印制板上。(王树森)


