无线电爱好者对各种小型继电器是比较熟悉的。它们可由小功率晶体管或集成电路直接驱动,再配置适当的阻容元件完成自动控制的任务,由继电器和晶体管构成的能够产生移动效果的彩灯环就是顺序控制电路的一个应用实例,其结构简单,工作可靠。下面就彩灯环的工作原理及其应用作一介绍。
工作原理
由若干个电珠ZD、开关K及电源E组成的简单顺序控制电路如图1所示。当闭合K\(_{1}\)时,所有的ZD1接通电源而点亮。然后断开K\(_{1}\)闭合K2。这时所有的ZD\(_{1}\)熄灭ZD2点亮。依次进行下去并再从闭合K\(_{1}\)开始循环,ZD1~ZD\(_{4}\)就会顺序点亮并向右移动。下面的问题是如何实现开关K1到K\(_{4}\)的顺序动作。

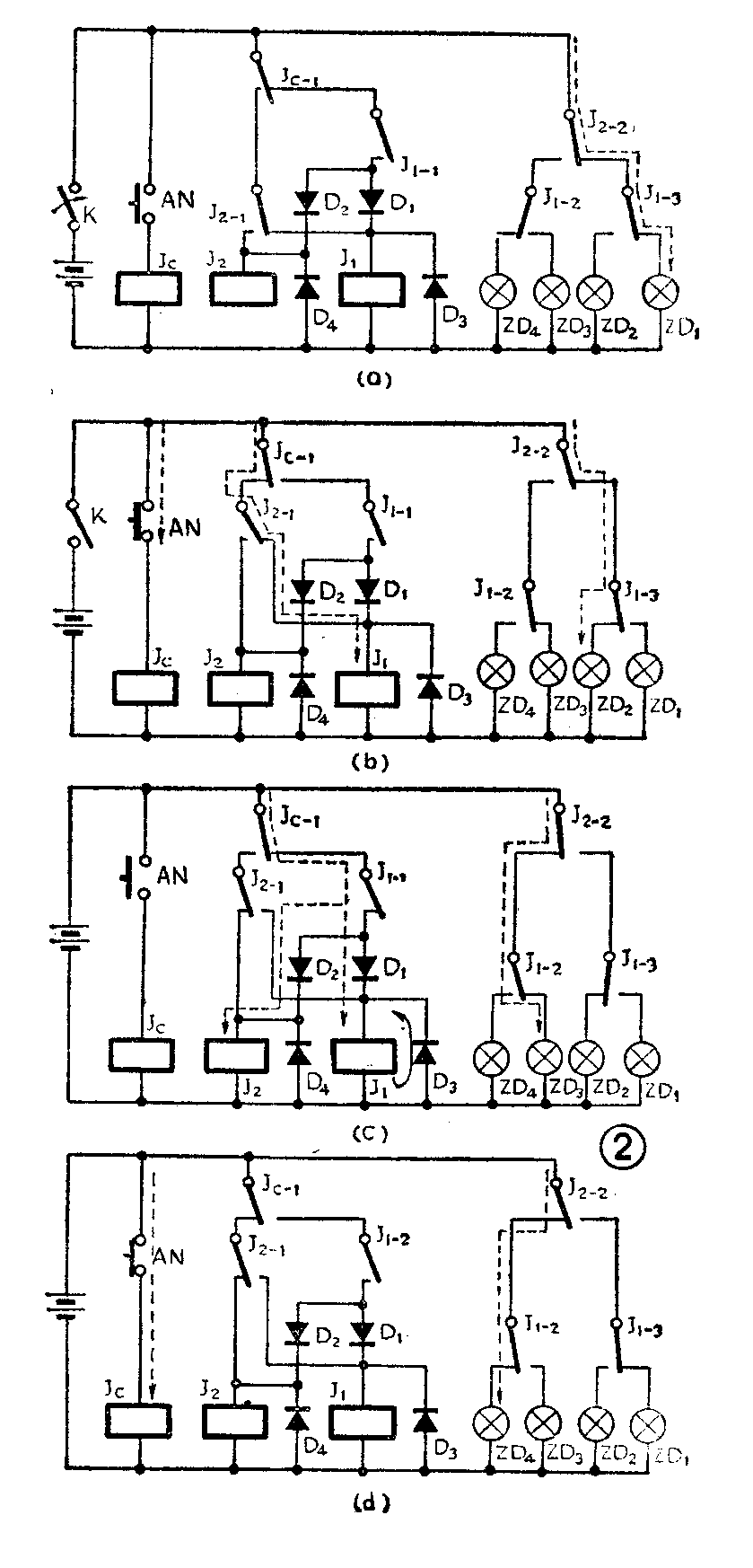
常用的实现顺序控制的方法,是用电子元器件组成相应的控制电路,依次带动几个小型继电器,再由继电器的接点去控制负载。当然控制的位数越多,相应的逻辑电路就越复杂。事实上,继电器本身也是一种逻辑元件,可以组成多控制端的稳态电路,进而实现顺序控制。但由于继电器本身受机械结构的限制,不能工作在控制频率较高的场合。图2是由小型继电器及二极管组成的顺序控制电路示意图。图中J\(_{C}\)、J1和J\(_{2}\)是三只小型继电器,J1-1、J\(_{1}\)-2和J1-3是继电器J\(_{1}\)的三副接点,其中J1-l用作常开接点、J\(_{1}\)-2和J1-3则是两副具有常开接点和常闭接点的切换接点。在继电器不通电的情况下,它的常闭接点是闭合的,通电以后,常闭接点打开,而常开接点闭合。通常把通电状态下常开接点闭合称为继电器“动作”,断电情况下称作“返回”。图中J\(_{2}\)-l和J2-2是继电器J\(_{2}\)的两副切换接点。图2电路由三部分组成。中间部分是由继电器J1、J\(_{2}\)以及它们的接点J1-l、J\(_{2}\)-1和二极管D1~D\(_{4}\)、再加上JC-1构成的继电器双稳态电路,图中左边的J\(_{C}\)是主控制继电器,并以它的接点JC-1控制双稳态电路。图中右边是由继电器J\(_{1}\)和J2的另外接点J\(_{1}\)-2、Jl-3及J\(_{2}\)-2组成的四位顺序控制电路,可以依次接通电珠ZD1~ZD\(_{4}\),使之顺序闪亮。为说明其工作原理,分以下四步讨论电路的工作过程。

1.在图2(a)中,闭合电源开关K,在不按按钮AN的情况下,由于主控继电器J\(_{C}\)没有接通电源,接点JC-1不动作,故双稳态电路中的J\(_{1}\)和J2也不能通电动作,而只有控制电路中的ZD\(_{1}\)因J2-2和J\(_{1-3}\)接通电源而点亮。ZD1点亮时的电通路用虚线表示。
2.在图2(b)中,将开关K闭合并按下AN,J\(_{C}\)被接通电源而动作,使得双稳态电路中的常开接点JC-1闭合,再通过常闭接点J\(_{2}\)-1使J1通电动作。这时在控制电路中,因J\(_{1}\)的通电J1的常开接点都同时闭合。由于J\(_{1}\)-3的切换,既熄灭了ZD1又点亮了ZD\(_{2}\)。
3.在图2(c)中,放开按钮AN、J\(_{C}\)立即返回,JC-1也恢复到接通常闭接点状态。由于J\(_{1}\)-1已经闭合,所以继电器J1通过D\(_{1}\)、J1-1和J\(_{C}\)-1继续保持动作状态。继电器J2则通过D\(_{2}\)、J1-1和J\(_{C}\)-l而通电动作,使J2的两副接点闭合于常开接点。在控制电路中,此时的切换使得ZD\(_{2}\)熄灭,ZD3点亮。
大家可能注意到,在从第二步到第三步过程中,由于J\(_{C}\)-1的切换,其动接点在两边静接点间总有一个悬空的瞬间,这就造成了J1的瞬时失电。但J\(_{1}\)并役有因此而返回,仍保持着J1-1的闭合状态,这是由于二极管D\(_{3}\)的续流作用的结果。大家知道,继电器的线圈是电感性的,而电感中的电流是不能实变的,有一个维持原电流方向的趋势。在J1失电的那一瞬间,J\(_{1}\)线圈中原有的电流通过D3得以维持。如图中J\(_{1}\)与D3间的实线环路所示,虽然这一维持电流是衰减的,但在衰减到使继电器返回的电流值之前J\(_{C}\)-1的切换动作已经完成,立刻接通了正电源,使J1的动作状态得以保持。同样,二极管D\(_{4}\)也起着对J2的续流作用。
4.在图4(d)中,再按下AN,J\(_{C}\)又动作,这时JC-1常开接点闭合,常闭接点断开,使J\(_{1}\)的电通路被切断。而J2却换了一条通路,经J\(_{C}\)-l、J2-l继续保持其动作状态。在控制电路中,随着J\(_{1}\)的返回,J1-2和J\(_{1}\)-3也回到常闭接点,J1-2的切换使ZD\(_{3}\)熄灭,ZD4点亮。这样本电路完成了一个工作周期,ZD\(_{l}\)~ZD4顺序闪亮了一次。再放开AN后,J\(_{2}\)返回,电路恢复到原始状态,准备了一次的循环。

彩灯电路的应用
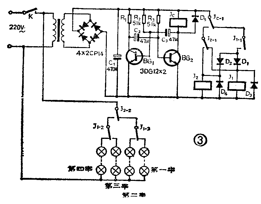
图3是按上述原理组成的实际应用的顺序闪动彩灯电路。主控制继电器J\(_{C}\)由一个多谐自激振荡器带动、不断地在动作、返回,使JC-l能够控制双稳态电路。调整R\(_{2}\)、R3或更换C\(_{2}\)、C3可改变振荡器的频率,从而可以控制彩灯移动的速度。小型继电器可选用任何型号的,只要有三副以上的切换接点即可。若手头上的继电器只有两副接点,可把两只继电器并联使用作为J\(_{1}\),以提供三副接点J1-1~J\(_{1}\)-3。而JC和J\(_{2}\)用有两副接点的继电器就可以了。在选好继电器之后,根据所用继电器的工作电压来确定电源电压。电阻R1的阻值应等于J\(_{C}\)线圈的直流电阻。D1~D\(_{5}\)可选用任何型号的硅二极管。彩灯控制回路直接从交流220V接入,接上四串市场上出售的节日彩灯链即可。

在安装之前应先把每一串的第一个带有双金属片的灯泡拆下,换上一只相同的没有双金属片的灯泡,以免造成工作中双金属片开关控制该串彩灯的熄灭,而影响整个彩动链闪动的连续性。在安装位置上,排列成第一串的第一只灯泡之后紧接着排第二串的第一只……,第四串的第一只紧接第一串的第二只,接下去是第二串的第二只,直至第四串的第二只。电路接通以后即可产生亮灯移动的效果。若把这样的彩灯链安装成圆形,头尾相连,就是转动的彩灯坏了。当然,读者还可根据实际需要,排列成各式各样的彩灯环。用以布置游艺场所或装饰家庭,有的象变色的光轮在闪动,有的则象月光下的河水在流动,气氛十分活跃,引人入胜。
如果要想使用220V的大功率彩灯泡布置巨幅图案,应在电路中接彩灯的位置上装四只接点容量足够大的交流中间继电器,再以中间继电器的接点去控制四组彩灯。不可用小型继电器去直接控制大瓦数的灯泡组,以免使流过接点的电流超过允许值,造成接点粘接而损坏。
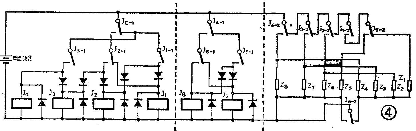
为了其他方面的应用而需要更多位的顺序控制时,本电路仍可以扩展,图4即是八位顺序控制电路的原理图。读者根据图2的分析方法可以很容易地弄清楚图4电路的详细工作情况。这里值得一提的是,电路中的主控继电器J\(_{C}\)根据用途不同可由不同的电路来带动,在生产流水线中控制各工序间的倒换,或用于某些巡回检测系统。(周若刚)