本文介绍一种分立元件结合集成电路构成的电子碰铃,它有两种工作频率,既能发出单频音调,也可发出双频音阶,只要正确使用,能够得到三种不同特色的铃声,可以根据需要随意调节。此外,还可以作为报警器用于警车上。电路结构简单,适合业余制作。
工作原理
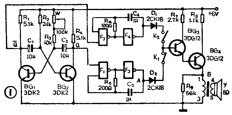
电路如图1所示。当开关K\(_{1}\)闭合,K2打开,接通电源时,由BG\(_{1}\)、BG2等组成的振荡电路开始工作,Q端输出一组低频正向方波脉冲,其波形如图2所示,脉冲的频率可以通过电位器W进行调节。当第一个脉冲到来时,即Q端为高电平“1”时,控制门F\(_{1}\)受触发而导通。此时,由F1、F\(_{2}\)、R5、C\(_{3}\)组成的音频振荡器起振,A点输出一组音频信号,经BG3、BG\(_{4}\)两级放大,通过变压器B耦合,推动扬声器发出声音。当脉冲的下降沿到来(即Q端由高电平“1”变为低电平“0”)时,控制门F1被封锁,音频振荡器停振,A点无音频信号输出,扬声器停止发声,一个工作周期即告结束。当第二个脉冲到来,即Q端由低电平恢复为高电平时,音频振荡器又开始振荡,扬声器则又一次发出声音。如此反复下去,每来一个脉冲,扬声器就响一次,因此扬声器就可以不断地发出“—,—”的悦耳的碰铃声。


由于BG\(_{1}\)、BG2等组成的低频方波振荡器正常工作时,两个管子轮番导通和截止,故在同一时刻两管集电极输出电压的波形正好相反,如图2所示。假如BG\(_{1}\)的集电极输出为高电平,与BG1集电极相连的音频振荡器(即F\(_{3}\)、F4、R\(_{6}\)、C4组成的振荡器)可由Q-点的输出脉冲触发而起振。和上述情况相同,当合上K\(_{2}\)、打开K1时,扬声器也可以发出“—,—”的碰铃声。不过这个铃声要稍微长一些。此外,为了消除两音频振荡电路输出端的相互影响,电路中设置了D\(_{1}\)、D2两个二极管以起隔离作用。若同时合上K\(_{1}\)、K2,则两个音频振荡器在整个时间里轮流工作,扬声器会有节奏地发出“嚓啷——,嚓啷——”的碰铃声。若适当调整两音频振荡电路的参数,还可获得如同警车发出的报警声音。
当需要改变碰铃敲打的节拍时,应适当调节低频方波振荡器的频率。由图1可见,它的振荡频率主要取决于C\(_{1}\)、C2、R\(_{2}\)、R3及W的数值。通常周期T≈0.7〔R\(_{2}\)C1+(R\(_{3}\)+RW)C\(_{2}\)〕秒,而频率f=\(\frac{1}{T}\),所以只要适当改变上面公式内各参数的大小,即可改变铃声的节奏。为了方便起见,通常只调整电位器W的阻值就可以满足要求。当增大W阻值时,方波振荡器的振荡周期变长,铃声的节奏相应变慢;减小W的阻值时,方波振荡器的振荡周期变短,铃声的节奏相应变得欢快。
铃声音调的高低可以通过调整两音频振荡电路的参数(R\(_{5}\)、C3和R\(_{6}\)、C4)数值来改变。通常电阻值不宜过大,过大不易起振。一般是通过改变电容的容量对电路的工作频率进行粗调,改变电阻R的阻值进行微调。增大电容的容量,可使铃声变得低沉浑厚;减小它的容量,可使铃声变得清脆高扬。容量究竟取多大为好?可参考图1中给出的数值在调试时最后确定。
元件选择
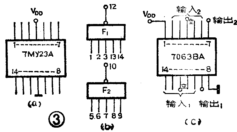
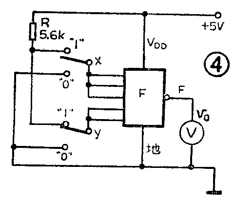
晶体管BG\(_{1}\)、BG2选用NPN硅管,如3DK2、3DG6等,要求β>100。BG\(_{3}\)、BG4选用3DG12,要求β>40。二极管D\(_{1}\)、D2用2CK18或其它型号的开关管。电阻选用\(\frac{1}{4}\)W或1;8W的碳膜电阻或金属膜电阻。电位器选用WTH—X或WH5—A型的。F\(_{1}\)、F2、F\(_{3}\)、F4用两块TTL双与非门集成电路,如7MY23、7063等。电源用4F22型6伏积层电池。集成电路电源要求5伏,使用业余品6伏电源也可以正常工作。变压器B采用晶体管收音机中输出变压器。图3a是集成块7MY23A的管脚图,图3b是它的逻辑图;图3c是集成块7063的管脚图。焊接前需简单检查一下集成块的逻辑功能,图4给出了检查时的接线图。首先将五输入端与非门连接成二输入端,并设这两端分别为X、Y,把X、Y分别与二个电平开关相连接。然后按附表所列输入端状态,分步接“1”或接“0”,同时用万用表测量相应的输出电压值。若与表中输出端F的逻辑功能相符,则被测与非门是可用的。否则集成块可能损坏、需另选用。



调试方法
图5为印刷电路板图,可参考图1中给出的参数进行组装(注意:如果集成块用7063,印刷板有关部分需修改)。组装完后,可按下述三个步骤进行调试。

1.调整BG\(_{1}\)、BG2等组成的低频方波电路:接通电源,检查晶体管集电极Q点(或Q-点)与印刷板地线之间的电压。若表针左右摆动,表明电路已经起振,有脉冲信号产生。当增大电位器W的阻值时,表针摆动应由快变慢;减小W的阻值时,表针摆动应由慢变快。
2.调整音频振荡电路:首先将电位器W的阻值调到最小,把扬声器的一根引线与地线相连,然后用扬声器的另一根引线分别与D\(_{1}\)、D2的负极接触。若两次接触时扬声器均能发出“—,—”的碰铃声,说明这两部分电路已经能正常工作。否则,需要重新检查线路的连接及元件的参数。BG\(_{3}\)、BG4等组成的音频放大电路只要按图1中参数设置工作点,一般不调试也能正常工作。
3.对整机进行统调:从图2所示的Q和Q-端的输出波形可见,由于电路结构的非对称性.当调节电位器W的阻值使其大于14千欧时,总会使tP\(_{2}\)>tP1,所以由Q-端所驱动的音频振荡器的频响时域要宽一些,相应的扬声器发出的铃声要长一点;而由Q端所驱动的音频振荡器的频响时域要窄一些,相应的扬声器发出的铃声要短一点。因此可以根据需要对调Q端和Q-端两音频振荡电路的控制线,使扬声器发出“嚓啷——,嚓啷——”的碰铃声。此时电路就可以正常工作了。(贾亚民)