家庭中备有一只长延时定时器,会给你的生活带来许多方便。例如:电风扇定时,收听广播定时,烧饭或煎药定时等。本文向读者介绍几种充电型长延时定时器,其优点是抗干扰能力强、结构简单易于业余制作、延时较准、功能较多。
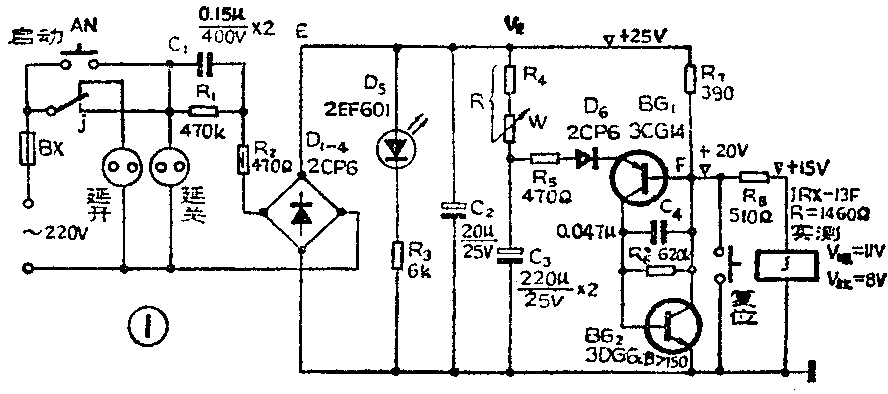
图1是一种很值得推荐的简单而实用的充电型定时器电路,它的工作原理是:当按下启动按钮AN后,220伏市电经C\(_{1}\)降压、D1~D\(_{4}\) 整流,在E点获得+25伏直流电压,使发光二极管发光。启动之初,因为定时电容C3刚开始充电,所以BG\(_{1}\)的发射极电位较低,但它的基极电位却很高(由R7、R\(_{8}\)及J分压决定,约+20伏),所以BG1截止。BG\(_{2}\)因得不到足够的基极电流、所以也截止。于是+25伏电压就经过R7、R\(_{8}\)加到了继电器J上。J得电吸合,其常开触点j闭合,使负载得电,同时取代了启动按钮AN,将电源锁定。

随着电源通过R\(_{4}\)、W不断向C3充电,经过一定时间,BG\(_{1}\)发射极电位就会升高到大于基极电位,此时BG1开始导通。BG\(_{1}\)和BG2的连接方式使电路具有强烈的正反馈作用,一旦BG\(_{1}\)进入导通状态,就会使BG2也立即导通。BG\(_{2}\)的导通,使电源流向J的电流被旁路掉,所以J失电释放,负载电源即被切断,起到了定时器延迟断电的作用。
电路中R\(^{*}\)\(_{6}\)的作用是提前使BG2处于线性放大状态,以提高触发灵敏度。实验表明,当不接R\(_{6}\)*时,定时器最大延时只能做到二、三十分钟,相当于电位器W(用波段开关加一些电阻改制而成,具体改制办法见图2)最大只能调到1.6MΩ。当W阻值再增大时,则从W而来的电流就不足以使BG1、BG\(_{2}\)组成的复合管开关触发翻转了。当加接R6\(^{*}\)后,可极大地提高触发灵敏度。使最大延时超过1小时。这便是本电路能够用较小的电容获得较大的延时的主要措施之一。

C\(_{4}\)的作用是抑制干扰,它对于由R7传来的干扰来讲,是一只密勒积分电容,所以它对高频干扰信号有较强的抑制作用。实验表明,当不接C\(_{4}\)时,如果开关电灯或拔播电烙铁时,均会使电路提前翻转,有时误差竟能达到50%。加接C4后,在同样干扰情况下,再未见到过误动作现象。这便是本电路能有效抑制干扰的一种主要措施。本电路V\(_{E}\)、VF取值较高,也是为了提高抗干扰能力及增大最大延时时间。另外,R\(_{7}\)的设置虽然对增大最大延时时间不利,但对提高电路的抗干扰性能有好处。R8的作用一方面是增大V\(_{F}\)以提高最大时延,另一方面是可作为时间刻度的微调。R和C3分别为定时电阻和定对电容,它们的延长时间为T=RC\(_{3}\)lnVEV\(_{E}\)-VF-1.3(秒),其中R=R\(_{4}\)+W。当 VE=+25伏、V\(_{F}\)=+20V时,上式可简化为T=1.91RC3。如果取C\(_{3}\)=220μ×2,上式可进一步简化为T=0.84R,其中R以千欧计,T以秒计。D6是为了防止刚启动时BG\(_{1}\)的e、b极之间存在的过高反向偏压将管子击穿而设置的。下面介绍几点具体制作经验:
1.图3为1:1印刷电路板图。它的铜箔面是元件安装板,它的背面又兼作定时器的面板,所以不允许有带电的接点或螺丝钉露在面板上。为此,所有的焊点处均不钻孔,螺丝钉均固定在无电铜箔上。这一点在安装时应特别注意。印刷板线条采用直角走线,可以用小刀刻制而成。

2.波段开关采用印刷结构,为了便于选材,其旋轴、轴承、弹性活动接触片等附件均采用普通电位器中的元件(原电位器轴承螺管太长,可截去一半),具体组装方法见图4。

3.在业余条件下,启动按钮AN及复位开关可分别用红、黑香蕉插座改制(原螺纹管太长,应截去一半),其安装方法参见图5。

4.电源插座的业余制作方法如图6,它是用磷铜皮直接焊在印刷板上,方法很简便,也很实用。为了加强铜箔的牢度,整个插座铜箔面均应镀上一层1~2mm厚的锡。

5.降压电容C\(_{1}\)的耐压,从理论上说应大于300伏。但实践证明,若用标称耐压稍低一些的金属膜纸介电容也是足够安全的。因为这种电容的耐压富余量较大。
6.保险丝BX采用φ0.08mm漆包线代用。
7.各晶体管的耐压均须大于30伏。BG\(_{1}\)的β值为20~100,BG2的β必须大于150,否则触发灵敏度会降低。
图7和图8都是从图1派生出来的电路。图7的特点是用结型场效应管3DJ6组成的恒流源代替了图1中的定时电阻R\(_{4}\)+W,这有四个好处:①用较小的R4+W值,就可以获得相当于图1中很大的定时电阻,因此可以用普通电位器改制波段开关;②延迟时间变成连续可调;③实验表明,在相同数值的定时电容下,图7电路的最大延时时间可比图1的大3~4倍;④从理论上说,恒流充电对抗干扰也是有利的。这个电路用来制作超小型长延时定时器特别有利。


图8中用普通三极管3CG\(_{14}\)(或3AK20等)代替了图7中的3DG6,并增加了由BG\(_{1}\)和R3、R\(_{4}\)组成的并联稳压电路,适宜用于电源电压波动较大的地区。不过要注意,调整C1时应保证正常情况下BG\(_{1}\)的工作电流不要太大,否则管子容易发烫,使直流电压产生漂移,影响计时精度。稳压电路的输出电压VE≈\(\frac{R}{_{3}}\)+R4R\(_{4}\)×0.75伏。正常情况下,增大R3就可以增大V\(_{E}\),否则说明稳压电路的负载太重,应增大C1值才能解决。
图8中用K\(_{l}\)来选择负载插座的“延开”、“延关”,可以避免反复拨插电源插头,并使定时器可以作为普通电源开关来使用。这对没有电源开关的便携式录音机来说,是很有好处的。图8中还用K2来选择定时电容,适当选择C\(_{3}\)、C4值,可使本定时器既可用于短延时的印相曝光控制,又可用于长延时的定时报警控制。所以可以说图8电路是充电型定时器中功能较全的定时器。
图7电路可以直接用图3印刷板制作,只把特为它留下的空白铜箔利用起来即可。如果将图3印刷线路板稍作修改,即将K\(_{1}\)装在原“延开”插座上,把K2对称地装在继电器J的右方,同时把C\(_{1}\)两容及R1重叠起来安装,就可以作为图8的印刷电路板了。(李振华)