在布满元件的印刷电路板上,如果不脱开电路判断电路板上某只晶体管的好坏,确实是一件麻烦事。我设计并制作了一个晶体管在线自动测试仪,电路虽然很简单,但却能出色地完成上述任务。使用时,只要用仪器引出线上的三个小鳄鱼夹,分别去夹住焊在电路板上的晶体三极管的三个电极,从仪器的显示板上马上就能判断出被测管是PNP管还是NPN管?是好管还是已损坏的管?
测试原理
图1为测试原理图。E\(_{0}\)是一个振荡电源,它能使AB两端的电压极性来回变化。这个极性来回变化的信号经过R2接到测试指示器——发光二极管LED\(_{1}\)和LED2上。当在图中的b、c、e三点没有接入被测管时,由于E\(_{0}\)极性不断地改变,使得LED1和LED\(_{2}\)交替发光。但当把E0的极性变换频率调到高于16Hz时,由于人的视觉再也分辨不了那么快的变化,我们就看到LED\(_{1}\)和LED2好象是两个连续发光的指示器。在这里,我们可把LED都亮的状态看做为被测管ce极之间断路。

当将一只好管按照管脚标号接入图1中e、b、C三端时,在E\(_{0}\)的极性符合被测管工作的极性时,则由A点电位VA通过R\(_{1}\)为被测管基极提供偏流Ib,这时被测管导通工作,并通过D\(_{1}\)E1或D\(_{2}\)E2使LED两端旁路(D\(_{1}\)E1、D\(_{2}\)E2为一对辅助电源,它们的作用在后面说明)。发光二极管LED被旁路的时候,就不会再点亮了。那么什么时候LED\(_{1}\)被旁路?什么时候LED2被旁路?旁路的条件是什么?与被测管的极性和好坏有什么关系?下面我们就要分析。
如果让U\(_{D1}\)+E1=U\(_{D2}\)+E2,那么|V\(_{D1}\)+El|+V\(_{ce}\)<VF就是满足旁路的条件,我们把这个公式称为式①,从电路图中可知,式①中的U\(_{D1}\)是D1两端的正向电压降,可取0.7V;E\(_{1}\)是辅助电源,可调到0.6V;Uce是被测管导通后的电压,一般取0.3V;U\(_{F}\)是发光二极管的正向发光电压,一般取1.8V。把这些电压值代入式①,则可得到1.6V<1.8V的结果。换句话说,就是由于被测管的导通,使加在LED发光二极管两端的电压不足以推动发光二极管发光(即将发光二极管旁路)。例如,测试一只NPN好管时,E0极性是A点为正、B点为负,V\(_{A}\)通过R1向被测管提供I\(_{b}\),NPN管导通,这时电压UGB降至1.6V,LED\(_{2}\)被旁路,不亮,LED1处于反偏,也不亮;当E\(_{O}\)改变极性为B正、A负时,LED2处于反偏置,不亮;但此时LED\(_{1}\)处于正偏,能够点亮。前面曾说过,E0极性转换频率很快,所以看到的显示结果必然是LED\(_{1}\)亮、LED2灭。这一测试结果说明:被测管是一只NPN管、好管。利用同样的分析方法可知,当被测管是一只PNP管好管时,显示结果是LED\(_{1}\)灭、LED2亮。
如果接在测试电路中的被测管是一只c、e给内部短路(损坏)的管子,则V\(_{ce}\)=0V,把它代入式①,(其它几个电压值不变),这时便得到1.3V<1.8V。这就是说,当ce极短路时,UGB=U\(_{D1}\)+E1=1.3V。这个电压低于U\(_{F}\),所以LED被旁路,不亮。又因ce极短路后,对LED管子的旁路作用是双方向的,所以不论E0极性如何,LED\(_{1}\)、LED2均不会亮。
如果被测管的bc结或be结短路,那么管子的另一个PN结就象一只二极管一样并联在测试电路上的c、e两端,这个PN结的正向电压约为0.7V,把这个电压值代入式①的U\(_{Ce}\)(式中其它值不变)后得到:不等式左边=2V,右边=1.8V,显然左边的值大于右边值。这时在E0的极性交替变换下两个发光二极管都会发光。例如,被测管是一只bc短路的NPN管,由于bc短路,则管子的发射结接在ce两端,这个PN结的极性为上正下负。当E\(_{0}\)为A正、B负时,VA通过R\(_{2}\)向G点提供电流。D2因反偏不导通,LED\(_{1}\)也是反偏不导通。余下的有两个正偏支路,一个是从G到D1E\(_{1}\)通过ce间的发射给回到B点;另一个是从G通过LED2直接到B。从刚才分析知道,从D\(_{1}\)支路到B点的导通电压需要2V,而LED2只需1.8V就能导通,所以通过R\(_{2}\)的电流会全部通过LED2,并使之发光。当E\(_{0}\)为B正、A负时,被测管的发射结相当于一个反偏的二极管,因此ce两端不通。LED2反偏,也不导通。只有LED\(_{1}\)正偏,电流通过LED1使它发光。E\(_{0}\)的极性交替变换,变换频率又较快,所以看起来两个LED管都点亮。
这里说明一下双向辅助电源D\(_{1}\)E1、D\(_{2}\)E2的作用:它是为区别测试电路中ce间接入的是一个坏管(如只有一个PN结)还是一只好管而设置的。如果将图1中的辅助电源去掉,用导线把G、C两点连接起来。那么U\(_{GB}\)将低于UF(1.8V),使LED管旁路,就会产生错误的测试结果。可见辅助电源不可缺少。表1中列出了被测管状态与发光二极管亮、灭之间的关系,可供读者参考。

从表1中可以看出,前面曾分析过的A~E五类被测管状态,出现了四种显示状态。其中显示状态1、2表明所测试的为好管,3、4表明为坏管。
表2将可能出现的被测管状态,以PN结的方式画出,并给出了各状态测试类别的归属关系,可供读者分析电路时参考。从表2可以看到NPN、PNP管出现的20种被测管状态,可以归属到A~E五个测试类别中去。而这五类又有四种显示状态,四个显示状态又可分为“好”与“不好”两类。实际使用时,为了方面起见,将表1、表2统一简化为表3。将表3贴在仪器面板上,测试时,如果看到LED\(_{1}\)亮、LED2灭,立刻就可以从表3中查出被测管是一只NPN好管;如果LED\(_{1}\)灭、LED2亮,被测管就是一只PNP好管;如果LED\(_{1}\)、LED2同时都亮或同时都灭,则一律判断为是一只坏管。


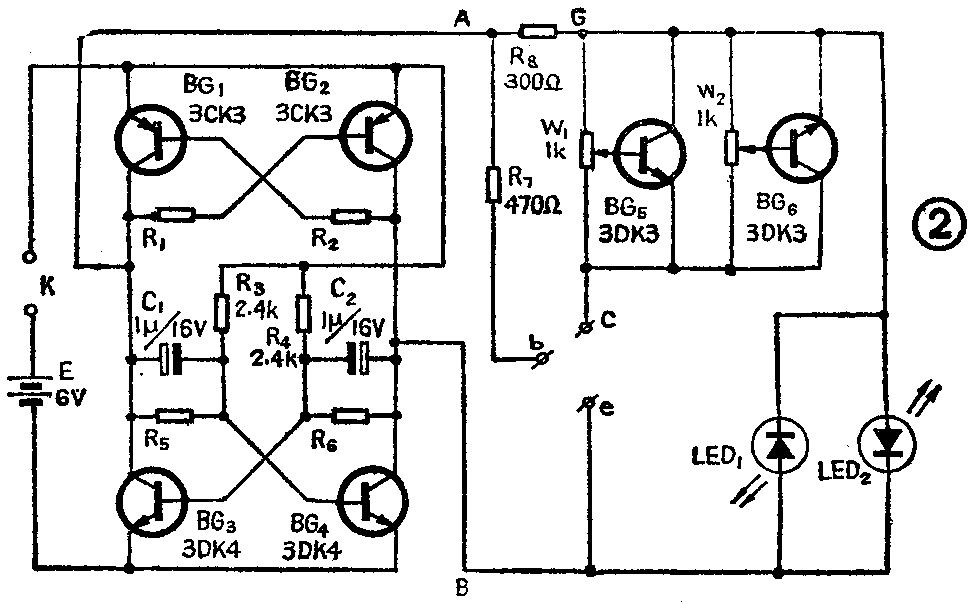
图2是该调试仪的实际电路。它的左半部分为一个振荡源,右半部分为测试电路。振荡源就是前面讲到的E\(_{0}\),它由BG1~BG\(_{4}\)、R1~R\(_{6}\)、C1、C\(_{2}\)及6V直流电源组成。电路的上半部分是一级双稳电路,下半部分是一级多谐振荡器。设接通电源后,BG4先导通,它使BG\(_{3}\)截止,BG1导通。而BG\(_{1}\)又使BG2截止。BG\(_{1}\)导通后,把直流电源E的正极与A点接通,而BG4导通后把E的负极与B点接通。反之当BG\(_{3}\)导通时,则使BG4截止、BG\(_{2}\)导通,BG2的导通又使BG\(_{1}\)截止。这时E的正极与B点接通,E的负极也通过BG3与A点接通。这样,在多谐振荡器的控制下,就实现了A、B两点间电压极性的自动转换。转换频率约1KHz,可通过选择C\(_{1}\)、C2、R\(_{3}\)~R6数值来决定。多谐振荡器的占空比为1:1,可通过选择C\(_{1}\)C2、R\(_{3}\)R4、R\(_{5}\)R6的对称参数来决定。

测试电路中的辅助电源由BG\(_{5}\)、BG6及W\(_{l}\)、W2构成,调节W\(_{1}\)、W2可改变稳压值。
元件选择与调试
由于测试电路工作在开关状态,为了减小电路中的电压损耗及获得低电压时较好的工作特性,所有晶体管都采用开关管,并对饱和压降有一定要求。BG\(_{1}\)、BG2采用3CK3,V\(_{ces}\)≤0.3V(Ib=5mA,I\(_{C}\)=30A时测试)β≥40。BG3、BG\(_{4}\)采用3CK4,Vces≤0.3V。BG\(_{5}\)、BG6采用3CK3,V\(_{ces}\)≤0.5V(Ib=0.5mA,I\(_{c}\)=25mA时测试),β≥100。LED1、LED\(_{2}\)可采用任何型号的矩型绿色发光二极管。图3为印刷电路板。

调试:振荡源部分一般不需要调试,只要元器件参数符合要求,焊接无误,通电后就可产生振荡。可通过观察LED管是否发光来判断是否产生了振荡。若两只LED管都亮则证明电路已经起振,否则为停振。起振后可将3DK4的cb结充当一只校准二极管,用来校准双向辅助电源。调整方法是:把二极管的正极接测试电路的“c”点,把负极接测试电路中的“e”点。然后用小螺丝刀调W\(_{1}\),使LED2由灭到亮(如果刚接上LED\(_{2}\)就亮,则应先把它调灭后再进行上述调整)。再调换校准二极管的极性,使c接负、e接正极。这时再调W2使LED\(_{1}\)由灭到亮。
在线测试仪的ebc三个测试极之间允许外接的最小电阻阻值,是衡量在线测试能力的一个重要指标。此值越小,该仪器应用范围越广。本测试仪的最小允许外接电阻对功率小于1瓦的被测管来说为200Ω。

测试仪的外观见图4。将表3附在小盒的正面,并将LED\(_{1}\)、LED2的矩形绿色发光二极管安排在表中的相应位置。仪器使用四节五号电池,使用时只要接通电源,把测试夹子与故障印刷电路板中被测管的ebc相接,便可自动显示出它的管子类型及管子的好坏。测试仪携带使用很方便。(注:此仪器已申报国家专利)(赵 雷)