(朱蔼初)本文所介绍的讯响器,在按下电键AN时,会反复演奏‖:3 5-3 5- 1· — :‖这一简短乐句,直到放开电键为止,可以作为门铃或电子玩具中的音响装置。电路十分简单,主要由一片CO36型CMOS集成电路和两个三极管构成,装置和调试都很容易。用四节干电池供电,电路在不工作时是不耗电的,工作时,耗电量和输出功率相当于一般四管收音机。
电路简析


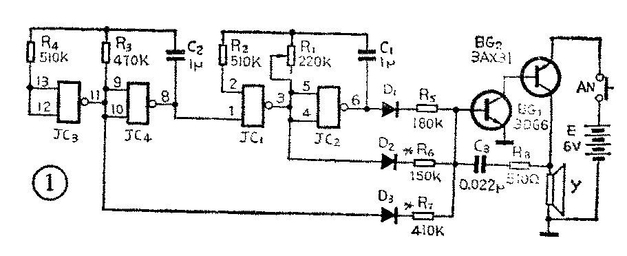
电路见图1所示。JC\(_{1}\)~JC4是CO36型集成电路内的四个与非门,用来产生节拍信号。JC\(_{1}\)和JC2构成“拍”振荡器,振荡周期相当于一个四分音符;JC\(_{3}\)和JC4构成“节”振荡器,它的振荡周期相当于一个四拍子的小节。前者受后者的控制,使节拍信号步调一致(见图2)。BG\(_{1}\)和BG2构成互补型振荡器,用来产生音频信号。当电源E、R\(_{8}\)与C3选定之后,信号频率基本上决定于C\(_{3}\)的充放电回路的电阻RQF。这个振荡器是在前面与非门所产生的节拍信号控制下工作的:设按下电键后,在t\(_{0}\)~t1这段时间里,JC\(_{2}\)的输出为高电位,D1正向导通,R\(_{QF}\)≈R5,阻值较大,振荡的频率较低,扬声器发出3音;在t\(_{1}\)~t2这段时间里,JC\(_{1}\)的输出为高电位,D2正向导通,R\(_{QF}\)≈R6,阻值较小,振荡的频率较高,扬声器发出5音;在t\(_{2}\)~t4这段时间里,重复t\(_{0}\)~t2间的过程,扬声器又发一次3、5音;在t\(_{4}\)~t8这段时间里,JC\(_{1}\)和JC3的输出都是高电位,D\(_{2}\)和D3正向导通,R\(_{QF}\)约等于R6和R\(_{7}\)电阻相并联阻值,即RQF≈R\(_{6}\)//R7,阻值更小,振荡频率更高,扬声器发出1·音。这样在t\(_{0}\)~t8这一小节时间里扬声器发出|3 5-3 5- 1· — |乐音。
装置和调试


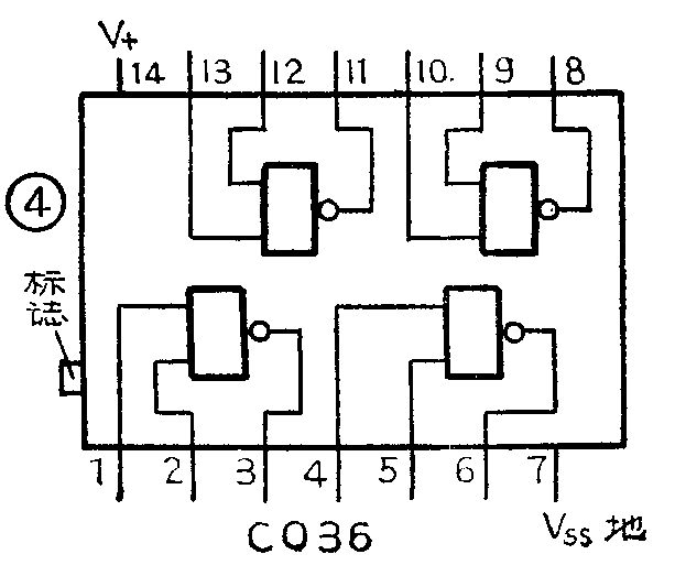
印制板可参考图3用单面铜箔板蚀制。CO36是2输入端四与非门集成电路,引出线的排列见图3所示。可以采用业余品。由于CMOS器件极易被带电物体的静电场击穿,所以在保存时应该用铝箔包裹,焊接时电烙铁的外壳必须与大地接通。BG\(_{1}\)和BG2宜采用β在70~80之间的。C\(_{1}\)和C2必须用无极性的电容器,如金属膜电容、瓷片电容。二极管D\(_{1}\)、D2、D\(_{3}\)应选用反向电流很小的二极管,如2CK。
装置和调试可分两步进行:
1、装置和调试互补型振荡器。把D\(_{1}\)~D3三个二极管、R\(_{5}\)~R8等四个电阻、电容器C\(_{3}\)、两个三极管BG1和BG\(_{2}\),以及扬声器y焊入印制板,接通电源(电键AN暂时不接),这时BG1和BG\(_{2}\)都处于截止状态,扬声器里不会发出声音来。取一段导线,两端剥去线头,一端接电源正极,用另一端依次去接触D1和D\(_{2}\)的正极,在扬声器里当会发出35种声音来;同时接触D2、D\(_{3}\)的正极,当能发出i声音来。如果听起来某一个音偏低(或偏高),可把相应的电阻减小(或增大)试试。试好后,拆去电源,再进行下一步工作。
2、装置和调试节拍振荡器。把R\(_{1}\)~R4四个电阻、C\(_{1}\)、C2两个电容和CO36集成块焊入印制板,集成块CO36的14脚接电源正极,7脚接地,在印制板上已接好,在电路图上未画出。接上电源和电键。按下电键,稍稍调节R\(_{1}\)到120千欧左右,即能按节拍演奏前述的旋律。如嫌节拍太快,可增大C1、C\(_{2}\)或R1、R\(_{2}\),反之嫌节拍太慢时则应减小这些元件的数值试试。调节R1,还可以得到几咱不同的旋律,如

等等,读者可根据自己的爱好随时更换。