CMOS音乐集成电路又叫IC音乐晶片,它被广泛地应用于各种电子玩具、电子门铃、钟表、电话、报警装置和仪器设备方面。本文以CW9300系列IC音乐晶片为例,介绍几种有趣而实用的电路。
几种基本应用电路
CW9300晶片,实际上是一片ROM记忆系统,每片都存储着一首完整的乐曲。目前该系列晶片总共有31种乐曲,可供用户选择使用。

1.可以连续演唱的电路。图1为这种电路的外部元件连接图,图中S为φ22mm的压电陶瓷片,而CW9300晶片已固化,体积极小,引脚已经跟印刷电路板连通,所以在制作时只要外接一个68千欧电阻和一块压电陶瓷片就行了。使用时只要接通电源就能演唱,而且唱完后稍停片刻又会从头开始再唱,直至切断电源为止。这个电路常用于贺年片中。
2.触发一次,演唱一首乐曲,唱完即自动停唱的电路。电路如图3所示,在这个电路中,接通电源后并不演唱,必须把微动开关K接通一次(接通后可以立即断开K,即触发一下)才能演唱一首完整的乐曲。唱完后自行停止。再触发可以再唱。这种电路适用于音乐门铃、钟表和各种电子玩具等方面。

3.接通电源,演唱一次,唱完后自动停止的电路。电路如图4所示,当接通电源开关时,由于微分电容C的作用,在晶片的1端加上一个正向的尖脉冲,相当于图3中的微动开关K触发一次,所以电路即演唱一首乐曲,唱完后自行停止。这个电路常用于仪表和自动控制设备的讯响装制方面。

4.推动蝉鸣片与发光二极管的电路。电路如图5所示,这个电路在工作时,发光二极管D\(_{1}\)与D2的亮度能随着乐曲声的变化而变化,常用于电子玩具等方面。
用于电子玩具上的几种电路
把CW9300用于电子音乐玩具上时,最简单的方法,只要把图2的电路装进某种玩具(如玩具动物、玩具娃娃等)内,即成为一个手控电子音乐玩具。也可以在图3的基础上再加某些控制电路,比如做成触摸式、光控、遥控等较为高级的电子音乐玩具。下面举例介绍这方面的电路。

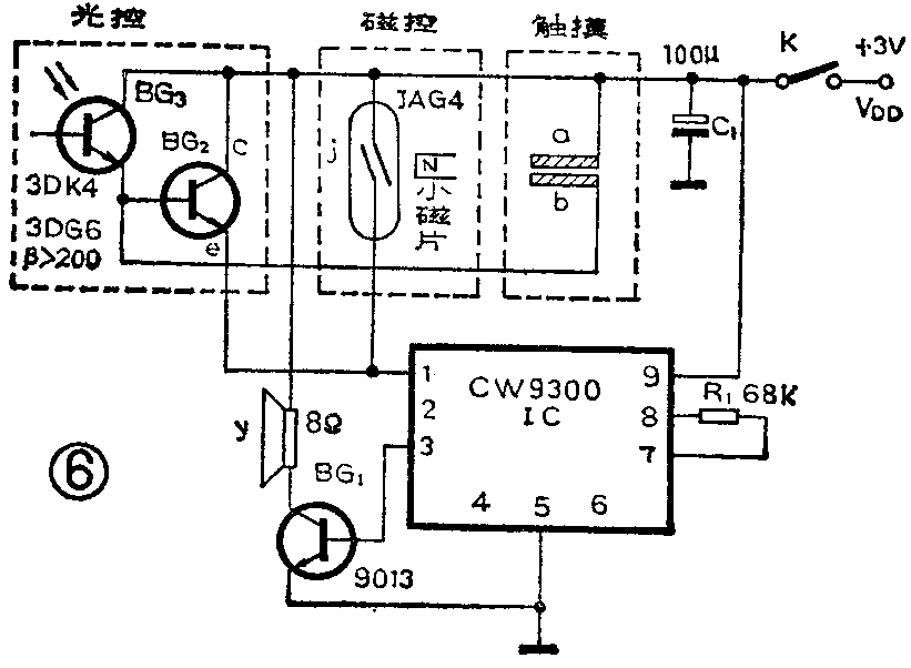
1.光控、磁控、触摸式音乐玩具。图6为电路图,其中BG\(_{2}\)的c、e极分别接于电源的正极(3V)与IC的1(RPT)端,它相当于一个开关,BG2截止时相当于开关断开,BG\(_{2}\)导通时相当于开关闭合。
用于光控时,接在BG\(_{2}\)基极电路中的BG3是BG\(_{2}\)的偏置电路。无光照射时,BG3的c、e极之间的电阻较大,约在2兆欧以上,所以BG\(_{2}\)是截止的;当有光照射时,其c、e极之间的电阻显著减小,约为几百千欧以下,这样BG2的基极电流增大,以至于导通饱和,+3V电压通过BG\(_{2}\)的c、e结加到晶片的1(RPT)端,晶片被触发,立即演唱一曲悦耳的音乐,唱完自行停止。光再照射时,可以再唱。制作时,BG3可用β>200的小功率硅管,并将管子的顶部用锉刀锉掉。光源用一般手电筒即可。图7为电路的印刷电路板。

用于磁控时,只要使装在棒头上的小片磁铁的磁极(N极或S极均可)靠近干簧管JAG4,干簧触点闭合,+3V电压通过触点j触发晶片的1(RPT)端,IC开始演唱,唱完自动停止。
用于触摸式玩具时,只要人手触及两片靠得很近的金属片(可用敷铜板或薄铜皮制成,两片之间的距离要小于2mm)时,BG\(_{2}\)导通,IC即演唱,唱完自动停止。

2.火花式遥控音乐玩具。这里介绍的遥控装置,非常简单,发射机电路如图8所示。整个装置没有一个电子器件,当微动开关K按下并迅速放开时,由于L\(_{1}\)的自感作用,L1中储存的能量迅速向电容C充电,这样,在L\(_{1}\)、C回路中发生短暂的阻尼高频电磁振荡。由于变压器B中L2的匝数远大于L\(_{1}\),所以在L2的两端感应出很高的电压,能使火花隙a、b之间发生瞬间火花放电(跳火)。众所周知,在火花放电时,相当于向外发送高频电磁波。这种高频电磁波的频带很宽。使用这个发射机时应注意下面两点:①当K按下时,电路接近于短路,电流很大,所以按下的时间不宜过长,越短越好,电源最好用1号电池。②发送电磁波的时刻并不在按下的瞬时,而是在K断开的瞬时,而且断开得越快,发射功率也越大。

接收机电路如图9所示,由天线和L\(_{1}\)接收下来的火花放电高频电磁波,经D1检波并由BG\(_{5}\)、BG4组成的复合管放大,形成一个触发脉冲,通过C\(_{2}\)使BG3导通,电源电压则通过BG\(_{2}\)触发晶片的1(RPT)端,使IC演唱一次,唱完自行停止。再发射时可以再唱。

发射机中的变压器B可用截面为4cm\(^{2}\)左右的E型硅钢片做铁心,绕制数据见图10。也可用6.3V/220V现成的电源变压器代替。火花隙可用厚为0.5mm左右的铜皮按图11所示的尺寸制成,中间的火花隙不要大于1mm。天线用φ8mm左右的铜管制成,长度不得小于0.7m,能用拉杆天线更好。接收机中的L\(_{1}\)可用φ0.1mm的高强度漆包线在1/8W、1MΩ以上的RTX电阻上密绕100匝而成。也可用市售30μH或68μH等高频扼流圈代替。接收机中的天线用0.6米左右长的一般软接线即可。图12为接收机的印刷电路板及接线图。

整个装置不论发射机还是接收机,都没有设置任何可调节的元件,也没有一个偏流电阻,只要电路没有接错,定能成功。本装置的有效控制距可达10米左右。

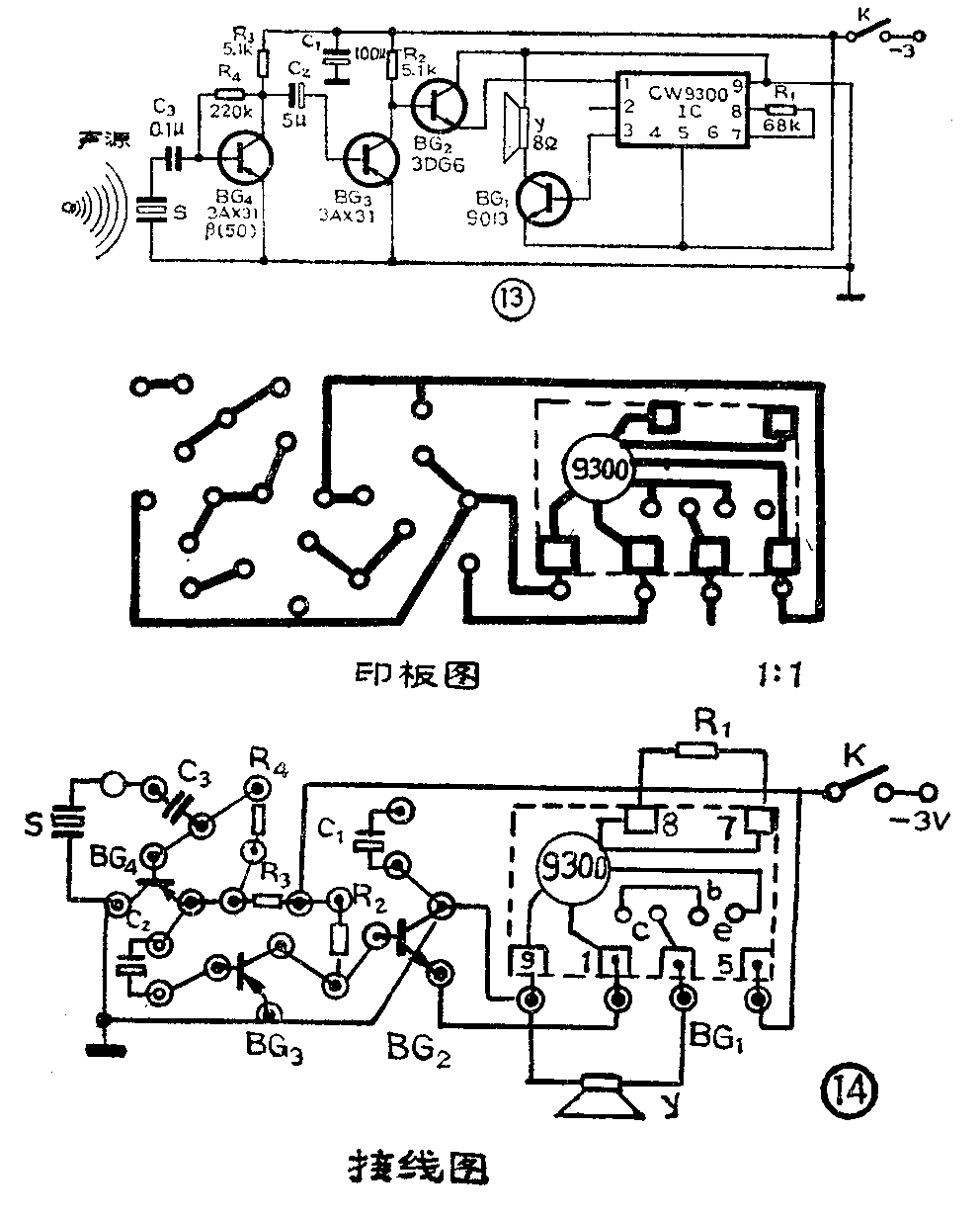
3.声控音乐玩具。图13与图14分别为这个电路的原理图与印刷电路板接线图。其中BG\(_{4}\)等组成音频电压放大器,S为φ22mm的压电陶瓷片。当有一种击发声(如拍手声等)到来时,压电陶瓷片能把机械振动转变为电信号,并由C3耦合到BG\(_{4}\)进行放大,BG3、BG\(_{2}\)与BG1的作用跟图9中完全相同。所以只要轻轻地拍一下手,电路即能奏出一首优美的乐曲。再拍手时可以再唱。制作时,压电陶瓷片的黄铜底座应接到地端,正常时BG\(_{4}\)的集电极对地电位在-1.5V左右。只要线路焊接无误,一定能够获得良好的效果。
上面介绍的几种电子音乐玩具电路,都有如下几个特点:①均采用低电压3V电源供电,而且都能跟CMOS晶片共用一组电源,用电极省;②都用晶体管直接触发,省去了价格较贵的继电器;③电路都很简单,适合初学者自行制作,而且效果良好;④装好后都不需要任何调整,如果焊接无误,定能一次成功。
最后说明一下,在焊接CMOS集成电路管脚时,电烙铁应良好接地。(汤诞元)

