这里介绍的是一组自动控制、报警电路。这些电路都包括传感元件、放大器和执行、显示电路等部分。在实践中,可根据需要将它们变化组合,灵活运用。
磁控电路
电路用干簧管作传感器。图1画出了干簧管的构造。它的玻璃外壳里有一组磁性金属做成的簧片。受到磁场作用时,簧片会相互吸引相触,两端引线便相互连通,从而接通电路;磁场消失后,簧片靠弹力自动分离断开电路。为了保证簧片可靠地接触,干簧管内要充进惰性气体,并将簧片镀金,避免氧化损蚀。干簧管的体积小、寿命长、工作稳定,但由于簧片触点不能承受高压,也不能通过大电流,所以常常与晶体管配合使用。

磁控电路如图2。这是一个间歇振荡器。接通电源,发音片HTD发出“嘟——”的声音。当把一块磁钢靠近干簧管G时,管内簧片相触,电路中三极管的b、e两极被连通,发声停止。把磁钢拿开,电路又重新发声。这说明振荡器的工作受干簧管周围磁场控制。图3是作此电路实验时元件的焊接位置。


能不能把电路改成在磁钢接近时发声,而磁钢离开后停止呢?可以。只要把干簧管改焊到BG基极上方,与R\(_{1}\)串联就行了。这时用磁钢控制干簧管通断,从而控制基极电流的通断,使晶体管导通或截止,发音片便随着发音或不发音。此外,也可以不改动电路,预先把一块磁钢放在干簧管旁,使电路不能发声。那么当另一块磁钢再靠近干簧管时,如果它的磁极方向与原磁钢相反,就能抵消原来磁钢的作用,使电路发声。
湿度控制电路
这个电路能显示环境湿度的大小,当湿度达到一定极限时,电路中的发光管LED被点亮,作出显示。
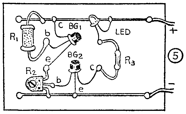
实验湿控电路如图4。R\(_{1}\)是湿敏电阻。它由掺有金属氧化物的硅粉烧结而成。在周围空气湿度(RH值)增大时,湿敏电阻的阻值会大幅度下降。图4电路中,如果环境湿度增大,R1阻值下降,引起BG\(_{1}\)的基极电位升高,三极管发射极输出电压也会增大,使BG2管导通,发光管发光。

实验时,将元器件按图5所示焊好。调节R\(_{2}\),使发光管熄灭。我们只要向湿敏电阻哈出一口气,哈气中水分引起的湿度变化就能点亮发光管。

需要说明的是,这个电路只能用作演示。实际应用时,有些湿敏电阻需要加交流电压,以免出现极化现象。
声压控制电路
我们已经知道,压电陶瓷片HTD可以用作电声转换,在前面实验中都把它当成发声元件使用。其实,压电陶瓷片还具有声(压)电转换的本领。陶瓷片接受到声音振动时,它感受到声波产生的压力,两极间会相应地产生电压。
电路还能用作压力控制实验。把压电陶瓷片平放在桌上,用一支铅笔的橡皮头轻轻压它,我们会发现陶瓷片受压时,发光管并不发光,而在放松铅笔,压力消失的瞬间发光管才点亮。如果把陶瓷片的引线位置对调,实验结果就变成受压过程中发光管亮了。
温度控制电路
温度传感器的种类很多,如双金属片、触点温度计、热敏电阻等。用热敏电阻来探测温度的变化,具有体积小,反应灵敏,反应时间短等优点。图8是常见热敏电阻的外形和电路符号。热敏电阻上标志的阻值一般是在25℃条件下,用专门仪器测得的。我们实验中,环境温度升高时热敏电阻的阻值变小,这种热敏电阻是负温度系数型。如果热敏电阻阻值随温度上升而变大,就是正温度系数型。


温度控制实验电路如图9。电阻R\(_{1}\)、R2和R\(_{6}\)、R7组成电桥。调节R\(_{1}\)使电桥平衡,这时两个三极管BG1、BG\(_{2}\)基极电位相等。环境温度变化时,R6阻值改变。这将引起组成差动放大器的BG\(_{1}\)、BG2集电极输出电压变化,U\(_{C1}\)升高而UC2降低。温度升高到一定程度时,BG\(_{3}\)就能导通,使发光管发光。若预先调节R1,使发光管处在将亮未亮的临界状态,电路对温升的显示将更灵敏。图10是实验时元器件的焊接位置。

实验时,若把BG\(_{3}\)的基极引线改接到BG1的集电极上,调节R\(_{1}\)使发光管将亮未亮,那么电路会在温度降低时作出显示,点亮发光管。
光控制电路

硅光敏管是常用的光传感器,它能把光信号转变为电信号。图11是几种光敏管的外形与电路符号。使用时,将它们图中1脚接电源正极,2脚与负极相连。光线照射到管顶窗口上时,光敏管的内阻会随光强的增加剧烈减少。这个变化经放大后,就能控制执行电路动作。


图12电路中,光敏管D受到光照后,BG\(_{1}\)因基极电压升高而导通,BG2管截止,那么BG\(_{3}\)组成的振荡电路即发出讯响。如果把电路改动一下。如虚线所示,将光敏管接到BG1下偏流位置,讯响器将在无光照时发声,光敏管受光照后停止。图13是实验时元件焊接位置。要注意某些型号的光敏管外形相似,而引线极性不同。如果电路光控效果不明显,应检查光敏管的极性是否接错。(陈鹏飞)

