问:一台12英寸黑白电视的显象管坏了,电视机型号和显象管的型号均模糊不清了,请问如何代换新的显象管?
答:首先要选择合适的新的显象管。选择显象管的主要依据是旧显象管的外型尺寸以及它的电参数。外型尺寸一是显象管的偏转角,二是显象管的管径,选择新管时,最好偏转角和管径与原管要一致。显象管的电参数是从测量原管座上各脚的电压数据得到的,然后根据电参数去寻找参数相近的管子。一般国际上通用的12英寸显象管是7个管脚:1、5脚为调制极,通常均接地;3、4脚为灯丝,一般有11V或12V两个电压标准;2脚为阴极,当调节亮度电位器时,阴极上的电压变化范围为十几伏到一百多伏;6脚为加速极,电压为一百多伏或二百五十伏左右。如果是苏联的管子,7脚为聚焦极,调节聚焦电位器时,电压在0~400V内变化。另外显象管的阳极高压,不同型号的管子虽然会有差别,但是影响不大,因此可不必考虑。如果找不到电参数接近的显象管,也可以调整原电视机电路的灯丝回路的带*号的电阻和加速极回路中的分压电阻,使原电路符合新管的要求。(朱家林)
问:录象机放象时怎样与电视机连接?
答:录象机放象时和电视机连接方式有两种:它和普通电视机连接时,将录象机的射频输出(RFO-UT)接到电视机天线插孔。此时要根据录象机输出射频信号频率的高低,将电视机调谐器调谐于甚高频(VHF)或超高频(UHF)的相应频道,即可得到比较满意的图象和伴音。对于带有视频输入(VIDEO INPUT)和音频输入(AUDIO INPUT)的电视机,可以将它分别连接于录象机的视频输出(VIDEO OUT)和音频输出(AUDIO OUT),就可得到更满意的图象和伴音。第一种连接用75Ω同轴电缆;第二种连接图象信号用75Ω同轴电缆,声音信号用音频屏蔽线。不论那种连接法,电视机调谐器都要避开当地能接收到的电视台频道。(靳连生)
问:有一台三洋12—T280U1黑白电视机,在修理时发现:行输出管和行输出变压器损坏。不知可用何种国产件代换?行输出管用3DD15代换是否可以?
答:就三洋12—T280U1型电视机而言,其行输出变压器可用北京电视配件三厂生产的BSH3110D或BSH3110C来代换。但要注意:原来三洋机上的行输出变压器T602是有10个接触点的,而BSH3110D或BSH3110C都只有8个接触点,在更换时,要将新的行输出变压器插在原来行输出变压器的1~8接触点上,躲开原来坏变压器的0和9两端点。0和9端点空着不用。
行输出管可用辽阳第一晶体管厂生产的3DD408或辽阳第二晶体管厂生产的C2233代换。如果使用3DD15代换,要测量一下它的C、E结最大反峰电压应大于180V才可用,最好是能大于200V。
3DD408和C2233的管脚排列顺序和外观如图所示。(屈梅)

问:一台黄山牌AH-6型12英寸黑白电视机,使用一段时间后,屏幕上出现数条由小黑、白点形成的垂直带子,好象下雨一样,请问这是什么原因?
答:这是由于高压包和高压硅堆的金属接点严重锈蚀,形成氧化层,造成接触不良所致。因为高压包输出的电压很高,且又是脉冲电压,所以稍有接触不良就会打火,使输出电路中寄生振荡随之增强,产生上述故障现象,故障严重时,把音量关死后还可听到“吱吱”声。
这种故障的排除方法比较简单,只需把硅堆取下,用酒精和砂纸除去氧化层,使之接触良好。(王心灵)
问:一台国产12英寸黑白电视机中的场输出管损坏。从管子上看出型号是CS11。但无法购到这种管子,也查不到有关参数。请问能否用其它型号的三极管代替?
答:CS11是塑封PNP型硅三极管。它通常与DS11组成互补管,用作黑白电视机中的音频功放或场输出管。CS11的主要电参数如下:P\(_{CM}\)=10W,BVCBO=100V,BV\(_{CEO}\)=30V,ICM=1A,h\(_{FE}\)=30~250,VCES≤1V。该管由国内陕西商县卫光电工厂生产。如果一时购不到CS11管,可用国产CD715(上无二十九厂)、CS12(商县卫光电工厂)等型塑封管直接代换。也可用3CD—202代替。由于CS11在电路中通常与DS11组成互补放大,因此选购管子时最好挑与DS11参数较为相配的(主要是h\(_{FE}\)、VCES等参数)。(王德源)
问:一台孔雀牌KQ—9B型黑白电视机,图象上下抖动,当把对比度关小时,抖动现象有所改善,但收看效果很差,请问这是什么故障?应如何检修?
答:从上面现象看,故障可能在公共通道部分,当接收强电视信号时,由于某级晶体管工作于饱和状态,致使同步头被压缩,信号失控,而产生图象抖动。在没有示波器检查这种故障时,可用万用表逐级测量各级的静态工作电压是否正常,特别是检查一下各级基极偏置电阻是否变值。(陈自成)
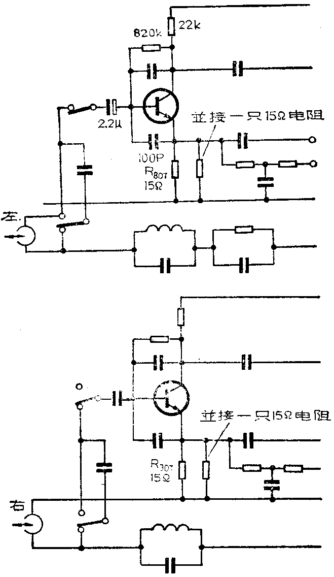
问:一台三洋M9940K立体声收录机,更换磁头之后发现音量变轻,但失真未见增大,这是什么原因?
答:更换录放磁头,一般要求新磁头与原磁头的阻抗、放音灵敏度、录放灵敏度反偏磁电流、录音电流等各项指标要尽可能接近。当然最好用与原配磁头型号相同的磁头代换。所述音轻现象说明新换上的磁头,其录放灵敏度比原配磁头小。解决的方法是:打开机壳(参照下图)找到左右声道磁头放大器的第一只晶体管,在该二管的发射极电阻R\(_{8}\)07和R907上各并联一只15Ω电阻。这样可使音量提高一倍(6dB)。但是这只是一种权宜之计。最好使用与原配磁头同型号的磁头代换。(李传钟答)

问:本人装置一部收音机,选用LA4100作功放级,当音量开大时中波低端出现断续的叫声,这是什么原因?如何解决。

答:LA4100的截止频率较高,从检波级泄漏出来随中频残余信号经LA4100放大之后向空间辐射中频电磁波。这个中频电磁波被磁棒天线收到又被变频级和中放级放大,形成一种特殊形式的正回授,引起啸叫。中波低端的频率接近中频,所以在低端这种啸叫也最严重。解决的办法是①使LA4100集成电路远离磁棒天线。②在LA4100输入端加一个低通滤波器(见上图)滤除残余中频。但这会牺牲一些高频端频响指标。(严毅答)
问:我有几只比较放大器,型号为BG307,是否能代替一般集成运算放大器在音响电路中使用?
答:一般说来不能代替。这是因为虽然比较放大器也是一种放大器,有很高的开环电压增益,但在电路形式和电参数上与集成运算放大器有许多不同之处,主要表现在如下几方面:
1.电源供电电压不一样。比较放大器的工作电压一般为+12V和-6V两种,而且其中有一脚是接地的。而运算放大器一般都是采用正、负对称电源供电,电源电压可在±3~±18V一个较大的范围内变化,无接地脚。
2.输出电压不一样。比较放大器的输出电压,低为-0.6V,高为3~4V,可与TTL数字电路电平相匹配,而运算放大器的输出电压具有正负极性而且对称,最大输出电压接近电源电压。
3.输入阻抗不一样。比较放大器输入阻抗较小,约为数十千欧,而运算放大器的输入阻抗一般都在数百千欧以上。
4.用途不一样。比较放大器一般用于对两个电压进行比较,输出为高、低两个状态。而运算放大器既可用于各种模拟运算电路,也可用于比较两个电压大小的电路。
两者相同之处是都可以用来比较两个电压的大小(不论是微弱信号还是较强信号),因此用于某些控制系统中的运算放大器,如温控、光控等电路中的运放电路,尚可用比较放大器来代替,但电源电压应根据比较放大器要重新考虑。
问:我手头有几只结型场效应管,准备将它设计安装在高传真扩音机的输入级,以提高扩音机的输入阻抗。但这几只管子的质量好坏我不清楚,我身边只有一块万用表,能否用它对这种管子进行简单的好、坏判断?如何判断?
答:可以用万用表作一个简单判断。方法如下:将万用表置于R×IK档,对于3DJ型N沟道场效应管来说,①将万用表黑表笔接栅极G,红表笔先后接源极S和漏极D时,其PN结均为正偏,其阻值应为几千欧。如果阻值无穷大,说明极间已开路损坏了;当用万用表红表笔接G极,用黑表笔先后接S和D极时,其PN结为反偏,测得的阻值均应为无穷大,否则就是漏电流太大或极间击穿了。②用万用表红表笔接S极,黑表笔接D极时,其阻值应约为一、二百欧姆,然后用手指去碰触G极(注意此时手不要碰到D和S极),万用表指针应往回偏(一般来说回偏越大,管子的跨导越大),其阻值约停留在10~100千欧之间。如果指针不回偏或回偏太小,此管也不能使用。对于3CJ型P沟道场效应管,其PN结的方向与3DJ型管正相反,因此测试时应将表笔的位置互换,测得的结果应和上面一样。(以上鲁令年答)