钯栅——金属、氧化物、半导体场效应晶体管(P\(_{d}\)—MOSFET)氢敏器件,以下简称Pd—MOS,是一种用来检测氢气的新型敏感器件。
结构及工作原理
“P\(_{d}\)—MOS”是一个用钯薄膜作为栅极的N沟道增强型的MOS场效应晶体管,其结构如图1所示。

当“P\(_{d}\)—MOS”与环境中氢气接触时,氢分子在钯膜的外表面被吸附并分解成为吸附氢原子,这些氢原子透过钯膜到达Pd—S\(_{i}\)O2界面,并形成电偶极层,改变了钯与二氧化硅的功函数差,功函数差的变化可从器件源、漏间电压V\(_{DS}\)的变化反映出来。因此,根据VDS的变化可以检测出氢的存在及其浓度的大小。
为了提高器件的稳定性和响应速度,器件需在恒温(150℃)、恒流(100μA)的条件下工作。因此,氢敏器件是由氢敏元件(P\(_{d}\)—MOSFET)、加热元件(RH)和测温元件(D\(_{T}\))集成而成,其内部电路见图2所示。

氢敏器件暂用14脚金属管座,其外形尺寸及管脚排列见图3。

基本特性
对氢响应特性 在150℃恒温条件下,P\(_{d}\)—MOSFET与一定浓度的氢气接触时,其源漏电压VDS将随时间而变化,其特性如图4所示。图中,V\(_{OSO}\)为接触氢气前源漏电压;VDSH接触氢气后达到稳定时的源漏电压;ΔV\(_{DS}\)=VOSO-V\(_{DSH}\),为响应值;tres为源漏电压变化0.9ΔV\(_{DS}\)所需的时间,称为响应时间;trec为源漏电压恢复(1-1e)ΔV\(_{OSO}\)所需的时间,称为恢复时间。

灵敏度 与一定氢气浓度相对应的响应值,称为灵敏度。灵敏度曲线见图5所示。由图可见,氢浓度为数个PPm时,氢敏器件的响应值也可达到10mV以上。

选择性 氢敏器件的选择性好,除对氢气敏感外,对其它可燃气体如酒精、汽油、烟雾、丙酮、丙烯、丙烷、CO、CO\(_{2}\)、CH4、SO\(_{2}\)、C4H\(_{6}\)、丁烷、煤气、纯Ar、N\(_{2}\)等均不敏感。
稳定性 “P\(_{d}\)—MOS”对同一浓度标准气样,24小时连续工作,响应值最大相对误差≤±10%。
“P\(_{d}\)—MOS”在正常工作条件下,间断工作寿命≥2000次,连续工作≥3000小时。
应用
在易燃易爆的气体中,氢气是最危险的气体。由于氢气是化工、轻工、医药、电子、冶金和燃料等各部门广泛应用的一种工业气体,同时,氢气又是一切有机物和大多数无机物的成分之一,这些物质在老化、裂解等演变过程中会产生微量氢气。因此,在氢的生产、储存、运输、使用场合以及为获取有关物质的演变情况都需要对氢气检漏、检测报警,氢敏器件具有的特性为此提供了简便的手段。

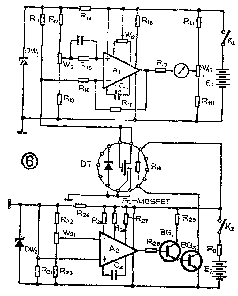
1、氢漏检测仪 电路见图6。当氢敏器件与氢气接触时,其源漏电压V\(_{DS}\)发生变化,这一变化量经运放块A1放大后由电流表指示出来。运放块A\(_{2}\)作为电压比较器,将测温器件DT上电压值与W\(_{21}\)上取得到的“开门”电压比较,再通过BG1、BG\(_{2}\)组成的开关电路控制加热元件RH上的电流、达到恒温控制的目的。在运放块A\(_{1}\)的输出端加一级声、光报警电路,就可以在氢气浓度达到预警值时,进行报警。

2.电力变压器早期故障诊断仪 工作中的电力变压器出现故障时,氢气就是主要的征兆性气体,随着故障的严重程度,变压器油中氢的含量上升。应用“P\(_{d}\)—MOS”制成的电力变压器早期故障诊断仪电路见图7。变压器油产生的氢气经过高分子透气膜进入密封气室。“Pd—MOS”将气室中氢气浓度变化转变成源漏电压的变化,经测量电路非线性放大后用仪表指示、记录下来。当氢气浓度达到预定值时,发出预警信号。由于ΔV\(_{DS}\)—P4曲线的非线性,当氢气浓度大于1000PPm时,器件的分辨率较低,采用非线性放大器的目的就是为了提高分辨率的。(张秋江 崔华坤)