问:磁带录象机的类型有哪些?
答:一般来讲磁带录象机有两大类型,横扫描录象机和斜扫描录象机。横扫描录象机有四个录象磁头,这四个磁头安装在一个磁鼓上,当磁带走过磁鼓时,就在磁带上沿着与磁带运行方向垂直的方向录下磁迹,这类录象机价格较贵,一般用于广播电台,而且它采用的磁带也较宽,多用2英寸宽磁带。斜扫描录象机也叫螺旋录象机,它在固定的转鼓内装有一个或两个旋转的磁头,当磁带运转时,磁头斜着在磁带上扫描出磁迹。这类录象机价格比较便宜,多用于闭路电视系统和家庭。现在斜扫描录象机以采用盒式磁带为佳,并且采用宽度为3/4英寸和1/2英寸等类规格磁带。家庭最好选用体积小、重量轻的1/2英寸盒式磁带录象机,请注意1/2英寸盒式录象机里有大1/2英寸和小1/2英寸之分,它们之间盒式磁带不能互换。另外要注意磁带录象机的定带方式又可分为C绕带式、Ω绕带式和M绕带式等。(靳连生)
问:我有一台昆仑牌B3110A型电视机,开机后,隔一会儿总有细网纹出现,然后随着“喀拉”一声响,同时屏幕上一闪就一切正常了。这种现象极有规律地反复出现,不知是什么原因造成的?如何自修?
答:出现这种现象的故障点可能有两处:一处是与显象管的石墨层相连的接地簧片没有很好的接触上;另一处是高频头中的混频管被自激了。
首先检查接地簧片。在开机一段时间后,显象管的石墨层上的电压能高达一万二千伏左右,这时,显象管石墨层的内壁和外壁组合起来相当于一个滤波电容,将这上万伏的高压电通过接地簧片实现对地放电。如果接地簧片与石墨层不能良好地接触,则石墨层上的电压不但放不掉,反而要干扰图象,造成细网纹出现。随着石墨层上电荷的积聚,达到一定程度要出现打火放电现象,这时能听到的“喀拉”声和图象闪就是打火造成的。这种现象随着电荷在显象管的石墨层上的不断积聚、打火、再积聚、再打火,而极有规律地出现反复。因此,接地簧片一定要和显象管良好的接触上。

如果在检查了接地簧片后,故障仍然出现,就可以考虑到是高频头中的混频管被自激了。晶体管使用久后,它的一些特性参数要有变化,由于混频管的工作频率较高,它的某些已变化的参数与混频管的外围电路配合很容易产生自激,也就是产生一个自振荡信号,干扰电视信号,产生细网纹。但是如果把混频管换下来后,用万用电表很难检查出,这是因为产生自激的原因只与混频管的一些变化了的参数有关,而混频管本身只是有些老化,但并无损坏,更换一只新的混频管后,就可消除自激。对于B3110A型电视机的高频头混频管可用3DG56或3DG84来代换。但要特别注意的是这两种管子是四个管脚,在更换时要当心它们的管脚排列位置,不要接错。
3DG56和3DG84的管脚排列顺序和外观如上图所示。(屈梅)
问:有一台飞跃9DS4型电视机的高压整流管损坏。由于目前这种电子管很难购到,因此想用高压硅堆来代替,不知可否?代换时应注意什么问题?

答:9DS4型机中的高压整流管是1Z11。高压硅堆完全可以代换它。不过因为两者的安装方法不同,因此不能直接代换。通常安装硅堆最好用专门的绝缘支座(常与行高压包连体),但这样做太麻烦。比较简单而又收效快的方法是:先焊下废1Z11的管帽,再找φ0.4和φ0.9毫米左右的铜线各一条。将这两条铜线分别焊在12KV普通型硅堆的两头。其中φ0.4焊硅堆阳极;φ0.9焊硅堆阴极。然后把管帽套在φ0.4的铜线上,使管帽与硅堆阳极端紧紧接触。最后将多余铜线剪掉,将铜线与管帽焊牢即可。如图所示就是加工完的硅堆示意图。注意在焊接时要力求每个焊点都光滑牢靠,而且焊锡不能太多。以免产生高压放电现象。使用时,只要将硅堆象1Z11那样插入原管座的第1或第5脚和帽座中就行了。(王德沅)
问:波兰625型电视机,屏幕上出现了喇叭状光栅,如图所示,请问这是何原因?怎样排除?

答:一般来说可能是电源部分的故障。该机是半波整流,要求滤波电容器的容量要大,当滤波电容器开路或容量变小时,会使稳压电源的纹波增大,电源纹波增大后,使偏转线圈中电流除锯齿波外,还加了一个50Hz的正弦波,这个正弦波电流产生的附加磁场,使光栅产生喇叭状。遇到这种故障,可检查滤波电容C903是否虚焊和内部开路,如果无法购到原型号的电容器,可选用30μF/350V的电解电容器。(王森林)
问:一部收录机面板上有附图所示的一个标记。不知是什么意思,请解释一下。
答:所问标记是图形式均衡器(GRAPHIC EQUALIZER简称GEQ)的意思。标有这种标记的收录机,机内有一个可以直接显示频响特性的多频率音调控制电路。一般设5~9个频率控制点,可以对其中任何一个(或几个)进行调节,可提升或衰减±10dB,调整某一频率时对其他频率影响很小。能够有效地突出或削弱某一个或几个频率。使用这种均衡器可以根据听音环境及各人爱好不同获得最满意的听音效果。

常见的GEQ有5个频率点,各频率点满足下面关系式:f\(_{2}\)=Xf1,f\(_{3}\)=Xf2,f\(_{4}\)=Xf3,f\(_{5}\)=Xf4,X一般取2~4。例如夏普GF-700ZD,QT-90ZG型机,f\(_{1}\)=100Hz,X取3.3,5个频率点分别是100Hz,330Hz,1KHz,3.3KHz,10KHz。而GX-250ZD机的X取4,f1=63Hz,5个频率点分别是63Hz,250Hz,1KHz,4KHz,16KHz。GEQ电路一般都选用直线式滑杆电位器,依照频率由低到高的顺序从左向右依次排列。并在旁边标注分贝值。当所有电位器处于中间位置时,表示频响特性平坦。向上调节是提升,向下调节是衰减。从电位器钮的位置可以直观地看出放音频响特性,称之为图形式均衡器。
问:录放磁头的交流阻抗和直流电阻有什么区别?怎样测量?
答:磁头的交流阻抗是在规定的测试源率和额定电流条件下,磁头两端的电压与电流的比值。在直流的情况下,磁头线圈的电抗分量为零,只有电阻分量,称之为直流电阻。磁头的阻抗与流过电流的频率有关系,频率越高,阻抗越大。磁头的直流电阻是一个恒定值,只与线圈的材料和线径有关。
磁头阻抗是录放磁头各项性能中最重要的一项。也是更换磁头的主要依据之一。如果更换的新磁头与原磁头阻抗相差较大,对整机的录、放音性能影响就很大。因此更换磁头之前应该了解磁头的阻抗值。

附图是测量磁头阻抗的接线图。图中R取10Ω,信号发生器输出1KHz音频电压,使毫伏表2的指示为1mV,此时流过磁头线圈的电流为I=U\(_{2}\)/R=0.1mA。毫伏表1的读数为U1。则磁头阻抗为Z=U\(_{1}\)/I=RU1/U\(_{2}\)=10U1/U\(_{2}\)。
不具备上述仪表的业余爱好者只能用万用表测量磁头的直流电阻,由于各厂家所用的材料及线径不同,很难准确地换算成交流阻抗。但交流阻抗与直流电阻之间有一定的关系(见下表),虽不十分准确,但能满足业余爱好者要求。应该注意,确已磨损的磁头可以用万用表的欧姆档测量其直流电阻,新磁头用万用表测其直流电阻会被充磁造成失真及声小,被充磁的磁头在装机之后,必须用消磁器给磁头消磁。

问:以下三种立体声收录机的录放磁头磨损(夏普GF-6060X,皇冠牌CSC-840及港产新华牌),请问用什么磁头代换?
答:所问三种立体声收录两用机的录放磁头均可用成都无线电七厂生产的RS-1251型录放磁头代换。RS-1251录放头的主要技术性能如下:交流阻抗:850Ω(1KHz)。直流电阻:215Ω。录音灵敏度:-72dB。偏磁电流:400μA。录音灵敏度:-78dB。(以上徐雅国答)
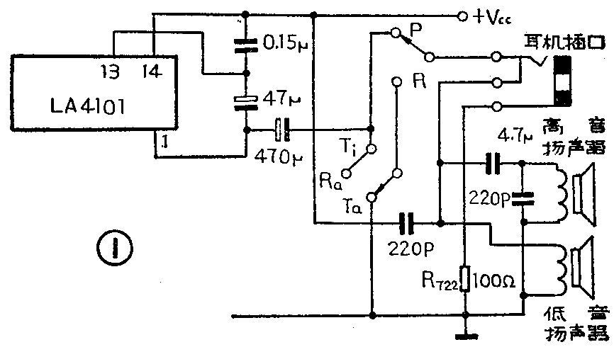
答:图1为三洋M2429-2F型收录机功率放大器的局部电路,从图中可见外接耳机插孔与公用地线之间有一只保护电阻,原电路图中标注为R\(_{722}\),阻值为100Ω。它是用来保护耳机的。如将外接耳机插孔当做外接扬声器插孔用,必须将这只电阻拆掉(或短路也行),使插孔的外壳直接接到公用地线上。这样外接耳机插头接入时,内部扬声器自动断开,外接扬声器得到全部音频功率。该机最大输出功率为2.5W,因此外接扬声器可以图2所示为参考。低音扬声器可选用6.5英寸橡皮边扬声器;高音扬声器可选用3W2.5英寸高音扬声器。(季正华)

