电路特点
佳丽彩(天虹)牌彩色电视机的电源电路是采用可控硅整流和稳压,电子滤波,并没有过载保护电路。其主要特点有:(1)电路简单,省去电源变压器,体积小;(2)效率高,在90%以上;(3)稳压范围大,在100~300V范围内能正常工作;(4)过载保护电路灵敏;(5)电源与负载之间没有反馈关系,调整及检修都比较方便。
电路分析
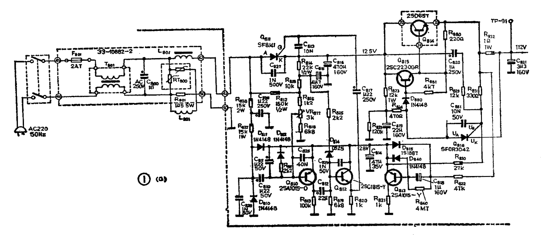
1.交流输入电路:这部分电路是由高频脉冲抑制电路T\(_{8}\)01、C800、L\(_{8}\)01和消磁电路RT800(热敏电阻)、L\(_{9}\)01(消磁线圈)组成的,其中T801还具有防止浪涌电压破坏可控硅整流器的作用。
2.整流及稳压电路:这部分电路是由可控硅Q\(_{811}\)、电容C813、C\(_{815}\)、C816及电阻R\(_{814}\)、R815、R\(_{816}\)、R818、VR\(_{817}\)组成,其中大功率可控硅Q811是电源的核心元件,可控硅导通时,对C\(_{816}\)充电,截止时,由C816向负载及R\(_{814}\)、R815、R\(_{816}\)、VR817缓慢放电,这样在电容C\(_{816}\)两端可得到脉动的直流电压,从图1(a)可以看出:当交流电压的正半周加到可控硅的阳极A,同时还有适当幅度的正触发脉冲加到可控硅的控制极G时,可控硅导通,并且阴极k有电压输出;当交流电压负半周时,可控硅截止,阴极K没有电压输出,这样就形成了半波整流。如果适当地控制触发脉冲的相移角α,就能改变可控硅的导通角θ,从而改变整流输出电压。我们假设加在可控硅阳极的交流电压有效值为UA,整流输出的电压为U\(_{k}\),则可以用这样一个数学式子表达它们之间的关系:
U\(_{k}\)=\(\frac{1}{2π}\)∫πα\(\sqrt{2}\)UAsinψdψ
=0.225U\(_{A}\)(1+COSα)
= 0.225U\(_{A}\)(1-COSθ)
其中α+θ=π
从上式可以看出:当输入电压U\(_{A}\)变化时,只要使触发脉冲的相移角α或可控硅导通角θ作相应地变化,就能保持输出电压UK的稳定,这就是稳压的基本思想。在此电路中、调整VR\(_{817}\)可以调整相移角α的大小,从而调整电源输出电压112V。
3.触发脉冲形成电路:交流电压经电阻R\(_{826}\)和R827分压后送到由D\(_{81}\)0、D811组成的双向限幅器中去限幅,在D\(_{81}\)0的负极测到的电压波形如图2(a)所示,该电压向电容C810充电,然后经VR\(_{817}\)、R818放电,使Q\(_{81}\)0的基极电位不断下降,当降低到Q810导通电平时,Q\(_{81}\)0导通,Q810基极电压波形如图2(b)所示,集电极电压波形如图2(c)所示,从Q\(_{81}\)0集电极出来的电压再经C812、R\(_{819}\)组成的微分电路,微分成尖脉冲,如图2(d)所示,这个尖脉冲再经过射随器Q812输出去触发Q\(_{811}\),图2(e)是Q811阳极的波形。这部分电路的主要功能就是为可控硅Q\(_{811}\)的控制极提供一个合适的触发脉冲,同时它还可以稳定输出电压。

4.电子滤波器:这部分电路是由大功率管Q\(_{814}\)、Q815和D\(_{88}\)0、R833、C\(_{819}\)等组成。主要功能是将可控硅Q811输出的125V电压滤除纹波并降成112V。Q\(_{814}\)与Q815组成一个复合管,其目的是增加晶体管的电流增益及电流的稳定度。 R\(_{823}\)、R833、R\(_{824}\)、C819是复合管的偏置元件,使复合管处于放大状态。由于R\(_{833}\)、C819的时间常数很大,C\(_{819}\)充满电压后,其端电压基本不变,即调整管Q815的基极电压基本不变,因此,即使复合管集电极上的125V电压有波动,基极电压仍保持恒定,经射极输出的直流电压的纹波电压就基本上得到滤除。
5.过载保护电路:此电源有两个过裁保护电路:一是用快速可控硅Q\(_{816}\)控制电子滤波电路;二是由晶体管Q813控制触发脉冲形成电路。下面分析一下它们的工作过程:(1)Q\(_{816}\)的保护作用:在电路正常工作时,Q816处于截止状态,Q\(_{816}\)的阳极电压UA为120V,阴极电压U\(_{K}\)为112V,控制极电压UG为110V,当电源输出端出现短路性故障时,电压U\(_{k}\)、UA及D\(_{88}\)0的阳极电压均迅速下降为零,D880截止,因而使晶体管Q\(_{814}\)、Q815也截止,这样就切断电源的112V电压输出。另外,当输入的交流电压突然升高时,可控硅Q\(_{811}\)整流输出的125V电压也突然升高,这个变化的电压,通过C820、R\(_{829}\)使可控硅Q816的控制极电压U\(_{G}\)升高,Q816导通,从而切断112V电压输出。可见,这一保护电路具有过压和过流保护作用,又称电子保险丝。(2)Q\(_{813}\)的保护作用:当整机正常工作时,Q813的基极电位约为30V,发射极电位约为28V,因此,Q\(_{813}\)处于截止状态,D815也截止,这时,对触发电路的工作没有影响。当112V输出端的负载出现短路性故障时,Q\(_{813}\)的基极电位和D815的负极电压迅速下降为零,Q\(_{813}\)和D815迅速导通,使触发脉冲形成电路中的Q\(_{81}\)0和Q812的工作电压也下降为零,这样触发脉冲形成电路就停止工作,因而使整个电源也停止工作。此电路只起过流保护的作用。R\(_{832}\)是这两个保护电路的过流取样电阻,正常压降在0.35~0.45V范围内。
整个电源正常工作时,各管的正常电压如表1所示。

常见故障
该电源设计基本上合理,只是其中的某些元件(特别是早期生产的机器)质量较差,常发生一些故障,归纳一下有以下几种:
1.电源不能启动,荧光屏无光且无声
(1)检查交流保险丝F\(_{8}\)01是否烧断:如果F801烧断了,最大的可能是可控硅Q\(_{811}\)短路或热敏电阻RT800短路,而行扫描出现短路性故障的可能性比较小,因为当保护电路正常工作时,并且Q\(_{811}\)、RT800也正常,即使行扫描出现短路性故障,F\(_{8}\)01也不会被烧断。(2)检查电阻R812是否开路,R\(_{812}\)是电源的启动电阻,在开机的瞬间给Q810提供一个交流偏压,使Q\(_{81}\)0正常工作,使整流器启动。此外,R812对输出电压也有影响,R\(_{812}\)越大,则可控硅Q811的导通角越大,输出电压也增大,因此在更换此电阻时必须注意这一点。(3)检查电容C\(_{82}\)0是否击穿,因为当C820击穿时,Q\(_{816}\)导通,使Q814、Q\(_{815}\)截止,即电源不启动。(4)检查保护管Q813、Q\(_{816}\)是否击穿,如果这两管有一个击穿,则电源不启动。(5)检查取样电阻R832是否开路,R\(_{832}\)开路后,则电源无输出。
2.电源自动关闭,又自动启动,次数频繁
此电源的保护电路比较灵敏,当外来干扰或电源突然升高时,则电源自动关闭。当干扰过后又自动恢复,这是正常的。如果关闭、启动的次数频繁,则说明电源有故障,这是此电源的特有故障,引起这种故障的原因有以下几个;(1)R\(_{812}\)变值,使输出电压过高,例如:当R812大于300K时,可控硅整流输出的125V上升到160V左右,这时,保护电路经常处于导通状态,甚至还会击穿Q\(_{814}\),使输出端的112V电压大幅度升高,还会出现图象明显扭曲。(2)R832阻值变大,例如:当R\(_{832}\)增大至3Ω时,由于该电阻是Q813、Q\(_{816}\)这两个保护电路的取样电阻,当某种原因使负载电流增大,如:切换频段时,开关二极管电流增大,则R832的两端压降增大,保护电路的动作灵敏度增加,使电源经常出现自动瞬间关机和启动。(3)R\(_{83}\)0、R833变值或开路,二极管D\(_{88}\)0的反向电阻减少,R840开路等都会使保护电阻的动作灵敏度增加,造成自动瞬间关机和启动现象。特别是当R\(_{83}\)0、R833开路或变值时,可控硅Q\(_{811}\)的阴极电压125V、Q810和Q\(_{812}\)的工作电压28V以及电源输出端的电压112V均会有明显的下降。
3.哼声
早期生产的电视机,由于阻流圈L\(_{8}\)01的加工工艺很不好,其中的铁片夹不紧,当电流流过时就产生机振,发出哼哼声,电压越高,哼声越大,不少人把这种现象误认为电源滤波不良引起的。排除此故障的方法:一是更换新的L801;另外,也可将L\(_{8}\)01拆下,用台钳夹紧铁芯,然后再浸泡绿漆,这样处理后,基本上能消除哼声。
检修注意事项

1.维修前应确保底板不能带电,以防事故。2.检修时,最好用50W约300Ω的电阻作假负载,以便区别故障是否在电源内。3.可控硅的检查方法:先用万用表10K档分别测可控硅的阴极K和控制极G的正反向电阻,正常时,阻值应为无穷大。再按图3所示的方法,万用表仍放在10K档,正表笔接可控硅阴极K,负表笔接阳极A,控制极接3V电池正极,电池负极再串接一个10~50K的电阻到可控硅的阳极A,如果在刚接好时表针迅速上摆,然后又逐渐下降,则说明可控硅有触发能力。有关可控硅的主要参数可见表2。(冼有佳)

