STF465是一种双通道厚膜功放集成电路,外形如图1所示,内电路如图2所示。它的典型工作状态为:电源电压为±28伏,当负载R\(_{L}\)=8Ω,信号源内阻Rg=600Ω时,它可输出2×30W正弦平均功率,频响20Hz~20KHz,谐波失真为0.08%。当电源电压为±25状时,在负载R\(_{L}\)=4Ω,失真0.2%的情况下输出功率可达2×40W(1KHz)。当输出功率为1W时频响可达到10Hz~100KHz。它的输入阻抗为32KΩ。


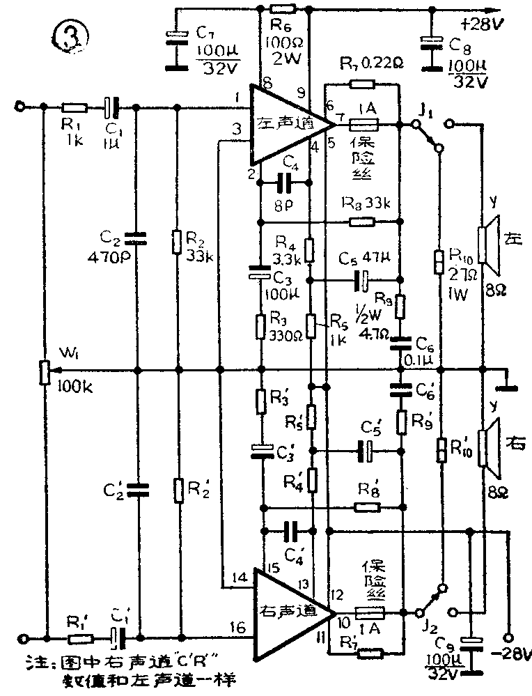
图3是STK465典型应用电路,W\(_{1}\)是声道平衡电位器,C1最好选用无极性电容器,以减小失真,C\(_{2}\)用来旁路杂散高频信号,容量不可过大,以免造成高频信号损失。C4用来防止自激,如无自激发生可以不用。R\(_{6}\)、C7是差动放大器的去耦电路。R\(_{3}\)的大小影响放大器的增益,可在几十至几百欧姆范围内选择。R8是反馈电阻,改变它的阻值可以改变放大器的输入灵敏度。当R\(_{8}\)=33KΩ时输入灵敏度为500mV,当R8=15KΩ时输入灵敏度降为1V。R\(_{7}\)为限流电阻,可取0.2~0.3Ω,如找不到合适的电阻,可以用万用表测量一段10Ω电阻丝,再截取10Ω的\(\frac{1}{50}\)一段就是0.2Ω。R9如无4.7Ω电阻也可以用10Ω电阻代替。

该电路是一种OCL放大器,为使中点电压为零,输入级采用了差分放大器,并加了恒流源电路,以使零点漂移最小。但接通电源的瞬间,中点电压仍无法立即稳定在0V,这样就会有直流成分流过扬声器。为保护扬声器安全,笔者设计了一个软启动电路,它由继电器J、W\(_{2}\)、R11、R\(_{12}\)、C13及可控硅SCR组成(见图4)。当功率放大器的正负电源线与整流电源接通时,软启动电路也同时接到+28V上,由于W\(_{2}\)的存在,限制了C13的充电速度,可控硅SCR截止,继电器J不能吸合,放大器的输出端通过继电器的常闭点接到负载电阻R\(_{1}\)0上。当C13正极电位上升到一定数值的时候,可控硅导通,继电器动作,放大器的输出端通过继电器的控制接上了扬声器。笔者试验,接通电源1~2秒钟放大器末级中点电压即可稳定在0V上。延迟时间可用S=R·C式计算,其中R即W\(_{2}\),其单位为Ω, C即C13其单位为法拉。当C\(_{13}\)、W2、R\(_{11}\)、R12取图4所标数值时,延迟时间为1.2秒。图4中可控硅选用3A以下的,也可用大功率三极管代替,基极接于C\(_{13}\)正极,选用多大功率的管子要看继电器规格。这里使用IZC—1M型密封继电器,触点电流要求1A以上。为防止关机时给放大器带来干扰,软启动电路设置了泄放二极管D;电源变压器初级设置了吸收电路(R13、C\(_{12}\))。

图5是印板图,除电源变压器外整流滤波、软启动电路及放大器均安排在同一印板上。焊接之前先要检查电容器有无损坏,尽量选用漏电小的电容器,电阻也要事先测量一下,阻值与图3所标数值是否相符。焊接集成电路可采用下述方法:①首先弄清楚管脚的顺序,将集成电路上的标记面向自己,左下角有一个凹坑(图1),靠近此凹坑的为第1脚,顺序数下去为1~16脚。②按照图5所标的管脚顺序,将集成电路从铜箔的背面插入孔内,参考图6将管脚的端部折弯焊在相应的铜箔上。③也可以参考图7将双排16脚集成电路插座从中间截成两半,把两半插座并排焊在1~16插孔内,这样集成电路插拔更为方便。



图5上的保险丝座可以自行制作,也可以买现成的直接焊在印板上,保险丝可选用市售1A快速熔断丝。

STK465正常工作时应加散热器,笔者使用的散热片形状如图8,由于散热面积大,体积可以小一些。如果不凑手也可用面积为100mm×180mm的3mm厚铝板当做散热片。STK465的背面涂有一层硬质绝缘膜,因此无须考虑散热器与集成电路各管脚的绝缘问题。如果在集成电路基板和散热片之间涂上一层硅脂,散热效果会更好。STK465基极极限温度为105℃,正常工作时摸到管壳有些烫手是允许的。(李江)