鉴频器的功能是从调频信号中解调出调制信号,对普通调频收音机来说,即解调出音频信号;对立体声调频收音机来说,则解调出立体声复合信号。鉴频器对整机谐波失真、调幅抑制有重要影响,对立体声分离度、立体声点灯灵敏度、信噪比等也有一定影响。如何合理地选用器件和元器件参数,以及怎样精心调试,是实用中的关键问题。
一 种类与要求
调频信号的解调方法很多。按解调原理可分为斜率鉴频、正交相位鉴频、脉冲计数解调几大类;按电路形式则有斜率鉴频器、相位鉴频器、比例鉴频器、移相乘积鉴频器、陶瓷或晶体鉴频器、RC解调器、锁相环鉴频器、脉冲鉴频器和计数鉴频器等。不过,目前在调频广播接收机中,分立元件电路普遍采用比例鉴频器,集成电路则多数采用移相乘积鉴频器。这两种鉴频器有通带宽、失真小、电路简便等优点。比例鉴频器自身又具有限幅特性,可降低前级对末级中放限幅性能的要求;同时,比例鉴频器的输出阻抗较低,其输出端的频率响应性能较好,适应立体声复合信号对频响和相位特性的要求。少数高级立体声接收机采用集成锁相环鉴频器等新型电路,可改善整机对于小信号的接收能力。
在调频广播接收机中,对鉴频器有如下要求:
1.通带宽度至少应为中频带宽的1.5倍,且希望越宽越好,一般应大于±150KHz。鉴频器有图1所示的频率特性,惯称S曲线,其横座标表示调频波的瞬时频率变化,即频偏的变化;纵座标表示鉴频器检出的调制信号电压幅度,也即鉴频器的输出电压随着频偏的变化。图中△f与-△f频率范围之和称为鉴频器通带。就调频广播的最大频偏来说,鉴频器通带达到±75KHz就够了。但事实上,由于通带的两端,即S曲线近拐点处,带内频率特性的线性度明显下降(直线段出现弯曲),会引起立体声分离度的降低和谐波失真的增大,同时,考虑到调试误差和整机长期使用中的变化,中频选择性曲线的中心频率会与S曲线中点频率不一致(要求两者均为10.7MHz),故一般宜放宽到上150KHz以上。

2.通带内的线性度要好,线性度越好,解调波失真越小。
3.鉴频器的传输系数要大,即检波效率要高。检波效率可用S线过f。点的中间线性段斜率△u/△f表示,斜率越大,效率也越高。但斜率大,鉴频器通带宽度变小,表明检波效率与保真度有一定矛盾,即实用中需将检波效率与带宽折衷考虑。
4.鉴频器输出端的低频频率响应特性要求宽达53KHz以上,且在53KHz范围内相移要小。这是立体声接收机对鉴频器的特殊要求。否则,立体声副信道差信号抑载调幅波的高音频调制成分幅度有损失或出现相移,将引起分离度下降。
二 比例鉴频器的工作原理
比例鉴频器由鉴频回路、检波、限幅元件及高频旁路元件构成,常用电路如图2所示。

图中,B\(_{1}\)既是前级限幅器的负载回路,又与B2共同构成鉴频回路,它们都谐振在中频10.7MHz上。B\(_{1}\)与B2的耦合有电感耦合和外电容耦合两种,图示电路为通过L\(_{4}\)实现电感耦合。鉴频回路的作用是把调频波的频率变化转换成相应的振幅变化,以供后级进行检波;D1、D\(_{2}\)为检波器件,负责把已变成调幅波的调频信号进行检波,取出所需的调制信号;R3、R\(_{4}\)和C3、C\(_{4}\)是检波负载,R3,R\(_{4}\)又和C5一起组成限幅电路,一般R\(_{3}\)、R4取值为3.3~10KΩ。过大,会削弱比例鉴频器的限幅特性。过小,则会使检波效率降低。C\(_{3}\)、C4主要用来滤除检波后的10.7MHz中频载波,一般取200~470pF;C\(_{5}\)多取为4.7~10μF。C6是高频旁路电容,进一步滤除检波信号中的中频载波,一般取为100~330pF。R\(_{1}\)、R2(W\(_{1}\))主要用来改善上下两检波电路的对称性,从而改善限幅作用,提高鉴频器对寄生调幅的抑制能力,一般取值1~2KΩ。为便于调整上下两路的平衡,常将R2用微调电位器W\(_{1}\)代替。R5也是为改善上下两检波电路的对称性而设置的,取值约为33~100Ω。检波信号由AB两点间输出。
下面简述比例鉴频器的工作原理,从中可以理解上述对鉴频器的要求。
图2中设L\(_{1}\)、L2、L\(_{3}\)上的电压降分别为U·1、U·\(_{2}\)、U·3。由于L\(_{2}\)被中心抽头分成两半,所以对中心抽头来说,每半边电压各为\(\frac{1}{2}\)U·2,而L\(_{3}\)又是一端接于中心抽头,一端接于A点,因此图2可画成图3所示的等效电路。由该图可见,加于二极管D1、D\(_{2}\)上的电压分别为U·D1=U·\(_{3}\)+1;2U·2,U·\(_{D2}\)=U·3-\(\frac{1}{2}\)U·\(_{2}\)(C3、C\(_{4}\)对中频信号相当于短路,故C3、C\(_{4}\)上的中频电压降可以忽略不计)。在该电压作用下,两个二极管进行检波,检波电流在C3、C\(_{4}\)上形成的电压降为UC3、U\(_{C4}\)。由于D1、D\(_{2}\)顺性连接,使UC3、U\(_{C4}\)是同相的,C5两端电压则为U\(_{C3}\)+UC4,也即R\(_{3}\)、R4的串联电压为U\(_{C3}\)+UC4。而R\(_{3}\)=R4,由此可算出检波输出端电压U\(_{AB}\):
U\(_{AB}\)=UC3-U\(_{R3}\)
=U\(_{C3}\)-\(\frac{1}{2}\)(UC3+U\(_{C4}\))
=\(\frac{1}{2}\)(U\(_{C3}\)-UC4)

通过下面分析U\(_{C3}\)、UC4与调频波瞬时频率的关系,就能看清比例鉴频器的鉴频过程和鉴频性能。
首先,应注意L\(_{3}\)不是谐振回路电感,同时它又与L1是紧耦合(L\(_{3}\)的匝数较多,一般约为5~7匝),L3上的感应电压相位不受信号频率与回路谐振关系的影响,U·\(_{3}\)将一直保持与U·1同相位。在鉴频回路中,相当于通过L\(_{3}\)将L1上的信号无相位变化的转移到检波电路上去。次级回路L\(_{2}\)则是通过L4与初级回路进行互感耦合,在L\(_{2}\)上产生的感应电动势为E·M。这里应特别注意:L\(_{2}\)与C2构成并联谐振回路,E·\(_{M}\)并不是C2上的电压降U·\(_{2}\)。L2、C\(_{2}\)相对E·M来说,构成如图4所示的串联谐振电路。因为互感作用,E·\(_{M}\)与U·1是同相位,而E·\(_{M}\)在L2上产生感应电流I\(_{2}\),I·2与E·\(_{M}\)的相位关系由信号瞬时频率与谐振回路(指次级回路)谐振频率的关系所决定,这正是鉴频解调的关键。

先看f=f\(_{0}\)时,即输入的中频信号瞬时频率等于谐振回路L2C\(_{2}\)的谐振频率,谐振回路对信号电流呈纯阻性阻抗,则I·2与E·\(_{M}\)同相,也即I·2与U·\(_{3}\)同相。而I·2在C\(_{2}\)两端形成输出电压U·2,大家知道,电容上的电压降总是滞后于电流90°,故U·\(_{2}\)比I·2滞后90°,即U·\(_{2}\)比U·1滞后90°。根据前面分析。U·\(_{3}\)与U·1的同相关系是恒定的,则U·\(_{2}\)比U·3滞后90°。U·\(_{3}\)又是作用在L2的中心抽头与A点之间,将L\(_{2}\)上的电压分为上下两半边,也等效于将C2上的电压分为上下两半边,各为\(\frac{1}{2}\)U·\(_{2}\)。据此,可画出矢量图如图5(a)所示,合成电压U·D1=U·\(_{D2}\),因此,检波输出电压UC3=U\(_{C4}\),UAB=0。表明f=f\(_{0}\)时,即频偏为零时,鉴频器没有信号输出。

当f>f\(_{0}\)时,调频信号瞬时频率高于回路谐振频率,回路相对信号电流来说呈感性失谐,I·2与E·\(_{M}\)不再同相,I·2滞后于E·\(_{M}\)。对谐振回路来说,这种滞后关系不同于纯感(在纯电感上,电流总是比电压滞后90°),滞后的角度由谐振回路的相频特性决定,一般小于90°,但U·2与I·\(_{2}\)始终保持90°,所以U·2要按I·\(_{2}\)滞后于E·M的角度而顺时针转动同样角度,得到图5(b)所示的矢量图。于是合成电压U·\(_{D1}\)>U·D2,导致U\(_{C3}\)>UC4,则U\(_{AB}\)>0,鉴频器有正检波电压输出,且在鉴频器通带范围内,UAB的大小基本与信号频偏△f成正比,成比例的程度主要取决于谐振回路的相频特性。
当f<f\(_{0}\)时,则次级回路阻抗相对信号电流I·2呈容性,I·\(_{2}\)超前于E·M,使U·\(_{2}\)变为反时针方向转动一个角度,如图5(C)所示,合成电压U·D1<U·\(_{D2}\),导致UC3<U\(_{C4}\),则UAB<0,鉴频器有负的检波电压输出。
综上所述,如果以频率f为横座标,以调制频偏做自变量,以输出电压U\(_{AB}\)(也可记为U0)做为因变量,并记录在纵座标上,便可得到前图1所示的鉴频特性曲线。曲线两边被折弯,是因为受到谐振回路通带的限制。这个曲线因其形状如英文字母S,故常称为S曲线。如果将图2中的D\(_{1}\)、D2反接(同时C\(_{5}\)的极性也要反接),则会形成反S曲线。正反S曲线对鉴频器检波输出的交流信号说来是没有差别的,但检波输出直流分量相互反向,它将影响整机自动频率控制(AFC)电路的设计问题,对此我们将在辅助电路一讲中详细介绍。
三 比例鉴频器的限幅原理
比例鉴频器的限幅作用主要是靠C\(_{5}\)来实现的。先看不接入C5时的情况,当输入调频波的振幅增大时,U·\(_{1}\)、U·2、U·\(_{3}\)增大,U·D1和U·\(_{D2}\)必随之增大,于是UC3、U\(_{C4}\)增大,检波输出电压UAB=\(\frac{1}{2}\)(U\(_{C3}\)-UC4)也将成比例的增大(因为|U·\(_{D1}\)-U·D2|已成比例的增大),表明没有限幅作用。接上C\(_{5}\)以后,当调频波幅度增大时,引起UC3、U\(_{C4}\)增大,势必使C5两端电压增大。由于C\(_{5}\)的电容量很大,要使它的电压升高,必须有较大的充电电流。这个充电电流由鉴频器谐振回路B1\(_{2}\)供给,它使B1\(_{2}\)消耗的能量增加,以致回路的有载品质因数QL降低,U·\(_{1}\)和U·2变小,使U\(_{AB}\)得不到增大。如果是输入调频波的幅度又瞬时变小,此时U·1、U·\(_{2}\)减小,U·D1和U·\(_{D2}\)随之减小,UC3和U\(_{C4}\)也理应减小,但由于C5原充电在高电位,它将瞬间维持C\(_{3}\)和C4串联电压值不变,也即U\(_{C3}\)和UC4不变,保持鉴频器检波输出瞬间不受调频信号振幅起伏的影响,即起到了限幅的作用。这个瞬间的长短,主要取决于C\(_{5}\)向R3、R\(_{4}\)放电的时间常数,一般取(R3+R\(_{4}\))· C5=0.1~0.2秒,可使很低频率的调幅干扰,也不会使C\(_{5}\)两端电压变动。
上述比例鉴频器的鉴频效率平均为-20dB左右(相对调频信号30%调制度而言)。从初级回路热端上测量,能使比例鉴频器进入正常工作状态的最小输入电压为100mV左右。整机进入限幅状态时,比例鉴频器输出的检波信号有效值,相对30%调制度(22.5KHz频偏)时约为20~80mV;相对100%调制度(75KHz频偏)约为66~266mV。其中,输出信号的最小值是指鉴频效率低的电路,最大值指效率高的电路。当比例鉴频器用于立体声接收机时,鉴频器输出的导频信号幅度应能使立体声解码器正常工作(立体声指示灯点亮),导频信号占据的调制度为10%,可从鉴频器相对30%调制度检波输出值计算(×1/3),若不足以推动后组立体声解码器,可在解码器前加一级宽带放大器,但放大量应注意控制在不使检波信号最大值超过解码器的允许值,否则将使谐波失真急剧增大。

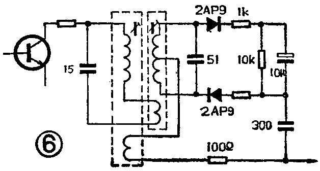
比例鉴频器电路还有一些变型形式,如图6所示,称为不平衡输出形式。该电路与图1典型电路相比,省掉了C\(_{3}\)、C4,并将R\(_{3}\)、R4合并为一个电阻。这种电路检波输出的直流电压不为零,而交流检波信号电压与图1电路相同,其鉴频原理仍是一样的。由于检波输出直流电压不为零,便于与调频头AFC电路配接,但寄生调幅抑制能力略有牺牲,常用于输出功率不十分大的便携式收音机。(高迺康)