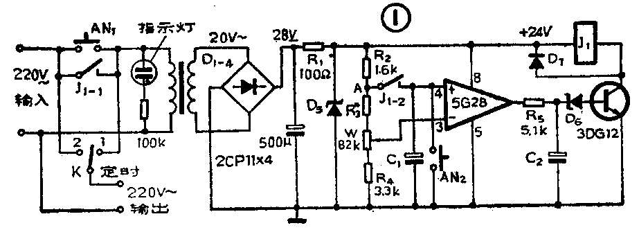
图1是要向大家介绍的连续可调定时电路。图中由于采用了高输入阻抗型的集成运放电路SG28,所以电路的定时可做到几十小时,并且从几分钟到几十小时范围内定时时间连续可调。另外,由于集成运放电路具有高开环放大倍数,所以该定时电路的比较控制及定时部分可仅由一只集成运放电路来承担,电路十分简单。图1电路在定时结束后,不仅220伏电源被切断,而且定时器本身的电源也被切断了。整个电路的功耗不到2瓦,可用于电视机、收音机、电褥子、台灯、电扇等各种小功率的家用电器及其它设备中作定时控制用。

工作原理:当开关K置于定时位置“1”时,按下按钮开关AN\(_{1}\),此时220伏交流输出电源和定时电路电源均接通。J1-2为继电器J\(_{1}\)的常闭触点,电解电容器C1即通过电阻R\(_{2}\)等开始充电。此时由于5G28的“+”输入端电位高于“-”输入端电位,5G28输出端正向饱和(约为23伏),稳压管D6被击穿,3DG12饱和导通,继电器J\(_{1}\)线圈通过电流,开始动作,因此常开接点J1-1吸合,维持220伏输出电源和定时电路继续接通,指示灯保持发光。同时常闭接点J\(_{1}\)-2释放,C1开始放电。C\(_{1}\)放电时间的长短与5G28的输入阻抗大小、电容器C1的容量大小及其漏电流大小有关。由于5G28为高输入阻抗型集成运放,其输入阻抗大于1010欧,因此C\(_{1}\)放电很慢,保证了长时间的定时。当C1上的电压下降到小于5G28“-”输入端的电位时,集成运放电路5G28工作状态发生翻转,输出端由正向饱和变为负向饱和(约为1伏),此时D\(_{6}\)不能击穿,晶体管3DG12截止,继电器J1线圈中的电流被切断,于是接点J\(_{1}\)-1释放,220伏输出电源及定时器电路电源均被切断,同时J1-2闭合。定时时间的长短通过电位器W来调节,当W滑臂调至最上端时,5G28的“-”输入端电位达最高值,C\(_{1}\)开始放电后放到此电位的时间也最短,因此定时时间最短;反之当W的滑臂调至最下端(即接近R4的一端)时,定时时间最长。C\(_{2}\)的作用是保证在J1-2释放时C\(_{1}\)上的电压能够充满(即达到稳定状态)。如果去掉C2,当按下AN\(_{1}\)后,J1线圈则马上通过电流开始动作,J\(_{1}\)-2马上释放,C1上的电压此时可能还很低。加了C\(_{2}\)以后,5G28虽然在AN1按下后输出马上正向饱和,但3DG12却不能马上导通,只有C\(_{2}\)上的电压大于D6及3DG12的be结电压之和时,3DG12才饱和导通,有了这一段时间就能保证C\(_{1}\)上的电压能被充满。C2的容量应取得比C\(_{1}\)大些。AN2的作用是,在定时控制时,如果因某种原因不需要再控制了,即可按下AN\(_{2}\),电容C1被短路迅速放电,5G28工作状态翻转,整个电源就被切断了。当被控制的设备不再需要使用定时控制时,可将开关K置于“2”位置,220伏交流电源仍被接通,而定时电路的电源此时是断开的。
元器件的选择与调试:集成运放电路应选用高阻抗型的。如果没有5G28,可选用F072、BG313等;如果没有高阻抗型的集成运放,也可选用通用Ⅲ型中偏置电流小I\(_{b}\)小一些的集成运放,如F007等,但此时相应的定时时间会有较大的缩短,不过可将C1的容量取大些,以弥补上述缺点。
5G28的管脚排列如图2所示。电容C\(_{1}\)应选用漏电流较小的钽电解电容。由于电容器的漏电流与其额定工作电压基本成正比,因此C1的额定工作电压应选小些的,只要大于24伏电源电压就可以。C\(_{1}\)的数值大小应根据定时时间需要而定,最大定时时间越长,C1的数值越大。当C\(_{1}\)取2.2μF、R3取 1.8千欧时,图1定时电路的定时时间为5分钟到5小时左右,此时C\(_{2}\)可取50μF;如果C1取100μF,C\(_{2}\)取220μF(C2一般用铝电解电容即可),最大定时时间可达到十几小时以上;如果C\(_{1}\)再取大一些,C2也再取大些,则定时可达到几十小时。稳压管D\(_{5}\)选用2CW21K,D6可选用废硅三极管的b-e结代用,稳压值在6~8伏之间即可。3DG12也可以用其它型号的3DG或3DK硅管代用,但其击穿电压及最大电流必须满足电路要求。继电器J\(_{1}\)可选用JZC-IM超小型中功率继电器,其线圈电阻为850欧。其它继电器,如JRX-BF-1等也可以选用。电阻R2、R\(_{3}\)、R4及电位器W的数值不要取得太大,以免增大C\(_{1}\)的充电时间,同时如果W阻值取小些,控制时间调节时会更方便些。另外它们的数值还应取得适当,它们的分压结果应能保证5G28“+”、“-”输入端的电压不要超过5G28的最大共模电压范围(5G28的最大共模电压在电源电压为±15伏时为±10伏),以免损坏输入端。

调试时,应根据自己的定时需要,先选取好电容器C\(_{1}\)的数值,然后把电位器W的滑臂调到最下端。先不接上J1和C\(_{2}\),用850欧电阻代替J1接入电路。将AN\(_{1}\)短路,接通电源,由于5G28的“+”输入端是开路的,所以运放电路输出低电平,3DG12集电极为高电平。然后将5G28的“+”输入端与A点短接一下,此时5G28工作状态发生翻转,输出端变为高电平,3DG12的集电极变为低电平,定时开始,直到5G28的工作状态再发生翻转,这一段时间就是最大定时时间。然后把W的滑臂调到最上端,根据最小定时时间需要选取R3阻值,显然R\(_{3}\)阻值越小定时时间越小(一般R3取300欧~1.8千欧)。由于C\(_{1}\)的放电特性曲线不是线性的,而是指数型曲线,因此可根据自己的定时需要,预先把电位器W滑臂在不同位置时对应的不同时间标记下来,使用起来就很方便了。定时时间调好后可用继电器换下临时加上去的850欧电阻,同时接上C2,此时电路应工作正常。如发生继电器的常开接点J1-1吸合不了,则应加大电容C\(_{2}\)的容量。该电路调试好后可安装在一个木盒中,按图中要求接上开关及插头等,使用起来是很方便的。(鲁令年)