本文介绍一种仅用一块CMOS数字集成电路和少量分立元件组成的振荡器,它能发出五种不同特征的声音,具有简单可靠、耗电少、体积小、不需调试等优点,可用于各种报警器、音响指示器、电子门铃、电子玩具等。
工作原理
电路见图1。集成块型号为CO33,它有六个非门,其中每两个非门与外接电阻R和电容C构成一个多谐振荡器,六个非门共构成三个振荡器。三个振荡器的电路形式相同,基本电路见图2。工作原理如下:设某瞬时非门b的输出端1输出一个正跳变(高电平),由于电容c两端的电压不能突变,所以非门a的输入端2也是高电平,而输出端3为低电平,因而电容c通过电阻R对地放电(3点为低电平,可视为地点),使2点的电位按照指数规律逐渐下降。当下降到非门a的转移电位时,非门a的输出由低电平变为高电平,使非门b的输出电平由高变低,电容C被反向充电,2点电位按照指数规律逐渐上升,当上升到非门a的转移电位时,非门a的输出电平又由高变低,非门b又开始输出高电平。这样,随着电容C不断地充放电,上述过程便周而复始不断进行,从而形成振荡。


根据图1所示参数,由非门3、4与R\(_{2}\)、C2组成的多谐振荡器的频率为1千赫;非门5、6与R\(_{3}\)、C3组成的振荡器频率为500赫;非门l、2与R\(_{1}\)、C1组成频率约为1赫的超低源振荡器。1赫超低频振荡器输出的脉冲,通过二极管D\(_{1}\)和D2分别去控制由非门3、4和非门5、6组成的两个振荡器,使其轮流工作,每0.5秒交替一次。这样,接在这两个振荡器输出端的压电陶瓷片就交替发出两种音调的声音。
按照通常设计,为了控制振荡器的开启和停止,必须用与非门或者或非门来构成振荡器,如图3。但这样一来,本机要使用两块集成块(因为一块CMOS集成块中最多只有四个与非门或者或非门),然而本机只用一块CMOS六非门,另加上两只二极管来控制两个振荡器的启停就行了,这正是本机在设计上的巧妙之处。当超低频振荡器输出高电平时,D\(_{1}\)截止,非门3、4组成的振荡器工作,输出1千赫音频信号,而D2导通,g点被箝制在高电平上,由非门5、6组成的振荡器停振。同理,当超低频振荡器输出低电平时,D\(_{1}\)截止,非门5、6组成的振荡器工作、输出500赫音频信号,而D1导通,f点被箝制在低电平上,由非门3、4组成的振荡器停振。各点的波形见图4。


本振荡器除了能输出两种频率交替的信号外,还能输出另外四种不同的信号。例如,将图1中的a点处断开,在任意一个选通端上加上高电平(接V\(_{DD}\)即+9V),则由非门5、6组成的振荡器停振,非门3、4组成的振荡器输出频率为1千赫的连续信号;同样,若在选通端上加上低电平(接VSS即接地点),则由非门3、4组成的振荡器停振,非门5、6组成的振荡器输出频率500赫连续信号。如果是连接好a点、断开C点,并在选通Ⅱ端加上高电平时,则由非门5、6组成的振荡器停振,而由非门3、4组成的振荡器则受超低频振荡器的控制,输出1千赫的断续信号;同样,如果是断开b点,并在选通1端加上低电平时,由非门3、4组成的振荡器停振,而由非门5、6组成的振荡器受超低频振荡器的控制,输出500赫的断续信号。各种信号的情况详见附表。
序号 断开点 选通端电平 输出信号
1 500Hz与1KHz交替
2 a 高 1KHz连续
3 a 低 500Hz连续
4 c 选通Ⅱ高 1KHz断续
5 b 选通Ⅰ低 500Hz断续
制作与调试
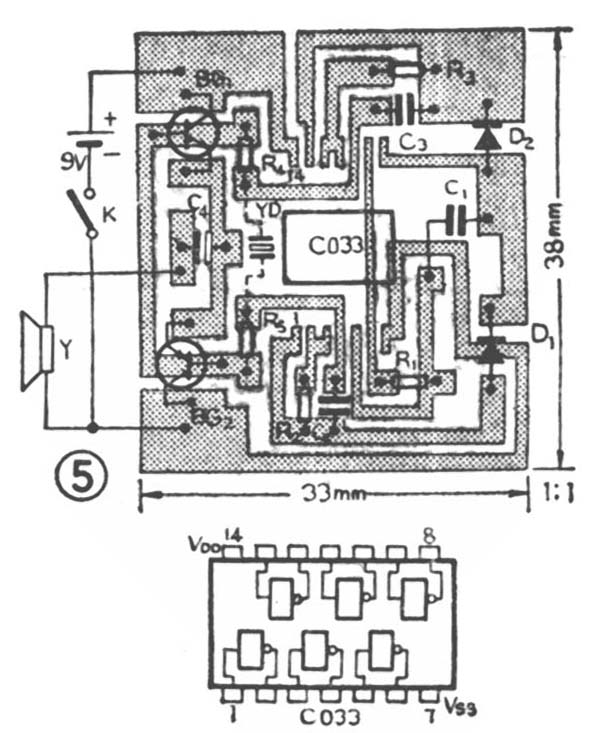
电路板及集成电路外引线排列见图5。集成电路为14线扁平封装外壳,应焊接在印刷电路板有铜箔的一面,其余的零件都安装在另一面。焊接集成电路时,电烙铁的外壳应接地,或者用暂时拔掉电烙铁电源插头的办法去焊接,以免损坏集成电路。

本机只要安装焊接无误,接通电源就能工作。改变各振荡器的电阻R和电容C的数值,可分别改变它们的振荡频率。增大R和C的数值,振荡器的频率降低,反之,频率则升高。可根据自己的需要灵活调整。另外,压电陶瓷片要固定在助声腔或固定在机壳上才会有较大的声响。若想增加输出功率,可去掉压电陶瓷片,如图6所示另外加接两只晶体管,用扬声器放音(这一部分已设计在图5印刷电路板上)。

由于CMOS集成电路功耗极低,所以电源可采用9伏积层电池,整机体积可做得相当小巧。(李光宇)