业余无线电爱好者在组装或改装电视机时,往往不易制作或购买电视频道指示标牌,有人又希望自己的电视机能够直观、清晰的显示电视频道。本文介绍用五块TTL与非门电路和二块LED数码管组成U档和1~12共13档电视频道的数字连续显示(U表示空档或加入UFH波段的频道)。制作简单,费用颇少,适合业余爱好者制作。
工作原理
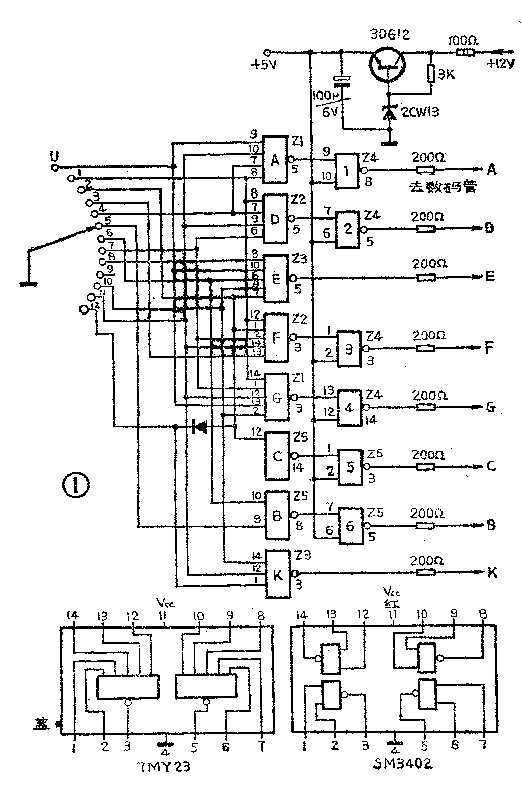
大家知道与非门电路的逻辑关系,即只要一个输入端为低电位,输出就为高电位,只有当所有的输入端全为高电位时,输出端才为低电位。LED数码管为共阴极发光二极管,其公共端(阴极)为负电位,各发光条(阳极)为正电位,当其电位≥1.8V时导通发光。根据这一要求,我们制作了如图1所示的数字式频道显示器。现用显示第五频道为例简单介绍其工作原理。当我们把频道选择器(高频头)置于第五频道位置时,数码管(图2)应显示5,即除B、E、K不应发光外,其余各发光条应全部发光完成“5”的显示。如何达到这一日的呢?当把频道选择器由其它频道转换到五频道位置时,图1中的5端便与地端连接,这时B与非门的输入端电位由全高(悬空)变成5端为低、其余为高,根据逻辑关系,与非门B输出端为高电位,经反相器6变换为低电位,数码管T\(_{2}\)的B段截止不发光。而与非门E和K的输出端后面没有接反相器,且输入端全为高电位,则输出端为低电位,数码管T1的K段和T\(_{2}\)的E段截止不发光。数码管T2的A、C、D、F、G等段的发光是由于相应的各与非门输入端的电位全为高电位,故输出端为低电位,经反相器1、2、3、4、5倒相,输出为高电位,故数码管T\(_{2}\)的A、C、D、F、G各段导通发光,完成“5”的显示,其余频道的显示依此类推。


元件的选择
频道数字显示共有13档,总共有67笔划段次需要显示,如附表所示,表中用“1”表示通而用“0”表示断。因此要求与非门电路的输入端最好不要少于5个输入端,所以本文的Z\(_{1}\)、Z2、Z\(_{3}\)均采用双与非门电路7MY23,它的每个与非门有5个输入端。当然没有7MY23时,也可用其它TTL与非门电路,如果输入端不够用,可用二极管(2AP型)并接在输入端(即接一个与门)以补充缺少的输入端,但印刷电路板需作相应的修改。Z4、Z\(_{5}\)各采用一个四与非门MS3402电路,其中每个与非门有两个输入端。显示管选用LED数码管其型号为BS201。也可采用BS202,显示尺寸可增加60%,但电流也增加。考虑到一般电视机缺少+5伏电源,所以增加一简单的串联式稳压电源,这一稳压电源的输出稳压值,由稳压二极管的稳定电压VZ和调整管be压降(0.7V)之差(V\(_{Z}\)-0.7)所决定而不能任意调节,因此在选用稳压管型号时要注意稳压管的VZ≥5.5V,便于TTL电路的正常工作,本电路选用2CW13或2CW7C,它们的稳压值为5~6.5V。上述元件要求不高,本电路在实验时采用的全是业余品。
附表
A B C D E F G K K
U 0 1 1 1 1 1 0 0 0
1 0 1 1 0 0 0 0 0 0
2 1 1 0 1 1 0 1 0 0
3 1 1 1 1 0 0 1 0 0
4 0 1 1 0 0 1 1 0 0
5 1 0 1 1 0 1 1 0 0
6 1 0 1 1 1 1 1 0 0
7 1 1 1 0 0 0 0 0 0
8 1 1 1 1 1 1 1 0 0
9 1 1 1 1 0 1 1 0 0
10 1 1 1 1 1 1 0 1 1
11 0 1 1 0 0 0 0 1 1
12 1 1 0 1 1 0 1 1 1
制作方法
首先以图3所示的印板图,按1∶1制好主电路(a)、数码管(b)、开关片(c)等印刷电路板。开关转动触点装置,考虑到业余爱好者没有车床加工条件,这里介绍是用收音机旋钮改制,步骤是:①去掉旋钮的外面塑料部分,保留铜质套筒(一般长为10mm),利用M3罗孔作固定用。②按图4b制作一块厚度为1.5mm、外径为φ22mm、内孔直径6.5mm的铁皮圆圈(或者铜皮)。③按图4b所示形状,用0.5mm磷铜皮剪成触点铜片,并弯成如小圆内所示的形状(中段有凸起部分),用铆钉铆在铁皮圆圈上。④用烙铁把套筒和铁皮圆圈焊在一起,就构成一个完整的开关转动触点装置。然后把开关印制板(铜箔朝外)以及开关转动触点装置,先后套在后轴上(见图5),并把触点对准相应的频道,最后拧紧M3螺钉。这样,开关转动触点通过和后轴的连接,达到图1中所示的端子接地的要求。频道指示的显示管可以装在频道旋钮的上方,也可以根据电视机结构灵活安装,原则是不仅要便于观看,还应兼顾美观。



焊接集成电路时,要防止管脚之间搭焊,也要防止虚焊和漏焊,否则会引起故障,甚至损坏集成块。元器件焊接完后,经检查无误再通电,首先检查稳压电源输出是否≤+5V,如果相差较大就须调整,如在4.2V左右,则可在稳压二极管正极对地正向串接一只硅二极管,使输出电压接近+5V;如果比+5V偏高,就须更换稳压二极管,使输出电压≤+5V,保证集成电路正常工作。最后把主电路板(图3a)装在高频头盒上或盒的附近适当位置,使引线尽量短些,再把图3a、bc三块印制板上标有相同字母或数字的引线端用导线连起来。一般开启电源即能显示所接收频道的位置。(陈益泰)