音响集成电路介绍
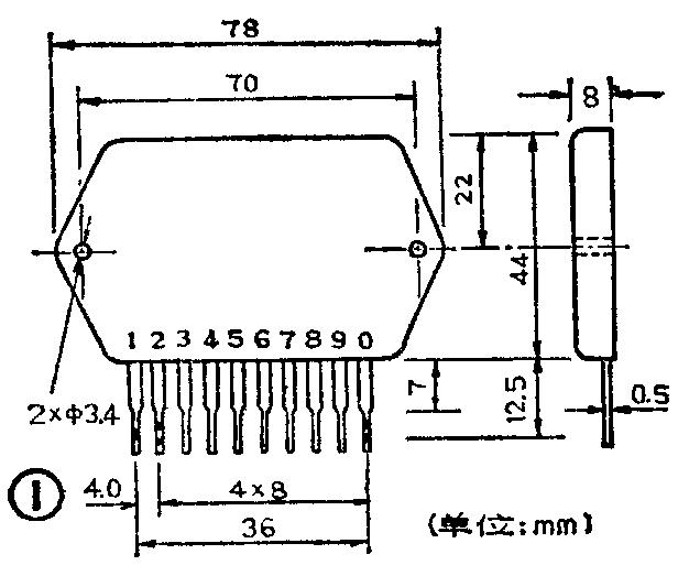
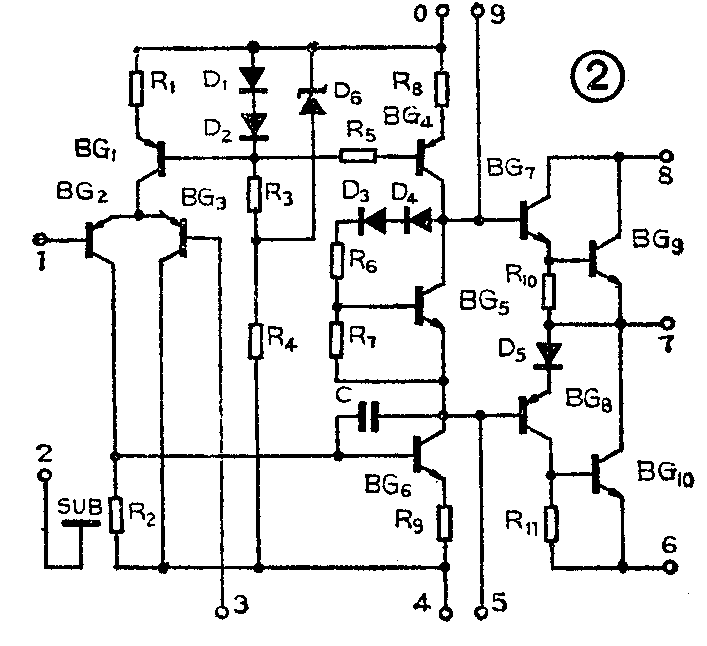
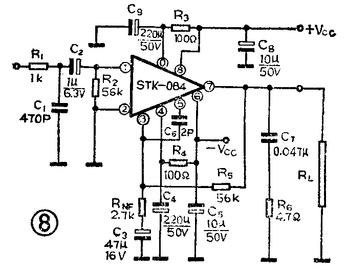
STK084是近年来国外较流行的单列直插厚膜集成电路,主要用于音响设备中做功率放大器使用。其外形、尺寸见图1,内部电路参见图2。该集成电路为双电源供电,内部设有负载短路保护电路,最高供电电压为±50V,最大工作电流为7A,基板温度最高为85℃。下页附表介绍了该集成电路典型工作状态时各项技术参数。图3~图7是该电路的典型曲线。图8为典型应用实例,图9为推荐印板走线。读者自行排线时要注意输入线应远离输出线;输入线不要与输出线平行或交叉。输入端引线应短,最好使用屏蔽线。使用中如发生自激,可以增大C\(_{6}\)数值,以排除自激故障。为保证电路的指标正常发挥,集成电路应固定在散热板上。图10是测试时使用的电源电路,噪声指标就是在这种电源供电时测出的,滤波电容要足够大以减小纹波系数。调整RNF阻值可改变放大器的闭环增益GU。(董春昇 冯石宝)










