本信号发生器可以在视频、中频和VHF频段输出或发射八级标准电视灰度图象信号,适用于检查、修理和调试黑白电视接收机。
当发射天线采用长约1.2米的拖线时,接收距离不小于10米。图象清晰、稳定,线性也很好。对于灰度的层次,因为在电路设计中考虑了γ校正,所以级差均匀,符合标准。
由于采用了数字集成电路,同步信号、消隐信号、阶梯信号由同一个集成块产生,所以频率关系、幅度关系准确、稳定。同时,由于外围的分立元件较少和结构简单,本机的调试工作极其简便;只要元件完好,装接无误,不用任何仪器也能调好。因而便于初学者制作。
本机耗电极省(整机电流<5mA);结构紧凑;体积小巧;便于携带(整机以及天线、屏蔽输出线和调谐工具等附件全部安放在63×44×28mm的小盒内)。本机外形也较美观,象一台微型电视机,既是仪器,又是一个小小的工艺品。
一 电路结构
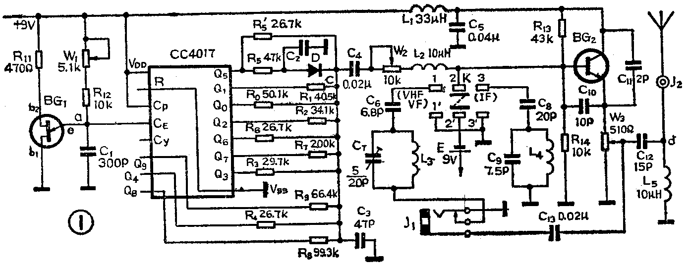
整机电原理图如图1。BG\(_{1}\)等组成周期为6.4μs的弛张振荡器,作为时间基准,由a点输出信号加到集成块CC4017的CE端,触发CC4017产生顺序循环脉冲。所谓循环脉冲,就是对应于BG\(_{1}\)输出脉冲的每一个下降沿,CC4017的十个输出端Q0~Q\(_{9}\)依次变为高电平(当任一个为高电平时,其余九个均为低电平),如图2的(a)、(b)波形图所示。Q0~Q\(_{9}\)端分别接以不同的电阻,R0~R\(_{9}\)相互分压,组成一个矩阵电路,将Q0~Q\(_{9}\)端等幅输出的顺序循环脉冲合成为具有行同步、行消隐和阶梯信号的视频信号,如图2(c)(注:图2只给出各信号的时序关系,不反应幅度比例)。


R\(_{5}\)、C2、D等组成移相电路,将行同步头的前沿延迟约l.3μs,使行同步头的宽度为5.1μs。R5'的作用,是把移相所造成的同步头前沿处的波形凹陷补平,如图3。C\(_{3}\)可滤除阶梯之间的过渡干扰脉冲。

BG\(_{2}\)等组成改进型电容三点式振荡电路,通过变换开关K产生高频或中频载波,经视频信号调制后由天线发射或由屏蔽线输出。L4、C\(_{9}\)等为中频(IF)谐振回路:L3、C\(_{7}\)等为VHF调谐回路。因为C7的变容比不大,所以只能覆盖1~5频道,或者是6~12频道。本机选用6~12频道,这是因为一般电视机的高频头,往往对VHF频段高端的接收效果不如低端。所以调试高频头中各级的工作状态时,应优先照顾高端。另一方面,在频道高端的工业干扰较少些;初调电视机时,先选择一个高端的频道来调试,可以避免将外来的干扰信号误认为是机内故障而徒费精力。电视机频段高端收看正常了,低端是很容易调好的。所以选用6~12频道的信号更为实用些。
C\(_{12}\)和L5组成高通滤波器,使到达天线的调幅波较为纯净。其波形如图2(d)所示。
当输出视频信号(VF)时,将接有屏蔽线的插头插入J\(_{1}\),这时VHF的调谐回路的接地点,在J1的接点处断开,电路停振;BG\(_{2}\)等成为射极输出器。改变屏蔽线与被调电视机的接法(即线头对调一下),可以分别输出正、负两种极性的视频信号。
电路中,微调电阻W\(_{1}\)用于调准行频;W2可改变调幅度,改善调制线性;W\(_{3}\)控制输出幅度。W1、W\(_{2}\)、W3和调谐电容C\(_{7}\),均可用小螺丝刀锥通过仪器侧壁上的小孔来调节。
二 制做与调试
制做时,BG\(_{1}\)应选用分压比η>0.5的单结晶体管,以保证其输出脉冲的幅度能可靠地满足CC4017所需要的触发电平。
本电路对CC4017的各项参数全都要求不高,只要“有功能”即可;所以完全可以选用业余品来制做。焊接CC4017的引线时,应先拔下电烙铁的电源插头,以免由于感应电压将集成块损坏。R\(_{0}\)~R9可选用阻值相近的标称阻值。BG\(_{2}\)应选用fT≥1000MHz的晶体管。如果VHF频段只用1~5频道的信号,也可以选用f\(_{T}\)≥500MHz的管。高频部分每个元件的引线都应留得短些,尽量减少高频部分的分布电感和分布电容。调谐回路的L3,用线径1mm、长35mm的镀银导线,在直径3mm的圆柱体上绕2匝脱胎而成,适用于6~12频道。如果需要使用1~5频道的信号,可用线径1mm的导线,在直径7mm的圆柱上绕制12匝;同时将C\(_{6}\)改为15p即可。如果有适当的波段开关,将L3-Ⅰ(1~5频道用)和L\(_{3}\)-Ⅲ(6~12频道用)都安装在机内,那就更好了。中频谐振回路的L4用0.5mm的漆包线绕制,直径5mm,37匝。也可以用一般电视机的中周改制。
其它的几个小电感L\(_{1}\)、L2、L\(_{5}\)、如果买不到成品也可以自制。用0.1mm的漆包线,在1/8W数百千欧的小电阻止绕制;L1绕约180圈,L\(_{2}\)和L5绕约100圈。
J\(_{1}\)用2.5mm的耳机插座;J2采用半导体收音机上用的外接天线插座。
图4为本机的印制电路板图。其中B板采用双面敷铜板制做,其b\(_{1}\)面主要用于屏蔽,元件安装在b1面,其多数焊点都是在安装元件的同侧焊接。C\(_{6}\)~C9、L\(_{3}\)、L4和开关K等安装在B板上。K用“KBX”型2×3拨动式波段开关。A板与B板之间通过K的1'、2'、3'三个接点固定在一起。装接时,先把A、B两块板上的元件分别全部焊好,把K的6个接点全都在B板上焊牢。然后在K的1'、2'、3'接点上各焊1小段直径1mm的铜丝,再把铜丝插入A板相应的三个小孔中,摆正、焊牢即可。

A板和B板一起,利用K上原有的螺丝孔,固定在机壳上。在B板上端中间的两个小孔处焊接上两个M\(_{2}\)的小螺母,用来固定图5所示的有机玻璃隔板。隔板中间的立柱是固定后盖用的。发射天线(长1.2米)、屏蔽输出线(长0.3米)和小调谐螺丝刀等全都可存放在隔板上方的小空间里,以便于携带使用。另外,最好用薄铜片做一个小屏蔽罩,将L3、L\(_{4}\)等调谐回路的元件屏蔽起来;使振荡频率更为稳定。屏蔽罩也是利用固定有机玻璃隔板的螺丝钉固定在印制板B上。


本机的调试工作极其简单。装接完毕,在电源处串接一个mA表,先检查一下整机电流,应为3~5mA。然后可用一台完好的电视机来校准:打开电视机,任选一个中间的频道;调节本信号发生器的C\(_{7}\),使电视机收到的信号为最强;再调节W1,达到同步,使屏幕上出现稳定的八级灰度图象,行频即已调好。如果灰度的层次不匀,可以调节W\(_{2}\),选择适当的调幅度。第二步,校对中频;拔下电视机中放通道至高频头的屏蔽线插头,将本机的中频输出信号接至电视机的中放通道输入端,调L4的圈距,使屏幕上的图象为最佳。最后,插上发射天线,检查一下高频信号的覆盖范围,看能否覆盖6~12(或1~5)频道;如果不行,可适当改变L\(_{3}\)的圈距,或进一步设法减少高频部分的分布电感和分布电容。
如果有条件,能用示波器等来调试,当然更好。应使视频信号的周期为64μs;中频载波为27ns;高频段为6~4.6ns(6~12频道)或20~11ns(1~5频道)。
三 使用方法
本机中,K作频率选择开关并兼作电源开关。K放在中间位置时,电源关断。K的2与1接通时,可从J\(_{2}\)处发射高频信号或者从插口J1处输出视频信号;K的2与3接通时,可从J\(_{2}\)处输出中频信号,也可以用天线发射中频信号。
输出视频信号时,若以屏蔽线的芯线接电视机的“地”端,则为负极性视频信号;若以其屏蔽层接电视机的“地”端,则为正极性视频信号。可分别适应电视机视放电路中,各处对输入信号正、负两种极性的要求。
输出中频信号时,以屏蔽层接电视机的“地”端,用芯线接至中放通道的各适当位置,可以逐级检查中放各级的工作状况、频率特性和动态范围等等。
由于本机体积小巧,所以用屏蔽线输出信号时,可把本机挂在电视机内部的适当位置,将屏蔽线的输出端焊在电视机的电路板上,调试电视机。
使用高频信号时,可以选择一个当地没有电视台节目的频道来调整电视机,以保证在全天的调试工作中,可以用同一个稳定的、不受电视台节目干扰的信号来调试。一般电视机中,只要有一个频道收看正常了,其它的频道也就容易调整了。
当需要调试本地有节目的频道时,可以先用一台完好的电视机来校准本信号发生器的载频。具体方法是:将本信号发生器放在一台能正常收看的电视机附近;先细心调好电视机的“频率微调”旋钮,使所收频道节目的图象为最佳;然后将信号发生器的开关K板向VHF处,插好发射天线,用无感螺丝刀调节C\(_{7}\),使屏幕上的电视台节目被灰度信号所取代;细心调节C7,使信号为最佳。以后就可以用本信号发生器去调试其它待修电视机的这一频道了。
电器商店检查或出售电视机时,可以将本信号发生器放在柜台的后货架上,插好天线,10米以内都可以稳定地收到灰度图象。(程学浦)