用播种机播种时,要同时施些氨水作底肥。为了避免种子被氨水烧坏,在土里,氨水要比种子深埋两寸。通常氨水是用开沟器施于土下的,若开沟器出口处被堵塞或开沟器上方的管子被堵塞,氨水就流不出来,而这种情况驾驶员一时发现不了。为此,我们作了一个施氨监视器。有了施氨监视器,若在施氨过程中发生堵塞情况,讯响器和指示灯向驾驶员发出报警信号,驾驶员可根据情况及时进行处理。
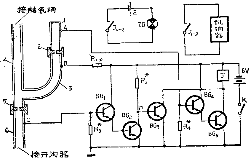
监视器的电路见图。图中1、3、4、6都是金属管,弯管3与直管4是焊接在一起的。2和5是绝缘套,用以把两个相邻的金属管固定住并使其相互绝缘。从金属管1的A处、管3的B处、管6的C处分别焊上导线,引到电路中。金属管6的下端接开沟器,金属管4的上端接贮氨桶。

工作时,贮氨桶里的氨水通过金属管4、6后加到开沟器,再注入到地下,这时由于管中有氨水,B、C两点相当于是接通的,BG\(_{1}\)的基极有电流,BG1、BG\(_{2}\)均导通。BG2导通时,D点对地负电压减小,使BG\(_{3}\)截止;由于金属管1与3是绝缘开的,所以A、B两点是断开的,BG4、BG\(_{5}\)截止,继电器绕组里无电流,处于释放状态,其触点J1-l、J\(_{1}\)-2是断开的,指示灯不亮,讯响器也不响。
如果金属管6的下端出口处被堵塞,氨水流不出去,贮氨桶来的氨水就涌向金属管3,当氨水上升到把B、A两点接通时,BG\(_{4}\)由截止变为导通, BG5也导通,继电器吸动,其触点接通讯响器和指示灯,发出报警信号。
如果管6是正常疏通的,而管4被堵,氨水流不下来,这时B、C两点间开路(实际上管壁上还附有氨水,但两点间阻值很大,认为开路)、BG\(_{1}\)、BG2由导通变为截止,D点变为高电位,BG\(_{3}\)导通,继电器吸动,报警电路接通,也发出报警信号。
这样无论是那里堵塞,都能及时发觉,以便采取措施排除故障,保证施氨正常进行。
图中三极管的型号不限。继电器用一般小型灵敏继电器,各管的工作电流由各相关电阻适当调整。两个金属管被氨水接通时要产生一点电压,调整时应把这个电压也考虑进去。 (薛金亮 姚文礼)