在现代电子电路中,几乎都含有反馈电路。由于反馈电路的形态多变难以识别,给分析电子电路带来了一些困难。本文就判别各种反馈电路的方法和技巧作一介绍。
判别一个实际的反馈电路,就是要判别其反馈的性质和类型,或者说,从反馈的极性看,是负反馈还是正反馈,从反馈所起的作用看,是直流反馈还是交流反馈,从反馈连接的方式看,是属于四种基本反馈(电压串联、电压并联、电流串联、电流并联)中的哪一种。下面就辨认反馈元件等六个问题分别加以说明。
怎样辨认电路中的反馈元件
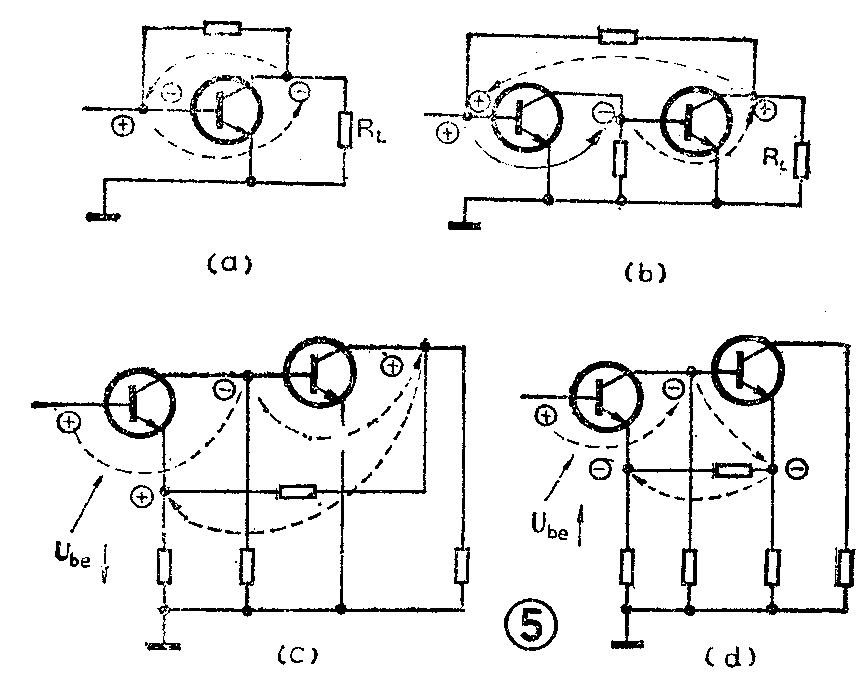
一个电路是否存在反馈,要看该电路的输出和输入之间有没有起联系作用的元件,一个电路属于何种反馈,也首先要找出反馈元件在哪里,因此准确辨认电路中的反馈元件是很重要的。可以这样说,任何连接输出回路与输入回路之间的电路元件,都是反馈元件。通过反馈元件,输出量参与了对输入量的控制。例如在图1a中,射极电阻R\(_{4}\)和R5既与输出回路有联系,又与输入回路有联系。图1b中的R\(_{3}\)支路及R1,R\(_{2}\)支路也都接于输出与输入之间。因此这些都是反馈元件,也说明图1中的两个电路都有反馈存在。

如何辨认图2所示多级放大器中的反馈元件呢?就整个放大器本身的反馈来看,连接放大器输出和输入之间的电阻R\(_{3}\)、R4,显然是电路的反馈元件。然而R\(_{3}\)、R4既对整个电路反馈起作用,又是所在一级的反馈元件,R\(_{3}\)连接在第一级的输入和输出之间,R4则是第二级输入回路和输出回路的公共电阻,故第二级本身就相当于一个反馈电路。这种在整体反馈电路内包含的反馈电路称为局部反馈,对整个放大器的性能也有着直接的影响。

怎样区分直流反馈和交流反馈
电路中的反馈元件可能反映直流量的变化,也可能反应交流量的变化,前者属于直流反馈,后者属于交流反馈。例如图1a中R\(_{5}\)两端并有大容量的C3,C\(_{3}\) 可对交流分量起旁路作用,对交流来说,R5相当于短路。因此R\(_{5}\)两端的压降仅仅是直流电流在上面产生压降,它起直流反馈的作用。而R4两端因无大容量的电容器并联,R\(_{4}\)上除产生直流压降外,还有集电极交流电流在它上面产生的压降,因此,R4既有直流反馈作用,又有交流反馈的作用。在图1b电路中,由于C\(_{4}\)有阻隔直流电流,使交流电流畅通的作用,R3仅对交流有反馈作用。此外通过R\(_{2}\)的交流电流被C3旁路短接到地,因此R2仅有直流反馈而无交流反馈的作用。
对于初学者来说,也可以分别画出交、直流通路来辨认交、直流反馈。如果反馈元件存在于直流通路中,则为直流反馈。如果反馈元件存在于交流通路中,则为交流反馈。例如,把图1电路分别画成直流通路(图3)和交流通路(图4)后,所得结论与前述一致。


怎样判别负反馈和正反馈
我们知道引入反馈后,凡削弱输入信号,而使放大倍数减小的称为负反馈;反之,增强输入信号,便放大倍数增加者称为正反馈。
采用瞬时极性判别法判别一个实际电路的反馈极性,是一种简便有效的方法。这种方法假定信号源在某一瞬时所处极性为正,然后根据电路各点的相位与信号源相位的相对关系,分别标出电路各点电位的极性。再看这种极性的变化最终反映到电路输入端的作用是削弱输入信号,还是增强。假如输入信号被削弱,便可断定为负反馈,反之则为正反馈。例如图5a单级共射电路中,因基极与集电极电压相位相反,极性相反,通过反馈元件加到基极的电压极性也为使U\(_{be}\)减弱,故为负反馈。而图5b电路中有两级共射电路构成的集、基反馈电路,由于通过两级的倒相作用,加到输入端基极的反馈信号的极性为起到增强输入信号的作用,故为正反馈。在图5c所示的电路中,反馈信号加至射极的极性为使得Ube因此而减弱,故为负反馈。而图5d电路引入反馈使射极的瞬时极性为使U\(_{be}\)增大,故为正反馈。

怎样判别串联反馈和并联反馈
尽管反馈电路多种多样,但就其反馈信号送回输入端的形式来分有两类,即串联反馈和并联反馈。它们的结构形式见图6。由图6a可见,串联反馈是以电压串联方式出现在输入端的,即有U\(_{i}\)=Uf+U\(_{di}\)式中Uf为反馈电压。U\(_{di}\)为基本放大器的净输入电压。而并联反馈是以电流并联方式出现在输入端的见图6b,即有ii=i\(_{f}\)+idi式中i\(_{f}\)为反馈电流,idi为基本放大器的净输入电流。

如果把图6输入回路中的相加点,即反馈结点(图中G点)对地短接,对于串联反馈,由于U\(_{f}\)=0,则Ui=U\(_{di}\),此时输入信号仍可加到基本放大器中去。而对并联反馈,因输入信号被短路而无法加到基本放大器中去。由此我们可以采用将输入反馈结点对地短路的方法来判别是串联反馈,还是并联反馈。
采用这种判别法。只需将输入端的反馈结点假想地对地短路,如果输入信号因此而无法加入放大电路的则可判定为并联反馈;反之则为串联反馈。在图1所示电路中,按上述判别方法,可知图1a为串联反馈,图1b为并联反馈。
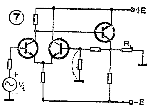
本文提出的输入端反馈结点对地短接判别法,较之用其他传统的判别法如“直接观察法”和“输入信号短路法”,具有结果准确和方法便于掌握的优点。因为传统的判别方法,都需先知道反馈信号表现为电压还是电流。然而,这对初学者来说,往往是难以辨别的,图7便是一例。而用新的判别方法,只需将电路的输入端反馈结点对地短接(用虚线表示)即可。由图7可见,输入信号U\(_{i}\)将加至差动管的基射极,信号仍可输入电路,从而也反证了反馈信号是以电压的形式出现的。

怎样判断电压反馈和电流反馈
根据反馈对输出电压式输出电流所具有的稳定作用分类,有电压反馈和电流反馈两种电路。电压反馈和电流反馈的方框图,分别示于图8a和8b。由图可见,电压反馈在输出端是并联结构形式,而电流反馈在输出端则是串联结构形式。对于具体电路,可从反馈信号与输出信号的关系来确定。因为反馈信号是从输出端取回到输入端的信号,不管它馈至输入端的方式如何,它要么对输出电压取样(反馈信号正比于输出电压),要么对输出电流取样(反馈信号正比于输出电流),在电压负反馈电路中,当输出电压因某种原因而增大时,反馈信号随即增大,这时输入信号被削弱,从而使输出电压趋于减小,输出电压的变化得到稳定。如果作为取样对象的输出电压一旦消失,则反馈信号也随即消失。这就可假想以输出短路检验反馈信号存在与否来判别电压反馈或电流反馈。因为输出短路后,U\(_{0}\)=0,而i0≠0。如果这时反馈信号因此为零则为电压反馈,如果反馈信号依然存在,则反证为电流反馈。根据这个道理就可以很容易地判别是电压反馈还是电流反馈。以图9电路为例,以负载电阻R\(_{L}\)短路来判别时,图9a电路中的反馈信号随之消失,故为电压反馈;而对图9b电路中的反馈信号依然存在,说明该电路为电流反馈。


引起初学者疑惑不解的地方,往往不在于上述判别方法的使用,而是电压反馈和电流反馈这样的区分。在他们看来,输出电压U\(_{0}\)就是输出电流I0和负载电阻R\(_{L}\)的乘积,即U0=I\(_{0}\)RL,在负载电阻值固定的情况下,输出电压总是与输出电流成比例的。如此,则不论反馈电路输出端是串联方式还是并联方式,反馈信号都同样与输出电压及输出电流两者成比例。在一些人中间产生这样模糊的认识的关键在于:他们没有意识到有关电压反馈和电流反馈这样的区分,是从放大器负载电阻值是变化的这一情况出发来考虑的。从输出回路来讲,当负载值改变后,输出电压U\(_{0}\)随RL的减小而变小,但输出电流I\(_{0}\)则相反增大。由此可见,令U0=0(也即将R\(_{L}\)短路)的判别法,正是考虑到以负载变化来观察它对反馈信号的影响。如若认为负载是固定不变的,那么所谓电压反馈和电流反馈,也就没有任何意义了。
在使用输出短路的判别方法时,不能简单地认为总是输出端对地短路,为不失一般性,判别输出反馈类型时,将负载电阻R\(_{L}\)短接更为合适。例如图10所示电路反馈电压Uf是从R\(_{7}\)两端通过R4、R\(_{3}\)分压引入输入端的,究竟是电压反馈还是电流反馈呢?在判断时,若把输出端对地短路,会误认为是电压反馈。然而,有了负载是可变的概念,输出短路则应理解为负载电阻RL短接,这就不难看出,图10电路应属电流反馈。这样也就不会误判了。

反馈电路综合辨认举例
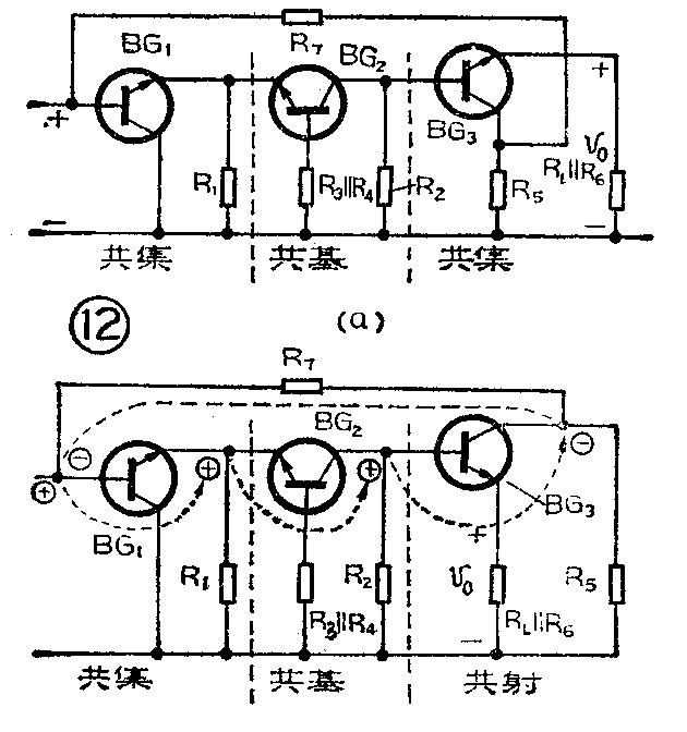
通过以上介绍的辨认反馈电路的方法,结合图11所示反馈电路进行具体分析,可以进一步掌握识别多级反馈电路的一般规律。
2.判别反馈极性,逐级递推。看输入信号至输出信号的流程,三极电路分别为共集、共基、共集组态,见图12a。由于反馈信号是取自第三级的集电极,从反馈信号的流程看,最后一级可认为是共射组态,见图12b。因此,反馈极性的流程为共集(同相)、共基(同相)、共射(反相),加至第一级基极为性,故说电路为负反馈。
3.判别反馈类型,着眼于整体。将输入反馈节点对地短路,输入信号将被短路。将负载电阻短路,反馈信号依然存在。因此是电流并联负反馈。(郭维芹)

