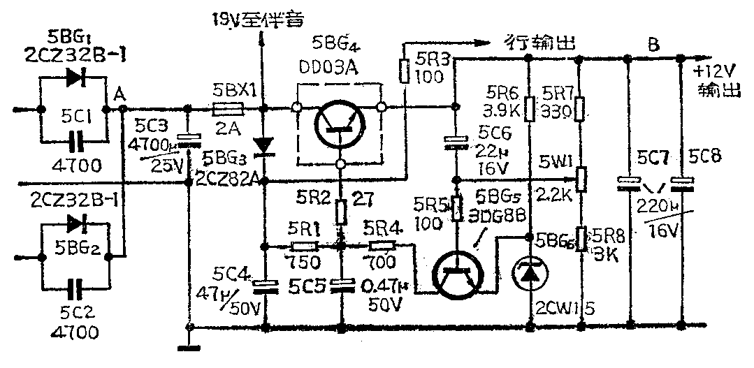
飞跃牌12D1-4、35D1—2、35D2—2、40D2—2等型号电视机电源采用的是行反馈式稳压电源。这种电源与一般典型的串联型稳压电源的差别是:调整管的基极电流不是来自全波整流输出的频率为100Hz的电流,而是由行输出提供的频率为15625Hz的电流,并且还省去了电流推动管。这种电源的特点是:稳压特性好,可靠性高,纹波小,功耗低。下面以飞跃牌35D2—2型电视机为例,介绍这种电源的维修。
飞跃牌35D2—2型电视机电源电路加附图所示。在开机的瞬间,电路A点处有19伏的直流电压,并经过SBX1、5BG\(_{3}\)、5R1、5R\(_{2}\)加到5BG4的基极,使其导通,在输出端B点处有12伏直流电压。当行扫描电路工作之后,由行扫描升压电路产生的26伏电压经5R\(_{3}\)、5R1、5R\(_{2}\)反馈到调整管5BG4的基极。此时对5BG\(_{3}\)而言,其负端电位高于正端电位,该管截止,即全波整流输出的电流中断,以后调整管5BG4基极的偏置电流全部由行扫描电路提供。由于行扫描电路的电压在一定范围内不受电网电压波动的影响,相当于给调整管提供了一个辅助稳压源,因此,电源的调整特性将得到改善。此电源的常见故障有两种:

1.12伏电压过低、图象晃动、纹波大
在排除这种故障时,首先应区分是行扫描电路的故障还是电源本身的故障,区分的方法是:①根据整机电流的大小来判断。电视机正常时,整机电流为1.15~1.2安培。如果整机电流偏大,则是行扫描电路的故障。如果整机电流偏小,则存在两种故障的可能:一种是电源出故障;另一种是行振荡电路停振。②用断开负载的方法判断:如果接上负载时,电源输出电压有明显的下降,而断开负载时,电源输出电压回升为正常,这说明行扫描电路有故障。如果接上和断开负载电压同样低,则肯定是电源电路的故障。
电源电路出现故障,造成12伏电压过低的原因有以下几种:①稳压管2CW15击穿,使输出电压只有7.4~8伏;②取样放大管3DG8B击穿,使输出电压只有6~8伏;③调整管DD03A或取样管3DG8B特性不良,使输出电压只有8~11伏。
2.12伏电压过高
12伏输出电压过高可分两种情况分析:①输出电压为16~18伏,并且调节5W\(_{1}\)时,输出电压变化范围很小,这种故障一般是取样放大管5BG5开路造成的。当5BG\(_{5}\)的B、E极开路时,由于行扫描电路仍继续工作,26伏左右的电压经5R3、5R\(_{1}\)、5R2加到调整管5BG\(_{4}\)的基极,使管子饱和,使输出电压上升。输出电压的上升又使行输出管的集电极电压也随之上升,并且还有可能引起高压打火现象。判断取样放大管是否开路,可用万用表测量Vbe值,开路时,V\(_{be}\)>2V。②输出电压在13~14伏,并已调节可变电阻5W1无明显变化,一般是5W\(_{1}\)接触不良所造成的。

为了便于维修,我们把电路中每个晶体管损坏时,输出电压以及可调电位器的变化情况列入附表,在更换损坏的元件时,应注意以下几点:①更换电源调整管DD03A,要求β>160,BV\(_{ceo}\)≥50V,Vces<1V。如果β<160,则电流纹波增大,有时荧光屏上还会出现滚条现象。如果β<100,容易引起电源调整率差,在屏幕上出现图象似“拉风箱”现象,即图象幅度随伴音高低而伸缩变化。②更换取样管3DG8B,要求β>100,BV\(_{ceo}\)>30V,热稳定性要好。③电源调整管的偏置电阻5R1、5R\(_{3}\)、5R3要采用1/4W的。(周康生)