姓名 性别 年龄 职业
文化程度 工作单位(通讯处)
一、填空题
1.晶体三极管根据其截止频率f\(_{β}\)的大小,可分为低频管和高频管两种类型。fβ小于________为低频管,f\(_{β}\)大于_________为高频管。
2.中波广播段相邻电台的频率间隔为___________,所能广播的音频信号最高频率为__________
3.同步通信卫星距地面的最近距离约为_____________公里。
4. 目前,我国无线电广播主要采用两种调制方式:使高频信号的频率随声音信号的大小而变化叫__________广播方式;使高频信号的幅度随声音信号的大小而变化叫__________广播方式。电视广播的伴音发送采用__________广播方式。
5.某NPN型晶体管接入电路后,测出其U\(_{C}\)=4.8伏,UB=5伏,U\(_{E}\)=4.3伏,可以判断这只管子工作于__________状态。某工作于放大状态的晶体管,测出其三个电极X、Y、Z的电位分别为UX= -9伏,U\(_{Y}\)=-3.8伏,UZ=-4伏,可以判断这只管子是__________型管,X为______极,Y为_____极,Z为_____极。
6. 有两只2CW15型硅稳压管,稳定电压值分别为8伏和7.5伏。如果把它们串联起来(如图1a示),总的稳压值为_______伏,若把它们并联起来(如图1b示),总的稳压值为________伏。

7.图2所示电路中,a图采用了__________反馈,b图采用了__________反馈。

8.图3所示电路中,运算放大器是理想的,可以确定其输出电压为________伏。

9.图4所示的纯乙类推挽放大器中,被放大的为正弦信号,当功放管集电极电流峰值I\(_{cm}\)为1安,电压峰值Ucem为3伏时,放大器的效率为____。

10.在图5所示电路中,已知静态时U\(_{E}\)=2伏,UC=7伏,则可计算出集电极电阻R\(_{C}\)为_______,基极电阻RB为____。

二、判断题(你认为正确就在括号内画“√ ”,你认为错误就在括号内画“×”。)
11.晶体三极管的集电极反向电流I\(_{CBO}\)是温度的敏感函数。锗管的ICBO随温度变化比硅管剧烈( )
12. MOS场效应管在栅极开路时容易被感应电压击穿,是由于栅、源及栅、漏之间绝缘电阻很高,而MOS电容很小的缘故。( )
13.为了防止流过公共接地点的电流过大时,在接地点上产生较大的电压而引起干扰和噪声,在电子设备中接地点应尽可能分散。( )
14.由于杂质半导体中的少数载流子是由本征激发产生的,所以杂质半导体中少数载流子的浓度与本征半导体中少数载流子的浓度是相同的。( )。
15.放大器的级数越多,引进负反馈时就越容易自激,进行补偿也越困难。( )
16. 一般晶体管中的电流与电压有如下关系:
I\(_{CEO}\)>ICER>I\(_{CES}\)>ICEV>I\(_{CBO}\)( )
BU\(_{CBO}\)>BUCEV>BU\(_{CES}\)>BUCER>BU\(_{CEO}\)( )
17.使用信号源e\(_{x}\)测试电路(图6)时,若被测电路的内阻近似为0,则ex可视为恒压源。( )

若被测电路内阻很大,则e\(_{x}\)可视为恒流源。( )
18.共发射极单管放大器的电压放大倍数为:
|K\(_{u}\)|=β\(\frac{RL'}{r}\)be所以放大管的β增大一倍时;|K\(_{u}\)|也增大一倍。( )
19.在信号源不变的情况下,由于放大器引入了负反馈,可以显著提高其信噪比。( )
20.在用集成运算放大器作推动级的OCL扩音机中,末级功放管供电电压越高,不失真输出功率也越大。( )
21.由于负反馈可以展宽放大器的通频带,所以只要采用深度负反馈,就可以用低频管放大高频信号。( )
22.在温度变化一定的条件下,两台直接耦合放大器中,输出端零点漂移较大的那一台性能较差。( )
三、选择正确答案题(在你认为正确的答案下面画横线)
23. 图7所示的单相桥式整流电路中,二极管D\(_{8}\)被击穿连通,对电路工作有什么影响?(①不受影响;②作半波整流;③作全波整流;④不能整流。)

24.在电路中使用的晶体三极管只要①工作电流超过I\(_{CM}\)值;②耗散功率超过PCM值;③反向电压超过BU\(_{CEO}\)值;④工作频率超过fT值,晶体管就必然损坏。这里只有第几种说法是正确的。
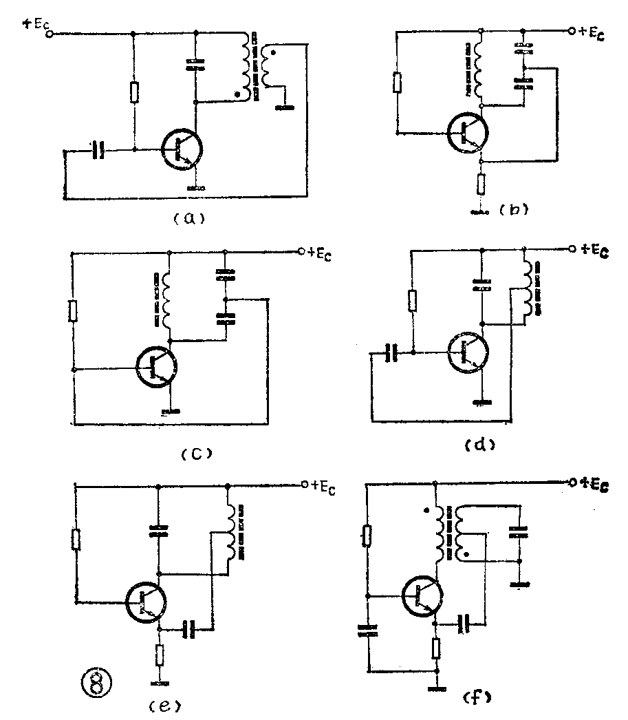
25.图8各电路中_____、 _____、_____、(填图号)等电路可能产生正弦振荡。而_____、_____、_____等电路却不能产生正弦波振荡。

26.收音机中放级的双调谐中频变压器,初级回路工作于什么状态?(①并联谐振;②串联谐振。)次级回路工作于什么状态?(③并联谐振;④串联谐振。)
27. 用MF-30型万用电表R×100档检查一个发光二极管,测出其正反向电阻均接近∞,是否可以判断出这只管子的好坏?(①可以判定管子是坏的;②可以认为管子是好的;③无法判定管子的好坏。)
28.某扩音机输入级采用集成运算放大器,信号源为收音头、晶体拾音器、盒式磁带录音机。运放应接成什么形式?(①同相输入;②反相输入。)
29.用一个二极管与一个额定功率为P的灯泡串联,电源电压力U,设二极管的正向压降及反向漏电流均可忽略,问灯泡两端的电压应为多大?(①\(\frac{U}{2}\);②U;\(\sqrt{2}\);③0.45U;④U。)灯泡消耗的功率为多大?(⑤\(\frac{P}{4}\);⑥P;2⑦介于P2与P之间;⑧P。)

30.图9所示的双环负反馈放大器中,如由A\(_{2}\)、F2组成的反馈环是电压并联负反馈,则A\(_{1}\)、F1组成的反馈环宜采用什么形式的反馈?(①电压反馈;②电流反馈。)(电子学基础知识测验组织委员会)