本文向读者介绍一种电路新颖而且安全可靠的家庭用电保安器,如果将它安装在220伏交流电源的进线端,当你的用电设备(如电冰箱、洗衣机、电风扇等)漏电或人体触及电源火线时,保安器会立刻动作,切断交流电源,从而能可靠地保护用电设备和人身的安全。

本保安器的外型见题头。它的技术指标为:额定工作电压:单相(零线接地系统)电压170~240V,频率为50赫;额定负载电流:3安培;动作时间:<0.1秒;动作电流:8±2mA;环境温度:-20℃~+40℃;功率消耗:<0.7W。
工作原理
大家知道,人体相当于一个有一定阻值的导体(约为1~3千欧),当人站在地面上用手或身体碰触市电火线(或带电的家用电器外壳)时,就有一个交流电流流过人体到大地,造成人体触电事故。我们将流过人体的这种电流称为漏电流,触电保安器的作用就是将这种漏电流进行放大,然后去推动控制电路,使其在人体触电的瞬间将电源切断,避免造成触电事故。
经试验证明,当220伏交流电以1~10mA的电流通过人体时,人有麻痛感觉,人体能自觉地摆脱电源,但如果触电时间超过1秒,仍有生命危险;如果流过人体的50赫交流电流超过30mA,人将会被击昏,失去自动摆脱电源的能力,此时有生命危险。因此,本文设计的触电保安器动作电流越小越好。但由于住房条件和所用导线的新旧不同,住户电源的火线与地之间总是或多或少存在着漏电流。当保安器选择的最小动作电流和住户电源漏电电流在数值上接近时,就经常会出现误动作,给用户带来麻烦。考虑到各种因素后,这里取保安器的最小动作电流为8±2mA。
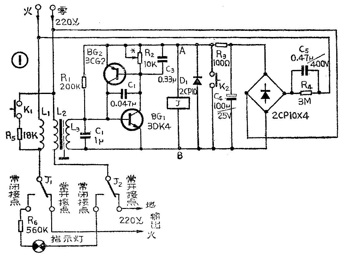
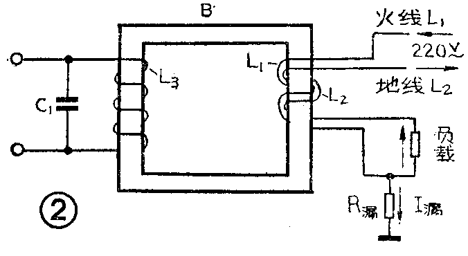
图1是保安器的电原理图,它由信号检拾电路、控制电路、电子开关电路、抗干扰电路、电源五部分组成。信号检拾电路如图2所示,它是由一个零序差动互感器来实现的。互感器B的初级线圈L\(_{1}\)、L2双线并绕而成,在正常供电时,R\(_{漏}\)无穷大近似开路,两级线圈中的电流大小相等、方向相反,因此在次级线圈L3上没有感应电压。相反,如果电源火线对地漏电,I\(_{漏}\)有一定数值,则L1线圈中电流增大,L\(_{1}\)与L2中的电流将出现一个差值,这个电流差值会在次级L\(_{3}\)上引起一个感应电压,于是通过互感器B就检拾出了漏电信号。电容器C与线圈L3电感并联谐振在50赫频率上,以获得最大的信号电流并可提高电路的抗干扰能力。


由BG\(_{1}\)、BG2等元、器件组成了一个电子开关电路。当L\(_{1}\)(火线)线圈没有漏电流时,L3两端没有感应电压,BG\(_{1}\)截止,BG2也截止,A、B之间电阻较大,A、B之间的直流电压值也较高,于是继电器J吸合,继电器的簧片与两个常开接点闭合,220V交流电压则通过J\(_{1}\)、J2的两个闭合的接点向用电设备正常供电,此时因J\(_{1}\)、J2的两个常闭接点已断开,所以指示灯是不亮的;如果因人体触及火线或其它原因使L\(_{1}\)中电流增大时,L3两端将有感应电压,于是BG\(_{1}\)导通,促使BG2也迅速导通,BG\(_{2}\)导通又促使BG1更加导通,是一个正反馈过程,使得A、B之间的电阻迅速减小,V\(_{AB}\)直流电压值也减小(R3上直流压降增加),于是继电器J释放,J\(_{1}\)、J2的常开接点断开,供用电设备的电源断开,就起到了保护作用。此时J\(_{1}\)、J2的常闭接点闭合,接通指示灯告警电路,指示灯亮。
K\(_{1}\)是一个试验按钮,K2是一个复位按钮,均设在面板上。当按下K\(_{1}\)时,L1中有一部分电流从R\(_{5}\)旁路,相当于产生了漏电流,BG1、BG\(_{2}\)均导通,继电器应立即释放,输出220V电源断电,此后如果不按K2,断电状态不会恢复。当按下K\(_{2}\)时,BG1、BG\(_{2}\)因失去电源供电电压而处于截止,继电器仍处于释放状态,但当K2松开后,继电器J则马上吸合,闭合其常开接点,于是又恢复向用电设备供电。电源部分电路很简单,本文就不再分析了。
制作与调试经验
差动式电流互感器B用12×16规格的铁心制作,采用塑料骨架。次级线圈L\(_{3}\)用φ0.08mm优质漆包线在骨架上乱绕3000匝,然后缠上绝缘纸,包上屏蔽层,再在屏蔽层外缠两层绝缘纸,最后用φ1.12mm的高强度漆包线双线并绕20匝,再缠上一层绝缘纸,浸绝缘漆,烘干即可。继电器选用JQX—4型(DC24V)的,按钮K1、K\(_{2}\)选用耐压250V微动按钮。R2用10千欧可变电阻。R\(_{5}\)选用RJ\(\frac{1}{2}\)W电阻。BG1、BG\(_{2}\)要求BVceo>25V,β≥40。
组装完毕后应认真检查各焊点及有关元件的极性,无误后再接通220V交流电源,此时继电器应吸合,常开接点应有220V电压输出。如果继电器不吸合,可调整一下R\(_{2}\)阻值再试一试,直到保安器的最小动作电流适合要求为止。
保安器应安装在无强磁干扰、无振动的干燥地方,安装要牢固。电度表与保安器之间应加装保险器。正常情况下,每月应至少检查一次“试跳”按钮,看看是否能断电跳闸,以检验保安器是否工作正常。断电时,面板上的指示灯应亮,用试电笔测试输出端火线,应不带电。如果用电设备是电动工具(如电钻),或者是常移动的电器(如落地灯、电风扇、电褥子等),应多检查几次“试跳”。注意不要用人身体或直接短路法去试验保安器性能。
以上“家庭用电保安器”由石家庄市振头微电机厂负责向读者邮售,办法是:①触电保安器成品,每台17.50元,包括邮费;②保安器全套散件,每套15.50元;③保安器主要元件(包括差动互感器、继电器、按钮开关、印制板、氖灯、安装图,不包括外壳),每套9.50元。(王玉亭)