题头所示巨星JX—702收音机是专为中、高度耳聋患者设计的新产品。其特点是助听、收音两功能合而为一。患者不必另购收音机从而节约开支,也提高了机器的使用效率。

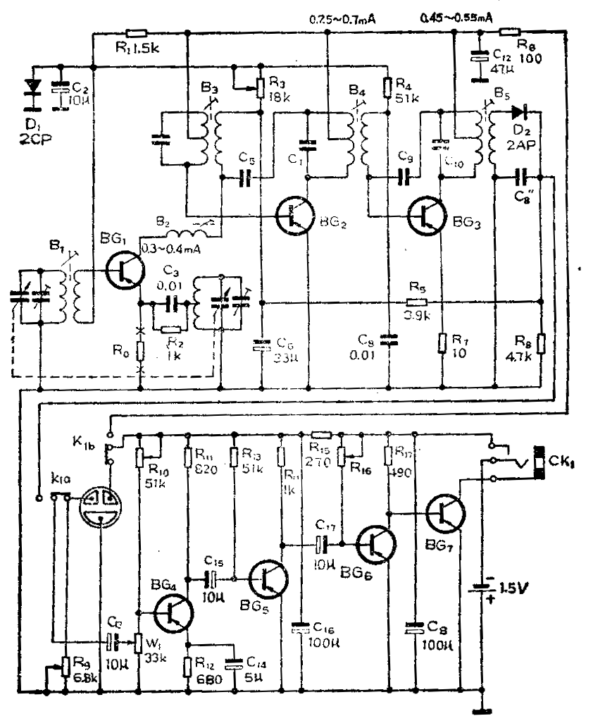
附图是该机的电原理图。全机由一节5号干电池供电。收音部分采用超外差程式。由于三只半导体管的基极用二极管D\(_{1}\)稳压,工作稳定可靠。助听部分由BG4~BG\(_{7}\)组成,BG4,BG\(_{5}\)对小信号进行放大,BG6,BG\(_{7}\)构成功率放大器。电声换能器件选用8Ω低阻耳塞。声增益为48dB。

本机BG\(_{1}\)~BG3使用3AG或3CG型高频小功率管,β大于60。BG\(_{4}\)~BG7使用3AX或3CX、PNP型低频三极管,β为80~180,漏电流要求尽量小。磁性天线使用50×12×6中波磁棒,初级用φ0.19~0.23高强度漆包线,初级绕110圈,次级绕10圈。B\(_{3}\)4\(_{5}\)采用7×7mmSY系列超小型中频变压器。
本机先调整低频放大器,调R\(_{16}\)使BG7静态电流为2~2.4mA,再调R\(_{1}\)0使BG4静态电流为0.25mA。然后将“收音”、“助听”转换开关K\(_{1}\)置于“助听”位置,调R9使助听效果最好。收音部分只调R\(_{3}\)使BG2的静态电流为0.5mA。如发现自激可适当降低BG\(_{2}\)静态电流。
该机“收音”、“助听”开关安放在背后。助听时调整音量电位器,音量不要过大,耳聋患者刚刚能听清楚为宜,这样有助于恢复听力。非耳聋患者可以用该机作为记忆力增强器。使用时将双耳塞同时插入耳中,对着面板正面的话筒,朗读或背诵课文、外文单词,经试验对记忆有增强作用。
该机用耳塞插头控制电源通断,不用时只要将耳塞插头拔出,即可关掉电源。(云堂)
这种产品由航空工业部勘察院仪表电器厂设计、生产并函售,每台19.60元(包括邮费)。该厂地点是北京海淀区大钟寺北白塔庵6号