这里介绍一个电子小玩具——快乐的小猫咪,它的外形见图1。闭合电源开关,小猫咪的两眼就会闪闪发光,每只眼睛都会发出红色光或绿色光。按下按键AN,猫眼的发光状态就会被固定下来,如果两眼都发绿色光,这和猫眼天然颜色相同,表示获胜了。用这个玩具还可以作记分游戏,我们只要事先约定:按下按键后如果两眼都发红光,记5分;两眼都发绿光,记4分;左眼发红光,右眼发绿光,记2分;左眼绿,右眼红,记1分。每人连续按三次按键,将三次记分累加起来,谁得分最多谁就获胜。

电路原理
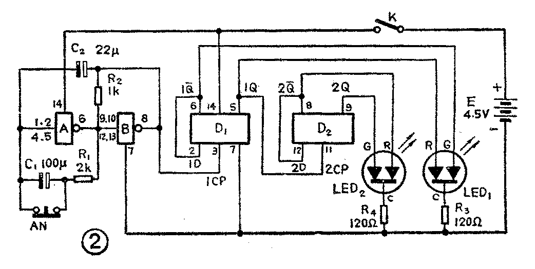
图2是玩具的电原理图。它主要由变色发光二极管LED\(_{1}\)、LED2,门电路A与B,触发器D\(_{1}\)、D2三大部分组成。

变色发光二极管是一种新型的半导体发光器件,它在同一管子里封装了一红、一绿两种颜色的发光管芯。两种管芯的负极采用同一个引出线C,发红光和绿光的两管芯正极分别采用两根引出线R和G。当R极处于高电位时,管子发红光;当G极处于高电位时,管子发绿光;当R、G同时处于高电位时,红绿管芯同时发光,光色呈橙色。
门电路A和B组成最简单的不对称自激多谐振荡器,振荡频率主要决定于电阻R\(_{1}\)和电容C2数值。电阻R\(_{2}\)的作用是使电路容易起振。
方块D\(_{1}\)、D2是两个D型触发器,在使用时都将它的Q输出端与D端相连,使它变成计数触发。D\(_{1}\)的1CP输出端接到门B的输出端(第8脚),D1的1Q输出端(第5脚)接到D\(_{2}\)的2CP端(第11脚)。当多谐振荡器门A和门B起振时,门B的8脚不断输出正、负脉冲,D1、D\(_{2}\)开始计数,它们的Q和Q-端电位高、低不断变化。而发光二极管LED1的R、G脚分别接到D\(_{1}\)的1Q和1Q-端,LED2的R、G脚分别接到D\(_{2}\)的2Q-和ZQ,因此小猫的两眼会红、绿不断地变化。如果变化频率较高,将看到闪闪的橙光。
如果按下AN,电容C\(_{1}\)接入电阻R1回路,由于C\(_{1}\)的充电作用,振荡器能继续振荡。数秒后,C1充电完毕,振荡器停振,触发器D\(_{1}\)、D2的状态就固定下来。猫眼的发光颜色就不再发生变化,由上面分析可知,猫眼的光色有四种可能即红红、绿绿、红绿和绿红。设置C\(_{1}\)的作用是使游戏者不能根据猫眼变光特点来决定按键时刻,增加了游戏难度。
元件选择
变色发光二极管LED\(_{1}\)、LED2可用河南新乡半导体厂生产的2EF300型变色发光二极管,它的外形和管脚接线见图3。

门A和门B用一块国产四输入端双与非门T063数字电路,D\(_{1}\)、D2则用一块国产双D触发器T077。T063和T077的管脚接线见图4。

电阻R\(_{1}\)、R2、R\(_{3}\)和R4均为1/8瓦碳膜电阻,电容C\(_{1}\)、C2为耐压6.3伏的小型电解电容器。K为小型拨动式电源开关。AN为常闭按钮,可用小型微动开关,也可自制。自制方法见图5所示。电源用5号电池三节。

安装
图6是本机印刷电路板图,集成块、电阻、电容、发光二极管和电池夹都可直接焊在印板复有铜箔的一面上,因此印刷板可以不必钻孔。

这个玩具只要接线无误,通电后就可正常工作。一般情况下不必作什么调试。如果想增减发光二极管的变光频率,可调节电阻R\(_{1}\)的阻值,但R1阻值不能太大,否则电路不易起振。增减电容C\(_{1}\)容量,可改变振荡的延续时间。调节R3、R\(_{4}\)阻值,可改变发光管的发光亮度。但R3、R\(_{4}\)阻值不宜过小,否则亮度太大,易损坏发光管,一般可调到流过发光管的电流在10毫安左右为宜。
机盒可用薄木板或有机玻璃板参照图1尺寸制作。在面板上画上猫咪脸谱,在两眼处各开一小圆孔,让发光管从里面伸出。在开孔时要注意两眼孔位置应对准印刷板焊接发光管的位置。(陈有卿)