在农业上,家禽孵化、温室育秧等许多场合都需要进行恒温控制。在这些地方,要求环境温度有一个适当的范围,不能过高也不能太低。本文介绍一个上下限温度报警器,它的功能是:当周围温度超出要求范围,例如温度过高或过低时,仪器中的扬声器均能报警。温度合适时,扬声器没声音,面板上的发光二极管亮;当温度太低时,发光二极管不亮,扬声器中发出连续的报警叫声,提醒你要赶快升温;当温度太高时,扬声器中发出断续的报警声,同时发光二极管断续发光。
本仪器的技术指标是:电源电压+4.5伏;温度控制范围在0~100℃范围内可调:上、下限温度范围为0~10℃;控制精度±0.5℃,耗电静态时为8mA,报警时约35mA。
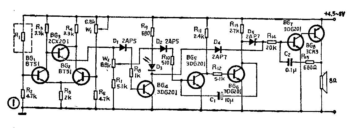
电路原理
图1为报警器电路图。图中R\(_{1}\)为一个热敏电阻,将它接为BG1的上偏置电阻。由BG\(_{1}\)、BG2、BG\(_{3}\)等一些元件组成差分放大器,采用这种电路的好处是可抑制由于温度变化对电路工作点的影响,可提高电路对温度的测试精度;由BG5、BG\(_{6}\)、C1、R\(_{11}\)、R12、R\(_{13}\)等元件构成一个自激多谐振荡器,当D2导通时,由前级通过D\(_{2}\)给BG5加上一个正向偏压,则多谐振荡器开始工作,由BG\(_{6}\)集电极输出方脉冲。如果D2不导通,BG\(_{5}\)失去正向偏压,则多谐振荡器不工作,此时BG6一直导通,其集电极输出低电位;由BG\(_{7}\)、BG8等元件组成一个振荡器,当D\(_{4}\)或D5导通时,通过前级给BG\(_{7}\)加上一个偏压,于是振荡器开始起振,扬声器开始报警。如果D4、D\(_{5}\)均不导通,BG7会失去正向偏压,振荡器则停振,扬声器就不响了。

下面具体分析一下控制过程:①当温度低于预定值时,R\(_{1}\)阻值增大,BG1基极电位下降,其集电极电位升高。此时BG\(_{3}\)(PNP管)基极与发射极之间所加的偏压减小,管子不导通,于是其集电极对地电位下降。当此电位低于D1、D\(_{2}\)的导通电压时(0.2V左右),D1、D\(_{2}\)截止,BG1不导通,D\(_{3}\)不亮。由于此时BG4集电极电位较高,所以D\(_{4}\)导通,BG7、BG\(_{8}\)等组成的振荡器起振,扬声器中发出连续的报警声。此时因D2不导通,BG\(_{5}\)、BG6等组成的多谐振荡器不工作,BG\(_{6}\)集电极处于低电位,D5不导通;②当温度逐渐上升,并且处于预定温度范围内时,由于R\(_{1}\)阻值减小,BG1基极电位上升,集电极电位下降。此时BG\(_{3}\)导通,其集电极对地电位提高,至使D1导通(D\(_{2}\)还不足以导通),BG4导通,D\(_{3}\)亮,由于BG4集电极电位下降,所以D\(_{4}\)不导通,BG7、BG\(_{8}\)失去偏压,振荡停止,扬声器就不报警了;③当温度继续升高,高于预定温度范围时,由于BG3集电极电位进一步提高,使得D\(_{2}\)也导通了,此时BG5、BG\(_{6}\)组成的多谐振荡器开始工作,BG6集电极的方脉冲使D\(_{5}\)断续导通,于是扬声器也以断续的叫声报警。在BG5导通时,由于流过D\(_{2}\)支路的电流加大,流过D1支路的电流将减小,因此BG\(_{4}\)会截止,D3不亮。只有在BG\(_{5}\)截止、BG6导通期间,D\(_{3}\)才亮。所以在超温报警时,D3的亮光是一闪一闪的。调整电位器W\(_{1}\)(这个电位器的调节旋钮在面板上),可以改变被控温度点以满足各种要求。
元件选择及安装调试经验
BG\(_{1}\)、BG2为BT51差分对管,β≥40,应严格配对。BG\(_{3}\)为3CX201硅PNP管,β≥50。BG4、BG\(_{5}\)、BG6、BG\(_{7}\)为3DK7(或用3DG6、3DG201),β>30。BG8为3CK3(或3CG4、3CX204等)。在电阻元件中,除R\(_{1}\)选用MF53热敏电阻外,其余均选用金属膜电阻。W1为碳膜电位器。
印刷电路板图见图2。按图组装、焊接好并检查无误后,即可接通电源进行调试。此时扬声器中一般应发声,通过调节W\(_{1}\)可使其不发声但D3发光,这一点就是平衡点;再调节W\(_{1}\)使扬声器发出断续响声,D3闪动发光,这就是超温报警。通过调整R\(_{15}\)和C2的大小,可选定你喜欢的声音音调,R\(_{15}\)一般为15千欧~120千欧,C2一般为0.01~O.2μF;再将W\(_{1}\)向超温报警的反方向旋动,先出现平衡点,而后扬声器发出连续叫声,D3不发光,这时为低温报警。如果在调试中调不出上述现象,说明元件选择或焊接有问题,应认真检查排除故障后再重调。

调节电位器W\(_{2}\),可改变报警温度的灵敏度,可达±60℃。如果想增加D3亮度,可适当减小R\(_{9}\)阻值(最小可减至200欧)。
使用时将R\(_{1}\)放在一个探头内,将探头放进恒温箱,当温度达到需要控制的某值时,将W1调在平衡点上即可(该仪器邮购消息见第48页)。(王安伟 许宏)