通常万用表高阻档用高压叠层电池作电源,这种电池市面上常常缺货,为此,我设计了一个简单的电路,可取代原来的叠层电池,使用起来很方便。

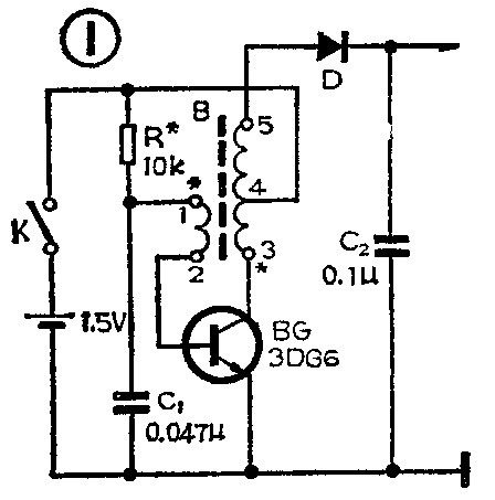
该装置的电路原理如图1,使用时,可将此装置安放在原来放叠层电池的位置,电表内部其它地方无需作大改动。图1中,由BG、R、C\(_{1}\)和变压器B组成一个间歇振荡器。振荡电压经B升压后,由二极管D整流,并经C2滤波后供电表高阻档用。
为了缩小体积,间歇振荡器的振荡频率设计得较高。变压器B采用内径为3mm,外径为6mm的铁氧体磁环绕制。也可以用TTF—2型中频变压器改制。对电路中所有元件的参数及质量要求均不很严格,C\(_{1}\)在0.01~O.1μF范围内选用,C2在0.022~0.1μF范围内选用,R阻值为几千欧到十几千欧,二极管D可用3DG6的Cb结代替。





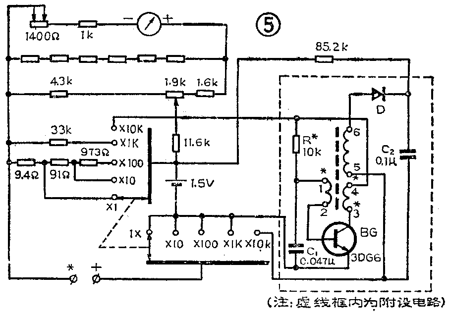
以MF—10型万用表为例,该表R×100K档用15伏电池,则变压器B可用TTF—2改制。用φ0.08~φ0.lmm的漆包线,1~2之间绕5匝,3~4之间绕15匝,4~5之间绕150匝。也可将TTF—2中周的原初级线圈留下,但原抽头要悬空,另绕16匝与原初级线圈同向串联,接头处作为抽头4。原次级剪断,另绕6匝作为B次级的l~2端。图2是图1的印刷电路图,可供参考。只要焊接无误。一般不需调整。该装置与MF-10型表的连接见图3。用于遵义500型万用表的原理图与图1略有区别,见图4。与500型表的连线图见图5。500型表R×10K档原用(9+1.5)V,此时变压器B的圈数为:1~2端绕7匝,3~4端绕20匝,5~6端绕150匝。其它型号如震华106、震华108、遵义MF—9型等电表,也可用图1原理电路,但与电表连接时需加装上一个开关K,连接方法见图6。(张永吉)