(李福祥 汪锡明)电视机的调谐器,习惯称之为“高频头”,是电视机的重要组成部分。按照调谐方式,高频头可分为:机械调谐式和电调谐式。在机械调谐式高频头中,又可分为:并联电感切换方式、串联电感分段短路方式、电容可变连续调谐方式等几种。目前国产黑白电视机绝大部分是采用KP—12型高频头,它是采用并联电感切换方式来切换频道的,每个频道都有自己独立的调谐电感,用切换开关进行切换。进口的黑白电视机,大多数采用串联电感分段短路的方式切换频道。各种高频头虽然切换频道的方式不同,但检修故障的方法是基本相同的,本文将以KP—12型高频头为例,介绍其检修方法:
一、检查高频头与外电路的连接线
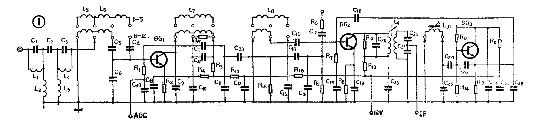
KP—12型高频头的基本电路如图1所示。由图1可以看出:高频头与外电路有三根连接线。一根线是中频输出;另外两根线,一根是12伏直流供电电压,另一根是2.4~3.6伏高频延迟AGC电压。检查时,主要应检查这两根输入电压线,其目的是判断故障是否在高频头内。

1.测量电压法:在测量12伏电压和AGC电压时,常出现三种情况:(1)12伏电压或AGC电压为零。造成电压为零的原因:一是12伏电压或AGC电压没有送来,二是高频头内部通地。为了区别这两种情况,可以把高频头与电视机底盘的连接线插头取下来,再用电压表测量底盘插座上的12伏或AGC电压是否正常,如果电压仍然为零,说明是电视机底盘电路没有给出正常的电压,应按电路图逐点检查有关电路。如果底盘插座上电压正常,说明故障在高频头电路之内,应进一步检查高频头内12伏或AGC电路的去耦电容是否击穿通地、印刷电路的某个焊点是否太大而碰地、元件的焊接头是否残留太长而碰地或引入线的绝缘不好而碰地等。进口电视机有的高频头是采用穿芯电容馈送12伏或AGC电压,检查时要注意穿芯电容是否击穿或严重漏电。(2)12伏或AGC电压偏低:按照上述方法,区分是电视机底盘电路问题,还是高频头内部问题。如果检查确定是高频头内部问题,则应重点检查去耦电容是否漏电,有关晶体管是否击穿等。(3)12伏或AGC电压偏高:12伏电压偏高,十有八九是电源问题。AGC电压偏高,应按照上述方法区分是高频头内部问题,还是AGC电路问题,如果确定是高频头内部问题,主要检查高放管C、B极之间是否击穿。
2.测量电流法:把12伏或AGC电压的连接线头焊开,将电流表串入,正表笔接电源端,负表笔接高频头输入端。在正常情况下,KP—12型高频头的12伏电源线上电流为20mA左右,AGC电压线上电流为50~l00μA左右,如果这两个电流基本正常,则说明高频头内直流电路工作正常,如果电流太大或太小,则说明故障在高频头内。
3.测量电阻法:把高频头与电视机底盘分开,分别测量高频头上12伏电压和AGC电压输入端的对地阻值,以及底盘上12伏电压和AGC电压输出端的对地阻值。正常的阻值已列在表1,根据阻值的正常与否,可判断故障是否在高频头内。

二、检查高频头内部电路
1.用万用表检查:用万用表检查,主要是测量高放、混频和本机振荡各晶体管管脚对地电压和电阻值,三个晶体管各管脚的正常电压和电阻值如表2所列,一般情况,高放管和混频管的基极与发射极之间应有0.6伏左右的正向偏置电压,集电极对地电压要大于6伏。而振荡管在工作情况下基极电压与发射极电压相差很少,如果振荡管的基极与发射极之间有0.6伏左右的正向偏置电压,则是振荡管停止工作的表示,这时振荡管的集电极电压变高。根据这些电压的特点,再把实际测量的电压与表2比较,基本上可以判断出各晶体管的直流工作状态是否正常。用测量晶体管各管脚对地阻值的方法来检查和判断故障部位,以前已介绍过了,因此在此就不再重复。

2.用信号发生器检查:(1)用已调制的图象中频信号,自高频头的图象中频输出端(IF)送入,检查图象中频放大、视频放大等电路是否正常。在正常情况下,只要送入的信号电平不小于1mV,荧光屏上就能显示正常的图象。得到正常的图象后,再把信号注入点改接到混频级输入测试点上,检查混频级电路工作是否正常,如果图象显示正常,说明混频级电路工作正常,反之,则说明混频级电路有故障。(2)把图象中频已调信号改换成高频已调信号,从混频管基极送入,检查本机振荡电路工作是否正常,如果在荧光屏上能得到正常的图象(可能会弱一点),则说明本机振荡电路工作正常,并且振荡频率正确。如果不能显示正常的图象,或图象很弱,则说明本机振荡电路没有工作或振荡信号弱、频率偏差大。(3)把高频已调信号送到高放管的基极或天线输入端,可检查出高放级和高频输入电路工作是否正常。
在业余条件下,如果没有信号发生器,也可以用一个较好的天线接收下来的广播电视信号,作为高频调制信号。用另一个正常的高频头,把接收来的广播电视信号转变为图象中频信号,作为图象中频信号源。
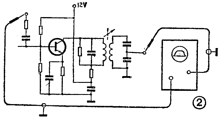
3.用扫频仪检查:什么情况下使用扫频仪,通常有以下几种情况:(1)用测电压、测电阻和测电流的方法进行多次检查,仍找不到故障的时候;(2)怀疑调谐回路失调或振荡频率严重偏离的时候;(3)检查振荡电路是否起振、测试振荡频率的时候;(4)需要测试高频头的高频增益和工作带宽的时候。扫频仪的使用方法,以前已讨论过了,请参阅本刊1983年第6期上有关文章,在此我们着重讨论一下以前没有讨论过的混频级频率特性的测试方法。测量时,扫频仪与高频头的连接方法如图2所示,频率特性的要求如图3所示,频率特性的峰点,要求在伴音中频与图象中频之间的中心点上(33.75MHz),增益不宜太大,一般在6—10分贝。在测试中,如果发现频率特性不符合要求,可在有关的调谐电路上,拨动一下电感线圈的疏密,以改变电感量或调整补偿电容,看其频率特性能否得到校正。如不能校正,可进一步检查晶体管和有关电容的特性是否变坏,特别是旁路电容、耦合电容是否开裂或变值等。


三、晶体管的代换
对于高频头晶体管的代换,一般要考虑以下几个问题:
1.晶体管的结型和材料:要弄清原来用的晶体管是PNP型还是NPN型,是硅材料还是锗材料,代换时要用相同结型和材料的晶体管。
2.晶体管的功率和特征频率:高频头所用的晶体管是小功率高频晶体管,其特征频率一般应大于500MHz,最低不小于300MHz。UHF高频头所用的晶体管,特征频率应在1000MHz以上,代换用的晶体管必须满足上述要求。
3.晶体管的AGC特性:高频头中高放级所用的晶体管一般都具有AGC特性,并有正向AGC和负向AGC之分。在代换时要了解原晶体管的AGC特性是正向的还是负向的,并测量AGC电压是多少,代换管的AGC特性必须与原管相同,AGC电压也要相差不多。一般情况下,高放级所用的具有AGC特性的晶体管可以胜任混频级和本机振荡电路的工作,而混频级或振荡电路所用的无AGC特性的晶体管,却不能胜任高放级工作。
适用于国产高频头的高放、混频和本机振荡电路的国产晶体管列于表3,以供参考。

四、机械式高频头的常见故障
1.滚筒式频道开关接触不良:故障现象表现为全部频道或个别频道图象弱、杂波大,在转动切换开关时,有时图象瞬间变强,或者把频道开关放在两个频道位置之间时,能得到正常的图象。
这样的故障多是由于使用时间较长,接点上沾有很多杂质或是接点生锈、接点弹簧片压力不足变松等原因造成的。一个频道骨架上约有10个接点,只要其中1—2个接点接触不良,即可造成上述故障。
消除故障的方法:把滚筒从高频头中取出,用鹿皮或绸布条沾上酒精或汽油,把接点和公共弹簧片擦洗干净,如果发现弹簧片或接点磨损严重或折断,可更换新的弹簧片。有时由于其它原因也会造成信号弱、杂波大。例如:一台飞跃12D4型黑白电视机,由于频道切换开关弹簧片的塑料座变形,使开关接触不良,这时只靠清洗接点是不行的,必须校正塑料座才能排除故障。
2.高放级故障:在KP—12型高频头中,高放管发生故障的机会要多于其它两个晶体管,而且大多是BE结击穿或断极。这时的故障现象是:所有的频道都是信号弱、杂波大,严重时还会无声、无象、无杂波。
判断故障的方法:把天线接到混频级的测试点上,如果这时图象变好了,则说明混频级和本机振荡电路工作正常,故障在高放级,这时再对高放级进行检查,并判断高放管工作是否正常。
例1:昆仑BSH—23型黑白电视机,二、六、八频道(北京地区)均出现信号弱、杂波大的故障。把天线接到混频级测试点上,则图象变好,测量高放管各极电压,E=1.2V,B=2.8V,C=9V,正常时高放管B、E极间应有0.6V左右的正偏压,目前变为1.6V,说明B、E极间电压不正常,取下高放管检查,发现B、E极间电阻为∞,说明管子内部断线,更换高放管后,故障排除。
例2:北京牌842型黑白电视,收二、六、八频道均出现信号弱,杂波大故障。测量高频头12V正常,AGC电压为1.7V,切断AGC输入,测来线电压为2.2V,说明高频头内部有问题,把天线接到测试点上,图象变好些,说明故障可能在高放级。测量高放管各级电压,C=12V,B=0.4V,E=0.4V。分析电压数据说明高放管不导通。取下高放管检查,发现BE之间击穿,换新管后,故障排除。
3.本机振荡停振或频率偏差大:停振时各频道无声无象、杂波很小,把天线放在测试点上也无改善,但12V电压和AGC电压基本正常。如果本机振荡频率发生偏移,故障现象会随偏移程度不同出现几种情况,如:信号弱、杂波大,图象颗粒粗,图象扭动,不同步,有声无影,或有影无声等等。遇到这种情况,首先调高频微调旋钮,如果微调到头,仍不能得到较好的接收效果,就必须打开高频头,检查振荡电路的元件。
例如:一台北京842型电视机,各频道都无影无声,杂波也很小,测量高频头12V电源正常,AGC电压为2.1V,也基本正常,把天线接到测试点上,图象无改善。打开高频头,测量振荡管各极电压,C=11.5V,B=1.5V E=0.8V,从电压情况看,振荡级未工作,取下振荡管检查,管子正常,更换新管后,故障不能排除。再用扫频仪测量振荡频率,结果找不到振荡信号,再加大振荡电路的回授电容(图1中的C\(_{28}\)),即在C28上并一个绕线电容,则电路开始工作,用扫频仪校准振荡频率后,电视机工作正常,这时振荡管各极电压是E=3.4V,B=2.9V,C=9.1V。
4.混频管故障:在高频头中,混频电路发生故障的机会不多,但也不能忽略。
例如:一台北京860型黑白电视机,图象上有水平的白点带状干扰,伴随白点,喇叭内有咯吱声,很象用金属线触碰扁状天线时发生的现象,换一只高频头后,故障排除,说明故障在高频头内。测量高频头各晶体管的电压,电压基本正常,只是在有咯吱声时,电压有摆动,仔细观察各管电压摆动情况,发现在有干扰时混频管的电压变化较大,因此故障可能在混频级中,换一个新的混频管后,故障立即排除,事实证明是原混频管有问题,可能是管子内部接触不良。