电视机低压开关稳压电源与线性串联稳压电源相比,具有功耗小、效率高、体积小、重量轻和稳压范围宽等优点。已在部分国产35厘米和44厘米黑白电视机中应用。本文介绍沈阳电视机总厂研制的35厘米电视机用开关电源。
电路组成
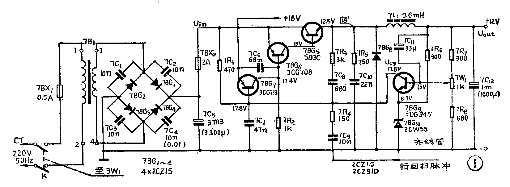
本电路是串联型脉宽调制式开关稳压电源,整流器送给稳压器的输入电压U\(_{in}\)=18V,故称它为低压开关电源。电路结构如图①所示,它与线性串联型稳压电源的电路结构相似,有取样电路、基准电压和误差放大器,所不同的是开关电源必须有续流二极管7BG8(简称续流管),以及储能电感7L\(_{1}\)。但是,它们最主要的区别在于调整管工作状态的不同,开关电源的调管是断续地工作在开关状态,线性电源的调整管是连续地工作在线性放大状态。

本电源是采取自激振荡启动,而后由行回扫脉冲进行同步工作。图②是它的方框图,图中复合开关调整管由7BG\(_{5}\)、7BG6组成,简称开关管,脉宽调制级由7BG\(_{7}\)担任,以上这三只管(虚线方框内)又组成一个自激振荡器,当接通电源开关时,启动稳压器进入正常工作状态。积分电路由7C7和7R\(_{4}\)组成,它将行扫描系统送来的行回扫脉冲积分成锯齿波加到脉宽调制级的基极。续流管7BG8、储能电感7L\(_{1}\)和滤波电容7C12的共同作用是将开关管输出的方波转换为平滑的直流。其它部分与线性串联型稳压电源相同,不必赘述。

启动过程
本电源是自激启动的它激式电源。如果将行回扫脉冲和积分电路7C\(_{7}\)、7R4去掉,它便成为自激式开关电源。本电源之所以用行回扫脉冲同步,主要是为了减轻开关干扰。而行回扫脉冲只有在电源开始工作并向电视机供电后才能输出,所以电源是在启动之后得到回扫脉冲的。
当电源开关K接通后,220V交流经整流、滤波输出的不稳定直流电压U\(_{in}\),通过7R1对7C\(_{8}\)进行充电,其路经7R1、7C\(_{8}\)、7R3和7L\(_{1}\)等元件到负载后入地。此时7R1上的电压给7BG\(_{7}\)提供偏置使其饱和导通;同时复合开关管由于7BG7导通而截止。当7C\(_{8}\)下端电位充到足够正时, 7BG7便进入截止状态,同时复合开关管7BG\(_{6}\)、7BG5转入饱和导通状态。开关管的导通电流通过储能电感7L\(_{1}\)时,在两端产生的电位为左端高右端低,故续流管7BG8处于反偏而截止。此时在电源的输出端开始建立起电压U\(_{out}\),该电压误差放大器开始工作,7C8便通过7BG\(_{9}\)、7BG10放电;当7C\(_{8}\)下端的正电位由于放电而下降到一定程度时,7BG7又重新导通,同时复合开关管又截止。此时由于开关管的关断,使储能电感7L\(_{1}\)两端产生一个左负右正的电势,以阻止电流的减少。从而使续流管获得正偏而导通,使储能电感储存的能量,通过续流管与负载构成回路,继续向负载供电。这时稳压器的输入电压Uin又通过7R\(_{1}\)向7C8充电,直到7BG\(_{7}\)又截止、复合开关管再导通,振荡便如此循环下去。
该电路的自激振荡频率受多种因素的影响,其中主要由7C\(_{8}\)和7R3决定。在实际调测中,可改变7C\(_{7}\)的容量来改变振荡频率略低于行频。
当开关电源开始工作后,行扫描电路便有行回扫脉冲经积分电路7C\(_{7}\)、7R4转变为锯齿波送到7BG\(_{7}\)管的基极;开关电源便从自激状态转变为受行频控制的同步工作状态,从此,电源便进入了稳定的工作状态。
稳压原理
在脉冲宽度调制式开关稳压电源中,输出电压U\(_{out}\)与输入电压Uin最基本的关系式为U\(_{out}\)=(Ton/T\(_{H}\))Uin式中T\(_{H}\)为与行回扫脉冲周期同步的开关管的开关转换周期,它等于开关管导通持续时间Ton与截止持续时间T\(_{off}\)之和,即TH=T\(_{on}\)+Toff=64微秒,如图③(d)。

从上式可以看出,只要改变T\(_{H}\)或Ton便可调节输出电压U\(_{out}\)的大小。本电源的TH是固定的,它是利用反馈系统控制T\(_{on}\)的长短来调节输出电压的高低,从而实现稳压的。其具体稳压过程结合图③波形说明如下。
当输出电压U\(_{out}\)由于输入电压Uin升高或负载电流I\(_{L}\)减小而升高时,如图③(a),经取样电路加到误差放大管7BG9基极的电压U\(_{b9}\)也按分压比升高,使该管的集电极电流Ic9增大,集电极电压U\(_{c9}\)降低,如图(c)实线。此时由行扫描电路送来的行回扫脉冲如图(b),经积分电路7C7和7R\(_{4}\)变为锯齿波迭加在Uc9上,如图(c) 。由于锯齿波迭加在降低的U\(_{c9}\)上,故锯齿波尖部超过脉宽调制管7BG7基极截止电位(如图c中虚线)U\(_{b7}\)的时间短,该管的截止时间就短,而受脉宽调制管控制的开关管7BG6、7BG\(_{5}\)的导通时间就短,其输出脉冲就窄,如图(d),故使输出电压Uout(见图d中横虚线)降低,也即使升高的输出电压又降了下来,使之趋于稳定。
反之,当输出电压降低时,如图③(a′),其调节过程与上述相同,调节方向相反,波形变化如图3右所示,不再赘述。
主要元器件的选择
1.开关调整管 开关调整管是该电源关键性器件。首先它应满足耐压要求,即考虑可能产生的最大脉冲的尖峰电压值。因此一般取反向击穿电压大于输入电压的二倍(即BV\(_{CEO}\)≥2Uin)的管子,这里选用耐压50V以上的管子。要求管子饱和压降V\(_{CEO}\)≤1V。其次,集电极最大允许电流至少应大于最大负载电流1.5倍(即ICM≥1.5I\(_{L}\))。否则将加速管子老化,甚至损坏。为了提高效率,要求管子上升时间tr和下降时间t\(_{f}\)之和小于0.2T(开关周期)。
2. 续流二极管 续流管工作在开关状态。当开关管饱和导通时,续流管截止,这时全部输入电压U\(_{in}\)都加在续流管的两端,同时考虑可能产生的最大尖峰电压,要求续流管耐压应大于输入电压Uin二倍。当开关管截止时,续流管导通,储存在电感7L\(_{1}\)中的能量通过续流管传输给负载。因此,续流管的正向电流必须大于负载电流的1.5倍。为了保证开关管的安全,续流管的反向恢复时间应小于开关管开启时间的一半,这里选为≤0.6μs。

3.储能电感及滤波电容 储能电感7L\(_{1}\)是输出端滤波器的组成部分。因此,7L1的选择与电容7C\(_{12}\)的选择结合起来考虑。为了减小纹波,7L1的电感量应选得大一些,但不宜过大,不得大于1mH。如果过大,其损耗、体积、成本和分布电容都将增大,并容易产生振铃。当然,也不宜过小,不能小于40μH,否则不能满足储能和滤波的要求。既要减小损耗和干扰,又要满足滤波要求,可采用较大容量的电容器(如1000μF)和较小值的电感(本电路选7L\(_{1}\)为0.6mH)。其它元件无特殊要求。本电源印制电路板图如图④所示。(王光升 张国峰)