调频机的调频头可以象电视机高频头一样制成独立部件,也可以和中、低频等电路装配在同一印制板上。这一讲我们选择几种有代表性的实用电路分析其工作原理和调试方法。
红灯2L1400的调频头电路
图1为红灯2L1400型台式立体声收录机的调频头电路。输入回路L\(_{1}\)采用双端输入变压器耦合方式,以便于和外接天线接口。输入回路次级固定调谐于98MHz附近。高放和变频电路均采用共基接法,两管基极偏置电阻相连,节省了一只电阻。高频晶体管共基接法时,其输入阻抗用h11b参量表示。h\(_{11b}\)=re+(1-α)r\(_{bb}\),式中re为晶体管发射极电阻,r\(_{e}\)=26mV/Ie(mA);r′bb为晶体管基极电阻,由晶体管制造工艺决定,一般约为30~300Ω,α=1-1/β。因为β值较大,α≈1,所以,h\(_{llb}\)≈re。2L1400调频头BG\(_{1}\)管发射极电流设计为0.6mA,故hllb≈44Ω。可见共基接法输入阻抗很低。对于高频放大器来说,以这样低的阻抗接入输入回路次级谐振回路,显然,恰好可以降低谐振回路的有载Q值,使回路呈宽带特性。本机输入回路与共基高频放大器连接后,输入回路带宽近似可达88~108MHz,谐振中心频率约为98MHz。对于变频器来说,这样低的输入阻抗则不能直接接至高放调谐回路的热端,否则,高放选择性大跌,假象抑制和假响应抑制达不到要求,高放增益也受损失。因此,采用C\(_{8}\)、C9+C\(_{M}\)分压方式解决高放回路与变频级的级间匹配问题。CM为变频管输入电容和级间布线分布电容之和。共基电路的输入电容主要是发射极—基极结电容C\(_{eb}\),一般为10~100PF。

变频级采用自激励方式,BG\(_{2}\)管兼做混频器和本机振荡器。工作原理已在前一讲介绍过了。D2和C\(_{14}\)是自动频率控制(AFC)电路的控制元件。有关AFC的知识将在以后辅助电路一讲中讲述。本机采用上差法变频,本振频率比信号高10.7MHz。为使本振线圈匝数不至于太少,在保证频率覆盖的前提下,双连可变电容器串接100PF和33PF电容后接入回路,这既可使本振线圈不少于3匝,又有利于高放与本振的统调。串联电容100PF和33PF差值是在实验整机灵敏度从88~108MHz范围内的均匀性时决定下来的。
以下介绍调试方法,所叙内容也适合其它电路形式的调频头。以采用高频扫频图示仪(如BT—3、BT—7型)进行调试最为方便。可分中频、变频、高放、输入回路和总调五步进行。
第一步,将L\(_{3}\)用外接线短路,从BG2发射极注入中频扫频信号,BT—3“输入”用有检波头的电缆接于BG\(_{2}\)集电极,调B1使谐振曲线最高点为10.7MHz。
第二步,去掉L\(_{3}\)短路线,BT—3接法不变。改送87~109MHz高频扫频信号(2L1400机按我国过去标准设计,频率范围为88~108MHz,高、低端各留1MHz左右的频率余量),先将可变电容器旋至容量最大位,调L4,使图示仪曲线在87MHz处最高,同时,可观察到在97.7MHz附近有一小峰,为本振信号;在108.4MHz处另有一大峰,是假象信号,曲线如图3所示。然后,将可变电容器旋至容量最小位,调C\(_{16}\),使图示仪曲线在109MHz处最高,观察119.7MHz处应有一小峰,130.4MHz处有一大峰(见图4)。


第三步,BT—3“输出”改接BG\(_{1}\),发射极,BT—3检波“输入”接于BG2发射极,可变电容器容量最大位时,调L\(_{2}\)使曲线87MHz处最高;可变电容器容量最小位时,调C6使曲线在109MHz处最高。
第四步,BT—3“输出”改接L\(_{1}\)初级回路任一输入端,BT—3检波“输入”接于BG1发射极,调L\(_{1}\)使输入回路谐振曲线呈图5所示形状。

第五步, BT—3“输出”仍接L\(_{1}\)初级,“输入”改接BG2集电极。重复第三步调整过程细调L\(_{2}\)和C6,使相应低、高端频率点上谐振曲线峰值最高,象频峰值最低。
若有超高频毫伏表,可在BG\(_{2}\)发射极测得本振电压,幅度应为40~100mV。幅度如不足,可更换R5,使BG\(_{2}\)发射极偏置电压为1~1.2V,或将C11改为10pF。L\(_{3}\)一般勿需调整。
D7335P集成电路调频头
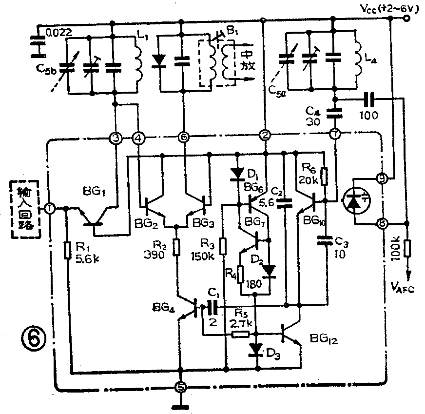
D7335P是国产集成电路高频头,系仿制日本东芝TA7335P产品,有外围元件少,调整方便,性能稳定等优点。它和松下公司的AN7213属同类产品,内电路相似,但它把AFC用变容二极管也集成到内电路中去了,进一步削减了外围元件。国产整机采用者颇多,图6是它的内部等效电路和典型应用电路图。

先对这种调频头电路原理作一些分析。
1.高频放大器电路 BG\(_{1}\)构成共基放大电路。它与分立器件共基电路不同之处是它的基极直接接于电源,把基极和集电极偏置在直流等电位。这样可使集成块少设一只基极引出脚,同时节省了一个偏置电阻和一个旁路电容(大容量电容在集成电路内部是无法制造的)。R1是射极偏置电阻,其值决定了BG\(_{1}\)的静态工作点,当VCC=4V时,J\(_{e}\)=0.6mA。本级放大倍数主要取决于集电极谐振回路阻抗,图示接法增益约为20~25dB。
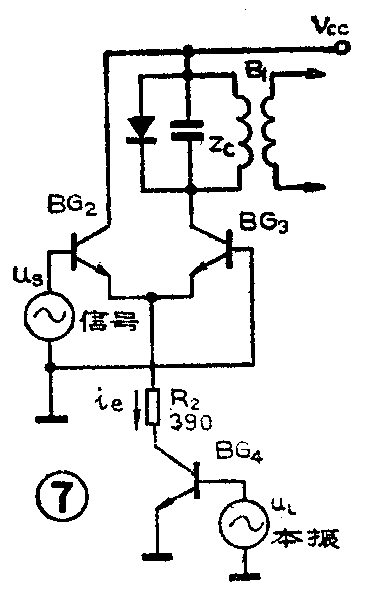
2.混频电路 由BG\(_{2}\)、BG3、BG\(_{4}\)差分放大器构成平衡混频器,等效电路如图7所示。BG2、BG\(_{3}\)构成单端输出差分放大器,BG4是它们的恒流源。BG\(_{2}\)基极接BG1输出,BG\(_{3}\)基极接电源,即接交流零电位,所以,高频信号uS是加于BG\(_{2}\)、BG3基极之间的。本振电压从BG\(_{4}\)基极注入,控制恒流源电流ie随之变化。静态时,BG\(_{2}\)、BG3基极电压相等,差分电路平衡,BG\(_{3}\)负载回路(中周)中无交流信号产生。当有高频信号uS输入时差动放大器以它的乘法器性能起混频作用。变频增益为0dB。

图中R\(_{2}\)的作用是,当有强信号输入至混频级时,减小BG2,BG\(_{3}\)极间参数的变化,以减轻频率牵引现象。
3.本振电路 BG\(_{1}\)0、BG12构成本振电路,等效电路如图8所示。图中,BG\(_{1}\)0为振荡管,BG12是它的射极偏置电流源,兼做交流阻抗很高的有源负载。BG\(_{1}\)0接成共集电极电容三点式振荡电路。C3起输出端(射极)向输入端(基极)正反馈作用,C\(_{2}\)对C3起分压作用,振荡频率主要取决于L\(_{4}\)和C5。C\(_{4}\)串联在振荡回路和基极之间可起提高频率稳定度的作用。这种接法的电容三点式振荡电路称为克拉泼方式。C1为耦合电容,注入混频器的本振电压强度为40~200mV,典型值为75mV。R\(_{5}\)可防止本振电压回馈至BG12基极,以免影响偏置的稳定性。

4.稳压电路 BG\(_{6}\)、BG7、D\(_{1}\)、D2、D\(_{3}\)及R4、R\(_{3}\)构成内部稳压电路。实质是稳流电路,用来稳定本振和混频器的静态工作电流,使其适应较宽的电源电压范围(D7335P的电源电压范围可达2~6V)。
D\(_{1}\)和BG6构成镜像电流源偏置,D\(_{2}\)和BG7也构成镜像电流源偏置。而BG\(_{6}\)和BG7又“首尾”相接,相互接成正反馈电路,使四管电流与电源电压基本无关。外电压V\(_{cc}\)接通后,瞬间导通电流经过D1、R\(_{3}\),BG6立即得到偏置而导通,随后BG\(_{7}\)导通。彼此自偏置,与外电源电压无关。R4起限流作用。经过计算可得流过BG\(_{7}\)、D1、R\(_{4}\)和BG6、D\(_{2}\)的电流各为0.2mA。则流过D3电流为0.4mA,此值也和外电源电压无关。D\(_{3}\)做为镜像电流源偏置稳定了BG4和BG\(_{12}\)的电流。
下面再谈谈这种调频头的制作要点。
图9是按图6电路制作的印制板图。主调电容器采用薄膜介质密封FM/AM四连可变电容器;输入回路采用带通滤波器也可采用分立元件输入回路;电感线圈和中频变压器参数可通用表1数据,调试方法也与前述2L1400高频头基本相同。

D7335P各脚静态电压值如表2所示。
表2
端 点 1 2 3 4 5 6 7 8 9
电 V\(_{cc}\)=6 5.2 6 6 6 0 6 5.6
压
(V) V\(_{cc}\)=4 3.4 4 4 4 0 4 3 1.5 4
制作中注意事项如下:
1.从上述对本振电路工作原理分析可知,C\(_{2}\)、C3两个分压电容的比值决定振荡强度,由于集成电路内部制作的电容误差大,C\(_{2}\)、C3比值存在误差,故要求外接振荡回路Q值不能过低,要避免采用铝、铜芯放于线圈内(在分立器件调频头中,为便于调整本振线圈电感,有时采用铝或铜材料的螺芯装在线圈骨架内),用脱胎线圈时也不宜过分拨开。另外,C\(_{4}\)取值以30pF左右为宜,过小时,振荡强度变低;过大时,本振频率的稳定性下降。本振强度在集成块⑥脚测量,测量时应将原接⑥脚的中周回路断开,在⑥脚和Vcc间加390Ω电阻。若本振电压偏高,可略减小C\(_{4}\)值。
2.目前,国内多将D7335p和中放集成电路D7640AP配用。由于D7640AP的AFC输出端(⑨脚)有1.5V固定直流偏压,为使D7335P的变容二极管能够反向偏置,在图6电路中我们采用了将变容二极管负端接于正电源的办法。这种接法仅适用于V\(_{cc}\)=2~4V的条件下,若采用Vcc=4~6V,则变容二极管宜改接至D7640AP的④脚,该脚是D7640AP内部稳压源输出电压(+2.3V)。
3.若将D7335P用于台式机中,且采用空气介质四连可变电容器时,主调电容器动片端不宜再像图6那样接于直流电源线上,宜改接至地,以避免调制交流声。
4.自排印制板线路图时,特别要注意②脚在电源线上的位置。由于高频输入信号是附加在BG\(_{1}\)的射极和基极之间,②脚既是基极,又是直流电压供电端。为避免后级各部分电路的高频成分在电源线上形成的地电流混入②脚,②脚的布线应注意不要和后级电路布线造成公共耦合的阻抗(参照图9)。
电调谐调频头电路
图10所示为一采用2CC14变容管的实用电调谐高频头电原理图。由于2CC14容量变化范围太大,故将隔离电容C\(_{7}\),C17分别采用62pF、51pF,以压缩调谐范围至87~108MHz,同时可以防止本振停振。电源电压为6V,要求稳压性能良好。电感线圈和中频变压器参数通用表1,调整方法也与前述2L1400调频头相同。图11为印制板线路图。


该电路也可以改制成点调谐预置选台的方式。将控制电压Vd分三档用开关控制,控制电路如图12所示。用微调电位器W\(_{1}\)~W3分别调谐调频头频率,使它分别调到三个电台的频率。使用时,只要按下控制开关就可选收相应电台的节目,这和电调谐电视机选台的方式是一样的。

手头没有2CC14等型号变容管时,也可以利用3DG12一类中功率高频硅管代替,该类硅管b、c间PN结电容比2CC14略小。使用时,将射极空着不用,基极b等效于2CC14的正端,集电极C等效于2CC14的负端。C\(_{7}\)、C17相应改用470pF。(高乃康)

