太阳能电子鸟的外形图如图1所示。它受阳光照射时,笼中的鸟会发出模拟鸟叫声,而且随着光照强度的变化,鸟叫声出会随之变换。

工作原理

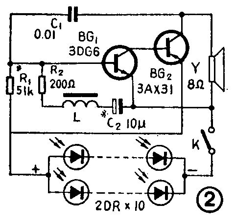
图2是电子鸟的电路图。晶体管BG\(_{1}\)、BG2和电阻R\(_{1}\)、电容C1组成一自激音频振荡器,当硅光电池受光照时即产生电压,在BG\(_{1}\)的基极产生一个电信号,经过BG1、BG\(_{2}\)两级放大后,又经电容C1反回给BG\(_{1}\)的基极,由于电路是正反馈回路,故可以引起振荡而产生音频信号,其振荡的频率主要由R1C\(_{1}\)的时间常数决定。图中L、R2、C\(_{2}\)与晶体管BG1又组成间歇振荡器,适当选取L、C\(_{2}\)的数值,使间歇振荡器的频率为3~10赫,由于这一振荡由BG1产生,从而可控制上述音频信号间歇地工作,扬声器即发出与鸟叫声很相似的“啾啾”声。
元件选择
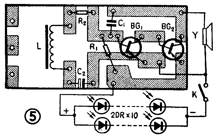
本装置中BG\(_{1}\)选用3DG6、BG2选用3AX31型晶体管,β值选80~120为宜。C\(_{1}\)可用瓷片电容,扬声器用口径为65毫米、阻抗8欧的。电感器L采用截面积为5×7(平方毫米)的铁心,用0.10毫米漆包线绕1500圈。亦可用相接近的晶体管收音机输入变压器初级代替(次级空着不用)。图中的2DR为硅太阳电池,又叫硅光电池。可逃用20×20(平方毫米)的那种,它的受光面呈蓝黑色,上面有银白色的栅线(见图3)。背光面是银白色的金属衬垫,它有四根引线,两根引自受光面,另两根焊在背光面。2DR型硅光电池的受光面为负极,背光面为正极。每片硅光电池在阳光照射下可产生约0.5伏的直流电压,无光照时就没有电压输出。本机用10片2DR型磁光电池串、并联后作为电源(见图4),这些硅光电池可以安装在鸟笼顶部的木板上,硅光电池的引线穿入木板小孔后固定。


图5为1:1的印刷电路板。调试时,先断开电感器L,接上硅光电池,并把硅光电池放在阳光下或较强的灯光下,调整R\(_{1}\)的阻值,此时自激振荡器工作,扬声器应发出音频信号声,改变C1的容量,使音频信号频率约在1200赫左右。然后接通L,间歇振荡器工作,适当调整C\(_{2}\)的容量值,(C2可在5~50微法之间选取),使扬声器发出悦耳的鸟叫声。

鸟叫装置可装入开口的小木盒或塑料盒内,注意扬声器口向上。小木盒放置在鸟笼底部。(梁竹方)