以前介绍的电子鸟的叫声多为单只鸟的叫声,我们这里介绍的电子鸟的叫声犹如两只鸟在对唱,显得活泼、欢快。
电路原理

电路见图1。图中晶体管BG\(_{3}\)、C2、C\(_{1}\)、R5、L、C\(_{3}\)和B的初级线圈组成一个间歇的音频振荡器。振荡频率由C2、B的初级线圈电感量及BG\(_{3}\)的偏置情况决定,选择C2使振荡频率为1000赫左右。由于R\(_{5}\)、L、C3的作用使振荡成歇振状态,用以控制音频振荡器间隔输出,使电子鸟间歇地鸣叫,而不象蝉鸣那样持续不断,令人烦噪。R\(_{1}\)~R4、C\(_{5}\)、C6、BG\(_{1}\)、BG2等组成不对称无稳态多谐振荡器,它等效于一个可变电阻,用以控制鸟的叫声发出两种不同的声音,一高一低,听起来好象两只鸟在对唱。BG\(_{4}\)、D和C4和ZD组成指示灯电路,使指示灯随着鸟的叫声而闪动。
元件选择与电路调试
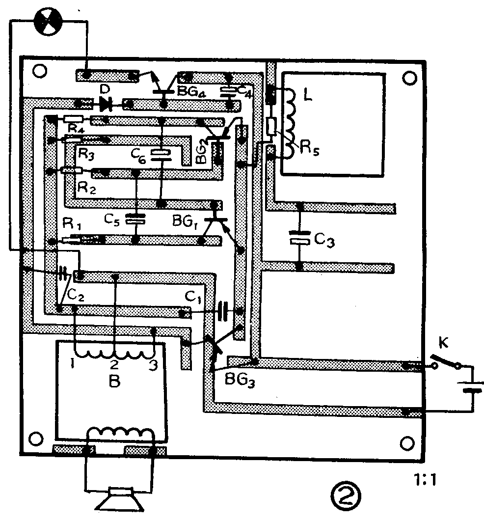
BG\(_{1}\)、BG2的放大倍数不宜过大,β一般取20~30;BG\(_{3}\)的放大倍数为40左右;BG4的工作电流应选得大一些,I\(_{max}\)>150mA。L用晶体管收音机输入变压器的初级线圈,B用晶体管收音机的输出变压器。印制板电路见图2。

调试时,先断开R\(_{5}\)使振荡不间歇,同时也不接入多谐振荡器,而用一只150K电位器串上10K电阻代替它接入电路,调节BG3的工作点,使之产生音频振荡。当音频振荡器起振后,再接通R\(_{5}\)支路,就可以听到较单调的鸟叫声。这时,再调150K的电位器,调出一种高声和一种低声来,分别测出对应于这两种声音的阻值,作为图1电路中R1、R\(_{4}\)的阻值。然后再单独调节多谐振荡器,将电源负极直接接R1~R\(_{4}\)的上端,正极接BG1、BG\(_{2}\)的e极(注意要与其它元件断开)。用万用表测BG1、BG\(_{2}\)的Uce,测U\(_{ce1}\)为-6伏左右,Uce2为-3伏左右(对9伏电源而言)。如果两管的U\(_{ce1}\)、Uce2都在0.1伏左右,说明两管都同时导通,电路不起振,这时可适当加大R\(_{2}\)或R3的阻值。如果一个管子一直导通,而另一个管子一直截止,应检查管子是否损坏或电路焊错。调好后,将多谐振荡器接入电路(应将150K电位器及10K电阻去掉)。调节C\(_{5}\)和C6可以改变两种鸟叫的变换时间。调节C\(_{3}\)可以改变间歇频率。(贺正)