STY-410型袖珍录放机是出现较早的一种“Walkman”机,由于造型美观便于携带,用立体声耳机欣赏音乐节目,可获得较强的临场感,所以受到用户的喜爱。但是该机也存在一些缺点,如:立体声放音只能用耳机进行,机内扬声器只能作单声道放音;该机不能录制立体声节目;录音时不能监听,且磁带上信号之间的空白段噪声较大等等。
原电路简介

图1是改进前的电路。当录放转换开关K\(_{1}\)(六刀两位)在录音位置(即图中位置)时,由话筒MIC来的信号经R2C\(_{1}\),CK1(外接话筒插口)、K\(_{1-2}\)和C10进入双前置级的8脚,放大后从6脚输出,经R\(_{16}\)、C12、R\(_{17}\)、K1-4和C\(_{2}\)01加至功放级IC201的3脚。再经C\(_{2}\)06、K1-5加至假负载R\(_{2}\)03上,一路经R206和C\(_{2}\)09送至磁头C01和C\(_{0}\)2,进行录音;另一路经二极管D1整流,通过R\(_{2}\)04及C207,滤波,再经R\(_{2}\)05控制晶体管BG1,使其内阻随音量的增高而减小,完成录音电平自控功能。与此同时偏磁电流经R\(_{1}\)08供给磁头C01和C\(_{0}\)2,而抹音电流经R109流入抹音头C\(_{0}\)3。由图1可以看出,录音时,转换开关K2-1必须在MO档,否则C\(_{0}\)1将失去通地回路而不能录入信号。当K1在放音位置时,放大器输入端和磁头接通,如果K\(_{2}\)在St位置,则C01的信号只进入IC-1的1脚,C\(_{0}\)2的信号只进入IC-1的8脚,此时若使用立体声磁带就可放送立体声。若K2在MO档,则两磁头均向1、8两输入端提供信号,即使使用立体声磁带,也只能得到单声效果。图中K\(_{1}\)-3是录放音均衡网络开关。K3是高低音转换开关。K\(_{4}\)是电源开关,当按下有关走带键时会自动接通。CK1——外接话筒插孔。CK\(_{2}\)——遥控插孔。CK3——外接电源插孔。CK\(_{4}\)立体声耳机插孔。
改制原则及部位
本机已具备两个独立的放大器通道,因此要它具有立体声录音功能,只需增加一只和原话筒接近的外接话筒,并将两路输出信号分别送至各自对应的录音头。为了不破坏原机外观,只增减元件,而不改动结构,具体方法是:
1.将第二路的自动录音电平控制电路(包括C\(_{2}\)08、BG1、R\(_{2}\)05、R204、C\(_{2}\)07、D1)去掉。

2.给第一路放大器增加放音均衡网络,如图2中的R\(_{C}\)和K1-4。这里的K\(_{1-4}\)就是利用原机(图1)的K1-4。方法是用小刀将原K\(_{1-4}\)的三个接点与原电路割断(参考图3),然后将C201的负端与W\(_{2}\)的动臂直接相连起来。

3.仿K\(_{1}\)-1的连接方法,把K1-5的三个接点割出来,担任磁头C\(_{0}\)1的录放转换开关(参考图2、3),然后将原来与K1-5相连的三根线短接。为减小感应交流声,K\(_{1}\)-5刀心应从印板图*号处入地。
4.仿第二路录音信号馈给元件C\(_{2}\)09、R206在C\(_{1}\)06至磁头C01的正极之间(注:接红线的为C\(_{0}\)2的负极,接白线的为C01的负极,相互短路的为两磁头的正极)加接C\(_{a}\)、Ra(见图2)。同时将C\(_{2}\)09的容量改为5000pF(在原1000pF上面并联一只3900pF电容)。
5.将原机的遥控插孔CK\(_{2}\)割出来,担任第一路外接话筒插孔J2。将稳速板与C\(_{1}\)07正端直接相连。新配的话筒最好也是小型通用话筒,用30~50cm隔离线连接。如有感应嗡声可在C2两端并联3~10KΩ电阻。
6.为了给C\(_{0}\)1、C02分别偏磁,增加了电阻R\(_{b}\)。当Rb=15KΩ时可满足各种磁带的需要。为此将第二路偏磁电阻R\(_{1}\)08也由10KΩ改为15KΩ。
7.为了既能录、放立体声磁带又能录、放单声道磁带,将K\(_{2}\)-2弃去不用(将原芯线断开,隔离线仍接地),将K2-1改接在C\(_{3}\)负端和C10负端之间(如图2)。这样,录音时K\(_{2-1}\)在ST位置,原机话筒(MIC)的信号只能经K\(_{1-2}\)加至C10,而J\(_{2}\)新配的话筒信号只能加至C3。由C\(_{1}\)06、C206输出的信号也只能分别经R\(_{a}\)、Ca和R\(_{2}\)06、C209进入C\(_{0}\)1和C02完成了立体声录音。当K\(_{2}\)-1在Mo位置时,J1和J\(_{2}\)来的信号汇为一路,因此两个磁头中都将得到混合信号,故录出的是单声。放音时需将J2的话筒插头拔出,否则C\(_{0}\)1的输出信号无法抵达C3。此时若K\(_{2}\)-1在St档,则可放立体声磁带;K2-1在Mo档时,不论放送何种磁带均为单声效果。
8.原机高低音转换电路接在音量电位器的中心上,因此在小音量时几乎没有高低音变化,现将C\(_{7}\)及C14分别改接在W\(_{1}\)和W2的上端,不论何种音量均有明显的音色对比。这一改动在电位器上进行十分方便。
以上改动只要打开后盖,无需将印制板取出即可进行。特别要说明的是,改动前务必参考图1、图2、图3彻底弄清楚印制板上每根走线(尤其是飞线)与原理图上的对应关系,改动时才不致弄错。有的改动连线没有在印板图上绘出(以免反而混杂不清),请读者仔细对照图2自己用彩笔加添,然后照图改机。
使用方法
本机改动后可以有五种以上使用方法。
1.J\(_{2}\)不插话筒,单用本机话筒。用法同原来完全一样,只是必须将K2拨在St位置,否则信号将被J\(_{2}\)的触点短路到地(这时仅左耳有监听信号,声音也只录在左音轨上,但放音时把K2拨在Mo档,就能使耳机的左右听筒都有声音。
2.在J\(_{2}\)插口插入一个φ2.5毫米插头(不带话筒),把K2置在Mo位置,此时耳机中将听到丰满的双耳单声效果。放音时须将J\(_{2}\)插头拔下,否则C01的输出信号将加不到第一路放大器。这种方式录下来的是双音迹信号,其强度比前种方式高,但不论K\(_{2}\)在St档或Mo档,听到的都是单声效果。
3.机外话筒录音(立体声及单声)为此只要将外接(右通道)话筒插入J\(_{2}\)即可。在通路可以用本机话筒,但如改用另一只型号相同的机外话筒将会更好,可以大大减小电机干扰声。当K2在St档时录下来的是立体声,K\(_{2}\)在Mo档时为单声。放音时同样应拔掉J2插孔中的话筒插头。需要注意的是两只话筒的左右位置要摆正确,距离也要适当(30~50厘米)。
4.线路转录(立体声及单声)

用两只STY—410型机,可以进行线路立体声磁带转录(其中放音用的一只机子也可以是未经改制的原机)。线路输出就从立体声耳机插孔中取出,然后经图4所示的转录线从J\(_{1}\)和T2插孔中输入。录音电平用送出信号的“放音机”和接收信号的“录音机”的音量电位器共同控制。一般应使放音机的音量适当小些,以免录音机前级过载,再用录音机的音量电位器控制到合适的程度。当两机的K\(_{2}\)都在St档时可以复制立体声磁带。当两机中任何一机的K2在MO档时,复制出的都将是单声磁带。
5.作立体声助听器用 此时不装磁带,将K\(_{2}\)置于St档,一手手指伸进带盒仓,按下防抹保险顶簧(必须如此操作),另一手即可按下录音键,此时耳机中就能听到有立体声定位感的声响,欣赏剧场音乐会的实况演出时特别适宜,在座谈会等场合使用也有较强的方位感,便于使用者迅速发觉谈话者所在的位置。
其他

1.原机内设2.5英寸扬声器,单道放声,音质欠佳,只要将普通φ3.5mm插头改造一下,即可用该机带动两个5英寸(8Ω)喇叭箱。立体效果较好。改制立体声插头的方法是:①先将普通插头的塑料壳拧下,小心地用细锉刀和小手钳将芯柱末端的劈分铆头弄直,然后就可将插头拆成散件;②将芯柱A沿径向锉去1/3左右,使成图5a所示形状;③从金属套筒上锉下3毫米的一个套环C;④找一段直径2.5毫米的有色套管,剪出0.7毫米长的一节作第二绝缘套D;⑤找三条外径0.6~0.7毫米颜色不同的多芯塑料导线(长度自定)作引出线;⑥在原绝缘套管B上与套环C对应的地方打一个直径0.7毫米的孔,以便穿过第二声道的引线;⑦照图5b的示意装配起来,末端用502胶或大头焊点固定(重新铆合也可,但较难奏效)。需要注意的是,第二声道(右声道)的引出线是靠压触法与金属环C接触的,所以绝缘套管B上穿线小眼的位置要在离C长度中线稍后的地方,以便腾出较多的压触部位,同时该引线剥出的铜线长度也要合适,使不致压不住,又不致外漏而碰到心柱A。最后再用万用表欧姆档检查一下C—B,A—L,E—G是否均一一对应接通,互不串线。正确无误后拧上塑料壳即成。自制的立体声插头与扬声器的接法见图5b虚线所示。

2.用交流供电:当用音箱放音时,电源消耗较大,且此时多为室内放音,故用交流供电为宜。我们用现成的电子管收音机输出变压器(初级阻抗5kΩ,次级阻抗4Ω)作电源变压器装了一个简单的整流电源,昼夜不拔插梢未见任何过热现象,且交流声很小。其电路如图6所示,电容C\(_{3}\)是滤波电容,C1、C\(_{2}\)是为防止交流感应声的。接引线时需要注意:此机(直流)电源插孔的芯线是负极,外皮是正极,切勿接反。

3.走带机构的改进 该机使用优质磁带时通常不出现问题,但使用某些原声带或廉价磁带时,发现有带速减低,声音不规则走调,甚至卷带、停走现象。经检查分析是由于某些机子自锁机构尺寸不合适造成的。具体现象是当出现上述现象时若松开放音键重新用手轻轻按下,到某一位置时磁带走速表现正常,音质也好听,但此时不能自锁,即不能离手。这时可打开机芯,小心地卸下决定自锁深度的勾片(图7),用细锥锉小心地照图示方向朝虚线部位一·点·一·点·地·锉·,并不断上机试验(注意:千万不可一次锉得太深,以免过头,不能锁到最佳位置或影响自停功能,以致后悔莫及!),到有明显效果为止。如果已有效果,但对个别劣质磁带仍不能满意放送,可不必再锉此勾,只要把磁带盒上的五个梅花螺钉适当松动即可。

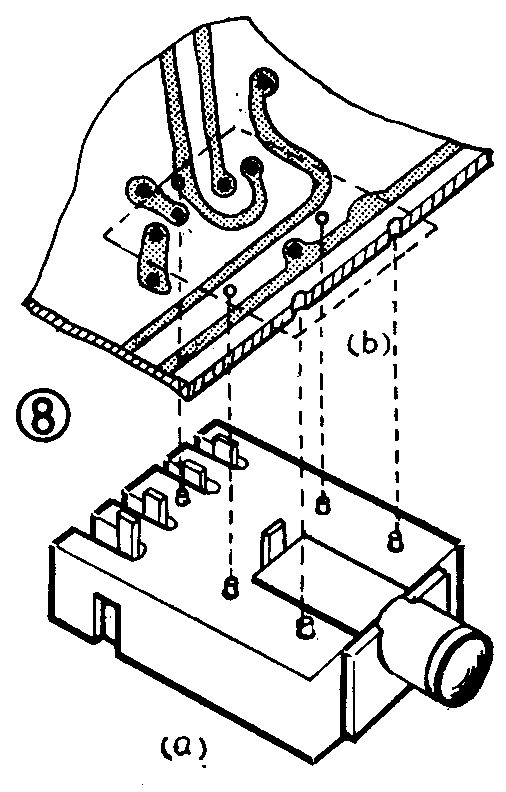
4.此机使用一段时间后往往发现这种现象:起初以为是耳机线根部断裂,经检查并无故障。打开机芯发现耳机插口处的印制板上有一铜皮受扭裂缝。焊接了一次,不多时类似故障又复发生多次,经仔细检查,发现装配工艺上有欠妥之处;该机的耳机插座上有五个定位用的小塑料柱(见图8a),但印制板上没有对应的定位孔,所以耳机插头摇摆时,此插座也跟着摇摆,致使电路板铜箔扭断。用手电钻钻五个位置及大小适合的小孔(图8b),将耳机插座的定位柱压入并重新焊接后,一年多来没再出现过此类问题。(进勤)