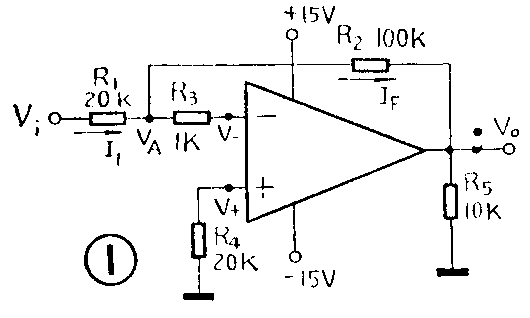
1.由集成运算放大器组成的放大电路如图1所示。①怎样用最简便的方法算出它的电压放大倍数?②当输入电压Vi=1V时,输出电压V\(_{0}\)=?③当输入电压“Vi=-10V时,输出电压V\(_{0}\)=?

2.你能指出图2中,a与b两个电路及C与D两个电路的传输系数A=V\(_{0}\)Vi有什么区别吗?

3.你能迅速求出图3电路r 输出电压V\(_{0}\)吗?

4.如果图4中所有的电阻值均相等,你能求出输出电压V\(_{0}\)与Vi1及V\(_{i2}\)的关系式吗?

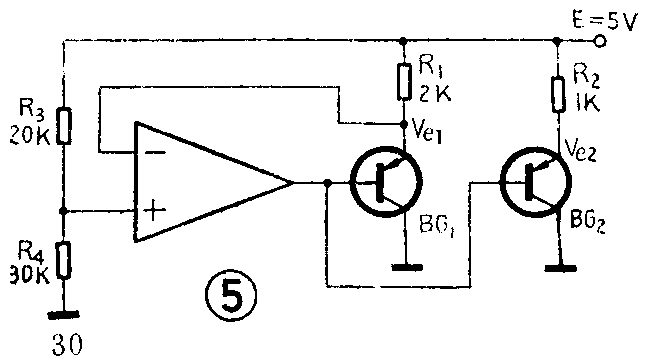
5.图5为集成运算放大器与晶体管混合的控制电路。若BG\(_{1}\)为硅管,BG2为锗管,你能求出这两只晶体管的静态集电极电流I\(_{CQ1}\)及ICQ2吗?

想想看答案
1.图1是一个反相比例运算电路。在分析集成运放组成的线性电路时,一般是将集成运算放大器作为理想运算放大器来分析,即认为开环电压增益A\(_{od}\)=∞,输入电阻ri=∞,而输出电阻r\(_{0}\)=0。按这种分析方法,可得到两条重要结论:(1)因为ri=∞,所以在运算放大器工作时,就不需要从外部信号源索取任何电流。即无论同相输入端还是反向输入端,输入电流均为零,或者表示为:I\(_{b}\)=0;(2)因为Aod=∞,而在线性区工作时,运算放大器的输出电压总是一个有限数,所以差动输入电压——即同相输入端电压V\(_{t}\)与反相输入端电压V-之差V\(_{t}\)-V-=V\(_{0}\)Aod=0,即V\(_{t}\)=V_。
利用以上两条结论来分析图1的电路是很方便的。①根据第(1)条结论:I\(_{b}\)=0,则R3、R\(_{4}\)两端无压降,于是得到V+=0,V\(_{A}\)=V-,I\(_{1}\)=IF;根据第(2)条结论:V\(_{+}\)=V-,则V\(_{A}\)=V-_=0,为“虚地”。由此即可得出:I\(_{1}\)=ViR\(_{1}\),IF=-V\(_{0}\);R2。于是得到放大倍数的表达式
A\(_{f}\)=V0V\(_{i}\)=-IFR\(_{2}\);I1R\(_{1}\)=-R2R\(_{1}\)。
将R\(_{1}\)=20KΩ,R2=100KΩ代入上式,很快即可算出A\(_{f}\)=-10020=-5。
②将V\(_{i}\)=1V代入Af=V\(_{0}\)Vi=-5式,即可得:V\(_{0}\)=-5×1=-5V。
③若将V\(_{i}\)=-10V代入上式,则得V0=-5×(-10)=50V,而此运放正电源电压为+15V,因此已超出线性范围,工作在正向他和情况,则V\(_{0}\)=15V。
2.图2的a与b两个电路都是反向比例运算电路。在图2a中,A=V\(_{0}\)Vi=-R\(_{2}\);R1=-\(\frac{100}{10}\)=-10。而图2b中,A=V\(_{0}\);Vi=-\(\frac{R}{_{2}}\)R1=-20;20=-1。二者传输系数不同,图2a为反相放大器,图2b为反相器。在图2c中,根据I\(_{b}\)=0及V+=V\(_{-}\)这两条结论,则I1=I\(_{2}\)=0,V+=V\(_{i}\)=V-=V\(_{0}\),即V0=V\(_{i}\),故A=V0V\(_{i}\)=1。在图2D中,虽然有R1及R\(_{2}\),但根据Ib=0这一结论,I\(_{1}\)=I2=O,R\(_{1}\)、R2两端无压降,V\(_{+}\)=Vi=V_=V\(_{0}\)仍成立,即V0=V\(_{i}\),A=V0;V\(_{i}\)=1。因此,从传输系数这一点来看,图2C与图2D无区别,都是常用的高输入阻抗电压跟随器。
3.根据I\(_{b}\)=0及V+=V\(_{-}\)这两条结论,Vi=V\(_{+}\)=V-=V\(_{A}\)=2V,则V0=4V。
4.这是一个双端输入的差动运算电路。先求V\(_{+}\):根据Ib=0这结论,得到V\(_{+}\)=\(\frac{R}{R+R}\)Vi2=V\(_{i2}\);2。又根据V+=V_,则V_=\(\frac{V}{_{i2}}\)2。根据Ib=0,得I\(_{1}\)=IF,而I\(_{1}\)=Vi1-V\(_{i2}\)/2;R, IF=\(\frac{V}{_{i2}}\)/2-V0R。即V\(_{i1}\)-Vi2/2;R=\(\frac{V}{_{i2}}\)/2-V0R。整理后得V\(_{0}\)=Vi2-V\(_{i1}\)。显然,此电路为减法器电路。
5.首先由R\(_{3}\)与R4分压求出V\(_{+}\):因为Ib=0,则V\(_{+}\)=R4R\(_{3}\)+R4E=30;20+30×5=3V。又根据V\(_{+}\)=V-,则V\(_{e1}\)=V-=V\(_{+}\)=3V,于是ICQ1≈I\(_{eQ1}\)=E-Ve1R\(_{1}\)=5-3;2=1mA。又由于BG1与BG\(_{2}\)基极都接在运算放大器输出端,Vbl=V\(_{b2}\),则Ve2=V\(_{e1}\)—Vebl+V\(_{eb2}\)=3-0.7+0.2=2.5V,于是得到ICQ2≈I\(_{eQ2}\)=E-Ve2R\(_{2}\)=5-2.5;1=2.5mA。(刘铁夫)