在自动控制系统和生产工艺过程中,时间继电器是用得很广泛的一种控制电器。常见的机械延迟式、晶体管延迟式等时间继电器,都存在着延时范围小、精度低、短延时和长延时都难以达到等缺点。为提高电器产品的技术水平,满足各种配套的需要,我们(上海电器电子元件厂)研制了DC系列PMOS专用集成电路,用集成电路组装的时间继电器,有延时范围广、精度高、可带数字显示、设定直观等特点。DC系列集成电路共有20多个品种。有高集成度的分频电路、计数符合电路、计数译码显示电路以及时间继电器专用电路。有对市电信号进行分频产生标准时基脉冲的分频电路,也有对石英晶体振荡器产生的信号进行分频产生标准时基脉冲的分频电路。有驱动荧光数码管的显示电路,也有直接驱动发光二极管数码管的显示电路。
用上述品种进行各种组合,可组成近2O种时间继电器,可根据使用场合、延时范围、精度及价格等因素来进行选择。
下面通过整机线路来介绍这些电路的逻辑功能。
市电数字式时间继电器
市电数字式时间继电器采用市电50Hz频率经过整流及整形作为它的信号源。有结构简单的单片式时间继电器和延时时间范围很广的多片式时间继电器。
(1)单片式时间继电器。
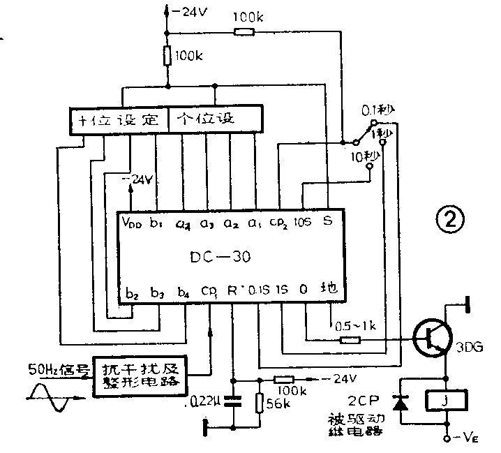
单片式时间继电器只需用一片DC-3O时间继电器专用集成电路。它的工作原理框图见图l。市电50Hz正弦波经整形后,以脉冲形式送到集成电路DC-30的CP\(_{1}\)输入端,经一级5分频和两级10分频电路,分别产生0.1秒、1秒、10秒三种时基信号。然后可根据延时范围的大小,选择其中一种时基信号输送到两位计数符合电路。当计数器所计的脉冲数与设定的数字相符合时,符合电路输出符合信号。输出电路接收到符合信号后即推动驱动电路使继电器动作。控制方式为通电延迟,即:通电后置“0”电路对所有计数器、分频器及输出电路置“0”,达到预先设定的延迟时间,继电器即吸合。

图1中虚线框内的部分,是一块DC-30时间继电器专用电路的逻辑框图。可以看到,主要的分频、计数、符合、输出电路都在一块集成电路DC-30内,组装是很方便的。用此单片电路装成的时间继电器,可分别延迟0.1~9.9秒,1~99秒,10~990秒。
设定可用8421码拨盘开关,也可用波段开关。当量选择开关可用十进制拨盘开关,也可用波段开关。
图2为接线图。接通电源,由于电容两端电压不能突变,DC-30的R端为高电平,对内部的分频器、计数器、输出电路等进行清零并封锁CP信号的输入。Q端被置为低电平,使三极管3DG截止,此时继电器J断开。随后R端变为低电平,CP信号开始输入,此时0.1秒、1秒、10秒时基信号输出端开始有时基信号输出。CP\(_{2}\)通过当量选择开关选择某一种时基信号输入。S端接至8421拨盘开关的公共端,平时为高电平,当输入脉冲数与设定数字相符合时,S端输入低电平,Q端被置为高电平,此时晶体三极管导通,继电器吸合。

(2)多片式时间继电器。
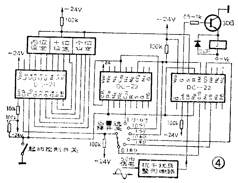
如果需要更长的延时时间,可用多片集成电路组装成延时时间更长的多片式时间继电器。图3是一个用一片DC-22(市电秒、分脉冲发生器),一片DC-23(60分频器),一片DC-21(三位计数符合电路)组装成的时间继电器工作原理框图。

图3的三个虚线框分别画出了DC-22、DC-23和DC-21的逻辑功能图。
50Hz脉冲输入电路后,由DC-22和 DC-23分频,产生0.1秒、1秒、10秒、1分、10分、1小时等六种时基信号脉冲。选择其中一种时基信号输入到DC-21的CP端,当输入脉冲数与设定数字相符合时,符合电路输出符合信号给输出电路,输出电路即推动驱动电路使继电器动作。
用此时间继电器,可实现0.1秒~999小时的延迟。如果需要的延时范围为0.1秒~999分,则可不用DC-23,只用DC-22和DC-21组成一个时间继电器即可。去掉DC-23后,线路的其它部分不变。
图4为接线图。控制方式可用前面介绍过的通电延迟方式,也可用图中介绍的用瞬动继电器或控制开关来控制时间继电器起动的方式。用瞬动继电器或起动控制开关方式的时间继电器电源可常接。当瞬动继电器或控制开关接通时,R、R\(_{0}\)端为高电平、DC-21、DC-22、DC-23全部清零,输出电路(DC-22)Q端为低电平,继电器断开。一旦瞬动继电器或控制开关断开,R端为低电平,50Hz脉冲信号开始输入到电路,延迟开始。达到延迟时间,继电器吸合。

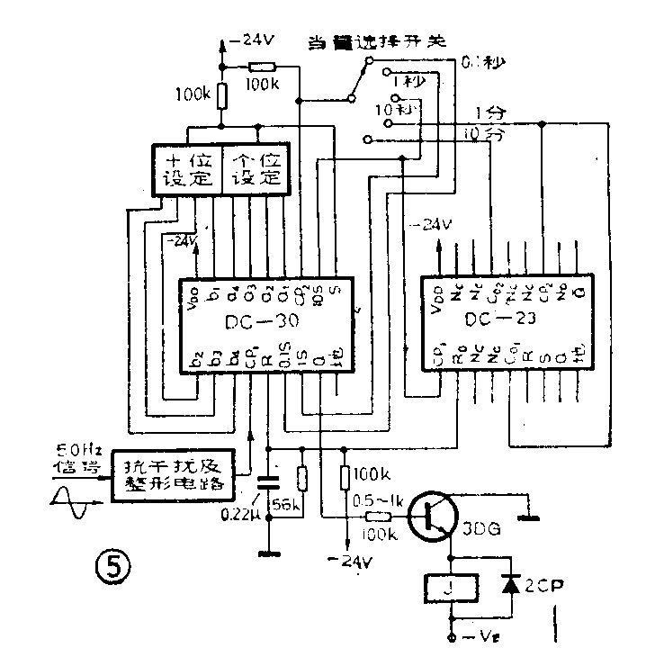
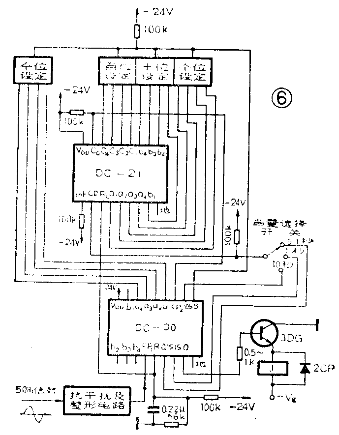
下面再介绍两种采用市电50Hz频率作为脉冲源的多片式时间继电器线路。图5是一种用2位拨盘开关、延时范围为0.1秒~990分的时间继电器,图6是一种用4位拨盘开关、延时范围为0.1秒~99990秒的时间继电器。由于工作原理与前面介绍的基本相同,不再复述。


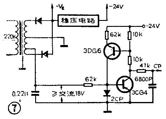
图7为抗干扰和50Hz信号脉冲整形电路。

市电数字式时间继电器的特点是:(1)用市电作信号源,由于频率低,所以分频电路简单,价格便宜;(2)精度不受温度影响,仅与电网频差有关。若电网频差为50±0.5Hz,则时间继电器的精度为1%。
但当有些地方的频差不能达到50±0.5Hz,或有些使用场合要求精度在0.1%以上以及在只能提供直流电源的场合,市电数字式时间继电器就不适用了。用石英晶体振荡器作为振荡源的高精度时间继电器完全克服了这些不足,以后我们将另作详细介绍。
有关时标选择、符合电路等可参阅84年第1期第30、31页。(汪荣昌 刘史华)