常见的场输出电路基本上有两大类型。一类是扼流圈输出,如图1所示北京842型电视机场输出电路;另一类是OTL场输出,如图2所示昆仑B312型场输出电路。本文重点讨论这两种类型电路的检修方法。


场输出电路的常见故障有:水平一条亮线或亮带;场线性不良;垂直幅度不足或较大;光栅或画面上有回扫线;场中心偏移;畸形光栅等。在检修时,若有几种故障同时存在,就必须按照一定的顺序进行检修。首先修理水平一条亮线;第二修理垂直线性不良;第三修理光栅或画面上的回扫线、场中心偏移、光栅畸形等其它故障。因为电视机出现水平一条亮线或亮带故障后,屏幕上没有光栅,即使电路中存在其它故障也不可能在屏幕上表现出来,因此只有先修好水平一条亮线或亮带,展开光栅,才便于发现其它故障。另外在出现光栅线性不良故障时,也有可能同时存在光栅幅度过大或不足,这时应先修理线性不良故障,往往是线性故障修好,幅度也随之正常。
一、水平一条亮线
水平一条亮线故障,即有可能发生在场振荡电路也有可能发生在场输出电路。当确定场振荡电路正常后,应着手检查场输出电路。
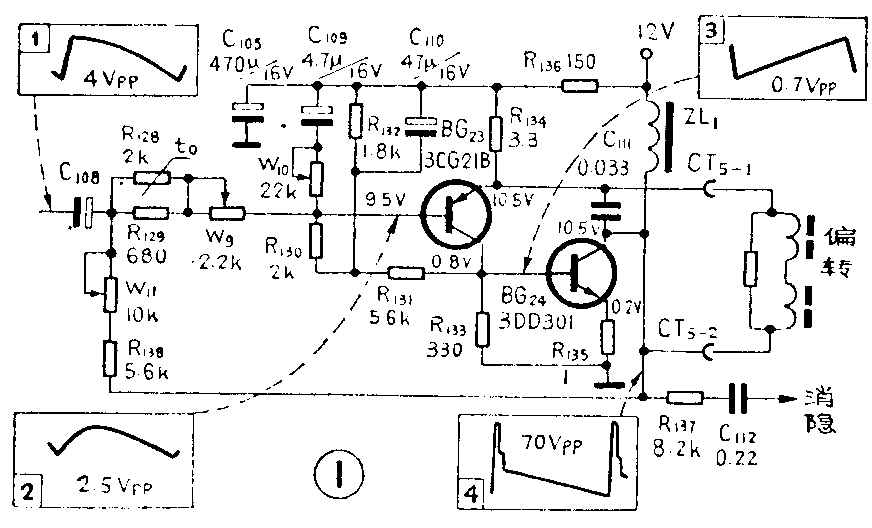
1.用万用表检查:在图1电路中,光测量扼流圈ZL\(_{1}\)输入端的12V电压是否正常,然后测量BG23、BG\(_{24}\)各极直流电压是否正常,正常电压值已标在图1中。如果测到的电压值与正常值相差较大,再检查各品体管是否损坏,首先用万用表R×10档在电路板上直接测管子的BE、BC、CE之间的正反向阻值,正常的阻值见表1。如果所测结果与正常值相差较大,可把管子焊下来作进一步检查。如果晶体管没有问题,可测量晶体管管脚对地的正反向阻值来进一步检查电路中的其它元件,正常阻值见表2。当发生水平一条亮线时,有不少情况是偏转线圈焊接不良或电路断裂造成的,这时BG23发射极的电阻值就会变大。对于图2电路,检查方法与扼流圈输出电路相同,它的明显特征是两输出管的中点电压大致等于电源电压一半或稍微低点。如果这个电压过高或过低,则说明电路不正常。还有一点需要说明,在输出电路和偏转线圈之间,如果有耦合电容存在,则应检查耦合电容是否失效或断路。


2.用示波器检查:在图1电路中,首先观察C\(_{1}\)08前后的波形,如果C108前无波形,则说明场振荡电路无输出,应检查振荡电路。如果C\(_{1}\)08前波形正常,而C108后的波形幅度有明显的减小或无波形,则说明C\(_{1}\)08失效或断路。第二检查BG23基极波形,即线性校正后的波形,第三检查BG\(_{23}\)集电极和BG24基极的波形,最后再观察输出管集电极和偏转线圈上的波形。从场输出的波形,可以判断偏转线圈的连接是否正常,因为只有偏转线圈与电路连接正常,才能在场输出端产生较大的场逆程脉冲波形,如果偏转线圈断线,则场逆程脉冲波形就会发生较大的变化。在图2电路,当偏转电路断线时,场输出的波形就会变成矩形方波。由于图2电路的检查方法与图1基本相同,这里就不再介绍了。
二、场线性不良
在图1电路中,使线性变坏的主要原因是:①由于扼流圈的分流作用,使锯齿波畸变;②由于温度变化或元件变值,使输出管的工作点发生变化;③由于耦合电容的容量不够大而造成低频失真;④荧光屏的曲率中心和电子束的偏转中心不一致;⑤场振荡电路的振荡波形不好。在图2电路中,造成场线性不好的原因,除了上述的②、③、④、⑤点外,晶体管的特性不好,对线性影响较大。
为了校正上述原因造成的失真,在电路中设计了上、下线性校正电路及电流、电压负回授回路,因此在检修时,应重点检查这些电路。检查步骤如下:
1.调整线性校正元件:在场扫描电路中,一般都设有几个线性调整元件,如图1中的W\(_{1}\)0、Wll。在检修线性不良故障时,应先调整这两个电位器,同时观察荧光屏上光栅线性变化情况,一般出现三种情况:①调整后,线性可恢复正常,这是由于长期使用,使电路元件有了轻微的变化或电位器有些接触不良。②调整时线性有变化,但不能恢复正常,这说明校正电路有作用,但由于电路变化较大,校正电路不能完全补偿或是校正电路元件变值,校正量变小。③调整时光栅毫无变化,这说明校正电路完全不起作用,这时应对校正电路的各元件做细致的检查。
2.检查电路元件;(1)示波器检查:在图1电路中,先观察C\(_{1}\)08前的波形①,检查场振荡输出的波形是否合乎要求,再观察BG23基极波形②和集电极的波形③,最后观察BG\(_{24}\)集电极的波形④。如果波形①正常,波形②不正常,说明是线性校正电路不好,如果波形②基本正常,波形③、④畸变,则说明场推动和场输出电路有问题,如晶体管特性不好、场输出扼流圈不好、工作点不对等。图2电路与图1电路的检查方法基本相同,各波形已标在电路图中。(2)用万用表检查;在线性校正电路中,主要是对电阻、电容的检查,对电阻的测量不需多说,对电容的检查,可用万用表的欧姆档,对电容进行充放电试验,观察表针摆动的大小来估计其电容量是否有变化。表3是几种常用电容器的估测数值。对晶体管主要是检查其穿透电流Iceo是否太大而影响线性。(3)元件代换法:在场扫描电路中,有些元件出现故障,用一般的万用表很难判断它们是否有问题,如扼流圈内部短路,偏转线圈内部短路等,在这种情况下可用一个好的备件作代换实验。

3.扩大检查范围:由于场扫描电路工作频率比较低,因此当电源电路中大容量电容发生变化时,也会造成场幅度不足,并伴有线性不良的故障。如果在检修时,经多方面检查,仍不能排除故障时,可扩大一下检查范围。
三、场幅度不足或过大
场幅度不正常时,应先调整场幅电位器和线性校正电位器,看其幅度能否恢复正常。调整时,如果幅度能恢复正常,说明只是某些元件变化或接触不良。如果幅度不变化,说明调整不起作用,可能是电位器损坏。如果幅度有明显的变化,但不能完全校正或幅度调好了线性却明显变坏了,说明是场输出的偏转电流不够。此时,应着重检查场振荡电路输出的锯齿波幅度是否足够(图1、图2中的波形①),输出电路的供电电压是否正常,晶体管的放大能力是否足够,场输出管的工作点是否正常,偏置电路是否有变值或接触不良现象。在图1电路中,应主要检查BG\(_{24}\)发射极的直流电压是否正常。在图2电路中,应主要检查输出管的两个输出管的中点直流电压是否正常。有的电视机在开机一段时间后,场幅度逐渐变小,这说明是场输出管热稳定性不好或是热敏电阻未起作用。另外,如果场输出端的隔直电容或耦合电容容量变小,也会出现幅度不足的故障现象。
四、图象和光栅上有回扫线
出现这类故障 时,首光调节场频电位器,使同步趋向稳定,同时看回扫线能否消失。如果回扫线消失了,说明只是同步不稳定造成的。如果仍有回扫线,则要作进一步检查。最好用示波器观察场输出的波形,正常时的波形如图3所示,其中逆程脉冲的幅度约占 整个波形的2/3左右,宽度约为1毫秒左右。如果观察到的波形与上不符,一般会有以下几种可能:一是场输出管的开关特性不好或穿透电流太大;二是电源电压较低或电源内阻较大,这时主要影响逆程脉冲幅度,检修时除检查滤波电容和耦合电容外,还可将电源电压调整到设计值或略高一点;三是偏转线圈焊接不良或霉烂,它也是主要影响逆程脉冲幅度。如果场输出逆程脉冲的波形基本符合要求,应该进一步检查视放和显象管外围电路,由于这些不属于场扫描电路范围,因此在这就不作讨论。

五、场扫描中心向上或向下偏移
场扫描中心发生偏移时,应先调整显象管管颈上的电子束中心位置调节器。如果偏移不大,则可校正。如果偏移太大,应检查隔直电容是否漏电,若没有隔直电容、采用直流耦合的偏转电路,应检查偏转线圈两端的直流电压是否相等或偏转线圈内是否有直流电流,因为当偏移较大时,可能场偏转线圈内有直流电流通过而产生附加直流磁场。例如:在图1电路中,如果退耦电容C\(_{1}\)05严重漏电,则R136上压降增大、BG\(_{23}\)发射极电位降低、偏转线圈两端直流电压不等、结果使场扫描中心向上偏移很多。
六、畸形光栅
畸形光栅主要是指梯形光栅、枕形光栅等几何形状失真的光栅,这类故障大多是因偏转线圈异常造成的。检修时,最好用一个好的偏转线圈进行代换实验,如果没有备件,则要对偏转线圈进行细致的检查。如果偏转线圈是内部短路,则线圈必须重绕。如果线圈只是漆包线破皮造成短路,则只要把两线拉开进行绝缘处理即可。有时也会发生人为故障,在检修时不小心将焊锡滴入线圈而造成短路,这时只要将焊锡拨出即可。另外,早期生产的电视机多数采用磁性贴片校正光栅,如果在使用和检修中不小心丢失贴片,也会出现畸形光栅,这时必须对光栅重新校正。(李福祥 汪锡明)