编者按:1982年3月在我国第十一次全国广播电视工作会议上制定了实行中央、省、市、县四级办广播的政策,并确定今后省、市、县新开办的广播应以调频方式为主,同时提倡条件的大、中城市陆续开办立体声广播。两年来,广播工作者在发射和接收方面都做出了显著成绩。现在新开发、新设计的收音机、收录机大多数增设了调频波段;立体声机种迅速增加;用于调频机的关键元器件,品种和产量也迅速增加。这对广大业余爱好者来说,无疑将提供日益有利的条件。
而对这种形势,本讲座力求以通俗易懂深入浅出的形式向读者介绍调频接收机(包括立体声接收机)实用技术,并侧重讲述调频接收机的电路特点、印板布线及结构特点、装调注意事项等。讲授中尽量注意将通用电路基本原理和实用电路选例结合起来;将应用技术与基础理论知识结合起来,希望能对读者掌握调频知识和动手制做有所帮助。本讲座持续时间较长,欢迎读者随时提出宝贵意见。
调频广播接收机(下简称调频机)是各种能够接收调频广播的装置的总称,包括调频调幅收音机、收录两用机:多用机、调谐器中的调频部分以及专用调频机等。由于调频广播信号的调制方式,发射频率与调幅广播不同,形成了调频机电路、结构、布线等一系列特点。为给以后各讲打下基础,本讲从调频信号和调频机总体概念两个角度阐述其特点。
调频波与调幅波的区别
为了使声音或其他信息传播到远处,在无线电技术中,采用将低频信息调制到辐射能力强的高频信号上的办法。这种低频信号称做调制波;受调制的高频信号称为载波;被调制后的载波称为已调波。当用调制波(图1A)去控制、改变载波(图1B)的振幅时,所得到的已调波称为调幅波(图1C);用调制波去控制改变载波的频率,也即使裁波的瞬时频率随我们要传送的信号强度而变,这种已调波称为调频波(图1D)。由图可见调幅波的频率和相位与载波相同,是恒定的,包络中包含着调制信息;调频波则是一种等幅疏密波,疏密程度正比于调制信号的幅度,疏密变化的速度正比于调制信号的频率,信息寄寓在载波频率的瞬时变化之中。调频波疏密变化的程度一般用频偏(△f)来表示,频偏是调频波瞬时频率与中心频率(即载波频率)之差。频偏与调制信号的振幅成正比,而与调制信号的频率无关。显然,频偏表明了调频波的调制深度,它与调幅波的调幅度相对应。在调频广播中,最大频偏△f\(_{m}\)为75KHz,以此值为调制度的100%。

调频波疏密状的特点,使它的波形在时间轴上看已不是等周期变化的波形了。这使它的频谱分布与调幅波相比有极大不同。由此产生调频波对传输系统一系列要求,并相应换来不少优点。
大家知道,无论多么复杂的波形,都可以看成由许多不同频率的正弦波相叠加而构成。在传输一个波形信号时,如果系统能毫不改变各频率成分的相互关系,这一信号的波形就不会失真。对调幅波来说,当仅用单一频率的音频信号调制时,已调波则由载波、上边频波和下边倾波三部分构成;当用频率复杂的音频信号(如音乐节目)调制时,已调波则由载波和上、下两个边带波构成。边带内的频谱线仍是有限的,边带最高最低两谱线与调制信号最高频率相对应。而调频波,无论用单一频率或复杂频率的信号调制,已调波均由无穷多个频率分量构成,也即频谱图上有无穷多根谱线,两侧高次谱线与调制波高次倍频成分相对应。传输这种波,理论上要求系统带宽也是无穷的。但实际上,高次边频波的幅度很小,理论研究和实践又证明当广播接收系统带宽B≥2(△f\(_{m}\)+Fm)时,就能够传输信号能量的99%以上,波形失真已极小。最大频偏, F\(_{m}\)为调制信号最高频率。普通调频广播Fm=15KHz,因此B=180KHz;调频立体声广播F\(_{m}\)=53KHz、△f=67.5KHz所以B=241KHz。调频波要求这样宽的通带,在中、短波广播接收系统中难以实现。因此,调频广播采用了超短波频段。这就有可能使调频机频响达到40~15000Hz;谐波失真达到1%以下,而且调频机重放音乐节目的动态范围可比调幅机高20dB,信噪比也高20dB以上,显然,调频机的音质要好得多。
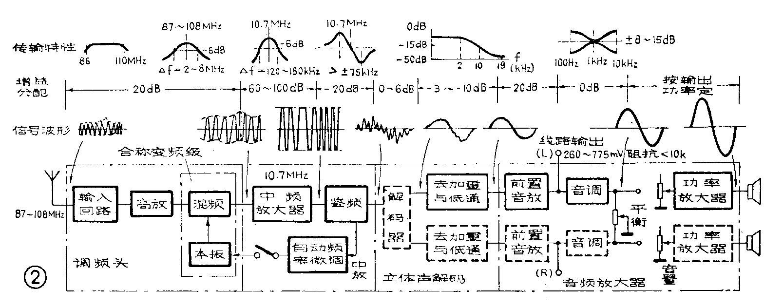
调频机的主要特点
图2所示为典型调频机方框图。图中,虚线部分为立体声机所特有。图中上部注明了调频机各环节主要传输特性及信号波形,各级增益为参考值。图3所示为典型调幅机方框图,仅做对比参考用。由图可见,调频机与调幅机一样,普遍采用超外差一次变频程式。普通调频机具有调频头(包括输入回路、高频放大器、混频器和本机振荡器)、中频放大器(包括多级中频限幅放大器和鉴频解调器)、音频放大器(包括前置放大器、音调电路和功率放大器)三个基本系统;立体声接收机则另增加了立体声解码器,并且音频放大器是双通道的。此外尚有供电系统、天线及终端电声换能器件。


调频机和调幅机相比,虽然同样采用超外差程式,但却有如下显著区别:
(一)电路程式的主要差别
1.调频机的前级具有高频放大器,而普通调幅机则无。这么由于超短波广播传播距离短,对调频机的灵敏度要求十分突出,并且调频机工作于甚高频频段,机内噪声对整机灵敏度的影响比中、短波大。在超外差式接收机中,变频级是机内噪声的主要来源之一,因为本机振荡器实质是一个具有一定带宽的正反馈放大器,它不仅把本机振荡信号注入混频器与外来信号差出中频,同时本振级的高频噪声也要和变频级之前来的高频噪声相互变频,差出中频噪声进入中频放大器。调频机增设高频放大器,可以提高到达变频级之前的高频已调波信号与高频噪声之比,从而明显提高整机灵敏度。一般,调频机灵敏度的水平为:音频输出信噪比为30dB时,天线端所需的最小信号电平为2~10微伏,比调幅机高5倍以上,高频放大器起着关键性作用。
2.调频机的中频放大器实质上是中频限幅放大器,当输入高频信号强度达到整机限幅灵敏度时,最末一级中频放大器首先进入限幅工作状态,故也称末级中频放大器为限幅器。事实上,随着输入信号的增强,中放各级从后向前依次进入限幅状态。这种限幅特性是调频机中放与调幅机中放有本质区别的一大特点。也是调频机抗干扰能力强的关键因素。从图2可见,调频机接收到的信号经过高放和变频,载波频率虽然降低到10.7MHz,但调制规律没有变,即频率变化的规律仍然与调制信号成正比。其幅度不传送任何信息。它的幅度之所以要经过中频放大器的足够放大,一方面是使鉴频器能够进入正常检波状态,另方面正是为了对已调波进行良好的限幅。已调波进行限幅的好处是:第一,切除掉叠加在振幅上的各种天电、工业干扰;第二,利用限幅器的强抑弱特性,抑制掉比有用载波小的对频干扰和噪声干扰。因此调频机的抗干扰性和信噪比均比调幅机有显著提高。
3.调频机的检波器是把已调波的瞬时频率变化变成电压的变化,其解调原理和电路都与调幅检波器不同。
4.调幅机为防止中频放大器出现限幅,必须加装AGC电路。而调频机除各别高级机外一般不设AGC电路。为防止本机振荡频率漂移,调频机一般常设有AFC(自动频率控制)电路,而这是调幅机所不必的。
5.其他的立体声解码器是立体声机所特有的;调频机音频放大器电路程式与调幅机完全相同,只是频响和谐波失真等指标应与调频广播的性能相适应。此外,立体声机的音频电路是两个通道,且两通道之间增设平衡度调节,以校正声像的偏移。
(二)结构、印制板、布线方面的特点
调频机的调频头工作频率高达87~108兆赫,中频频率也达10.7兆赫;均比调幅机高得多。并且,为了在接收弱信号时也能使中放进入限幅状态,中放增益均设计得较高。要使整机工作稳定不自激,对结构、印制板、布线等要求均更严格。
1.高频“地”电流问题 在高、中频电路中都有高频旁路元件、高频去耦元件接入地线或直流电源线(直流电源线一般也是交流零电位线),它们不可能在印板上统统接于一点。由于高频电流有集肤效应,使两个相距一定距离的交流零电位点之间的高频电阻加大,造成小信号高频放大器的增益降低。另一方面,高频“地”电流如果由后级强信号放大器的交流接地点,流向前级小信号放大器的交流接地点,就会形成“地”电流正反馈,引起自激。因此调频机“接地”问题十分重要,不仅是要加大地线面积,同时应注意地电流流向;前后级分开接地;同级旁路元件靠近接地等一系列原则,并且要在具体电路,具体印板、布线中灵活运用。
2.要处理好高频辐射 高频辐射会在机内引起自激,也容易造成对其他家用电器的干扰。因此加屏蔽罩以及屏蔽罩的良好接地十分重要。需加屏蔽罩的地方有:末级中放、本机振荡器,甚至可将整个调频头或中放集成块全部屏蔽起来。
3.减小高频损耗 调频机频率高,一些高阻抗部分,如高放调谐线圈热端、本振线圈热端,要求经印刷板材料到地线之间不要有高频损耗,否则增益大跌。因此要用高频损耗小的印板、封漆、封蜡等。
4.合理选择元器件 调频机高中频部分频率高,交流旁路电容应选无感的,多用瓷片、独石电容等。
5.防机震 收音机高频机震的机理是寄生调频,调频机尤其严重,因此调频头中的线圈均用浇蜡紧固防震措施。(高迺康)