1.小王为了做电解实验,按图1装了一个半波整流电路,经试用效果不差。他想进一步改善性能,就在输出端A、B间并接一个电解电容器,结果开机后,整流二极管就烧毁了。你知道这是什么原因吗?

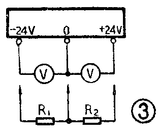
2.在一般情况下,整流器空载时的电压要比加负载后的电压高些。而图3所示的双路整流器,空载时输出电压分别为+24伏及-24伏,加上负载电阻R\(_{1}\)、R2后,+24伏电压指示却升高了,你能说明问题出在哪里吗?

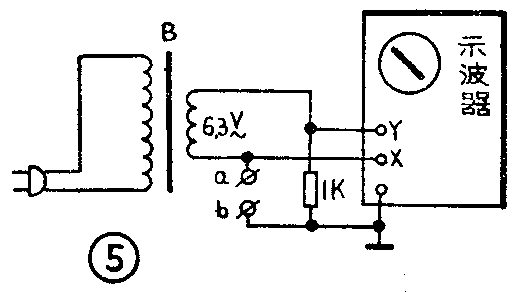
3.由一只小电铃变压器、电阻和示波器组成一个简单的电路如图5。在a、b端先接一只1K电阻,调节示波器X和Y输入增益,可得到图5中所示的波形。然后拿掉电阻,将一只二极管接于a、b两端。这时示波器上可以显示图6中的某一波形。读者同志们,您能想出这些波形说明了什么吗?


想想看答案
1.整流二极管反向耐压不够。在没有接滤波电容时,即负载是纯电阻时,整流二极管所承受的最高反向工作电压等于变压器次级绕组的电压峰值,即\(\sqrt{2}\)U\(_{2}\)≈1.4×70=98伏,2CZllA二极管最高反向工作电压为100伏,因此基本可用,不会发生击穿事故。但是在输出端接上电解电容器C后(见图2),情况发生了变化。在交流电正半周时,二极管导通,电容C处于充电状态,所充电压UC最高可达2U,极性是上正下负。当交流电为负半周时,电容器C所充电压U\(_{C}\)和变压器次级绕组电压U2的峰值相迭加,并加到整流二极管的两端,因此二极管实际承受的最高反向电压为U\(_{2m}\)+UC=\(\sqrt{2}\)U\(_{2}\)+2U2=2\(\sqrt{2}\)U\(_{2}\)≈2×1.4×70=196伏。此电压远大于2CZllA的反向耐压,所以二极管就被击穿烧毁。为了不发生烧管事故,在这个电路里至少要采用最高反向工作电压200伏以上的2CZllB等整流二极管。(陈有卿)

2.双路整流器的等效电路如图4所示。r\(_{0}\)为公共内阻。造成+24伏电压指示升高的原因有以下两方面:①零线回路中公共内阻r0较大(往往是由引线过细或接触不良造成的);②两组电源的负载电流不平衡 即R\(_{1}\)≠R2,I\(_{1}\)≠I2。

由图4可以看出,当R\(_{1}\)<R2时,I\(_{1}\)>I2,于是在R\(_{0}\)上的压降为(I1-I\(_{2}\))r0;压降极性与+24伏电源极性相同,二者叠加的结果将使+24伏电压指示升高。(林)
3.当a、b端接1K电阻时,电阻的分压作用使得X、Y两端获得大小相等方向相反的正弦波信号,因而显示一条从左上到右下的斜线。一只良好的二极管正极接a,负极接b时,如a点为高电位,则二极管导通将X输入短路,示波器只有垂线段。随着电位的下降,二极管截止,1K电阻上的电流近似为零,因此Y输入端压降极小,示波器只显示水平段。因而得到(D)波形。如果二极管极性反过来则得到(C)波形。同理,当二极管开路、短路或正向特性不好时,将分别显示(B)、(F)和(A)与(E)的波形,读者可自行分析。(王丽红)