这只繁用表的电压、电流各分为11个档位,可以测量10mV~500V的电压及1μA~500mA的电流。电阻、电感和电容各分为7档。电阻档的中心阻值为1Ω~1MΩ;电感为10μH~10H;电容为20PF~200μF。此外。繁用表的表面还装有发光二极管作被测电量正负极性的显示,根据相应的发光二极管亮否就可以知道被测电量的极性及交变性、给测量带来较大的方便。
工作原理
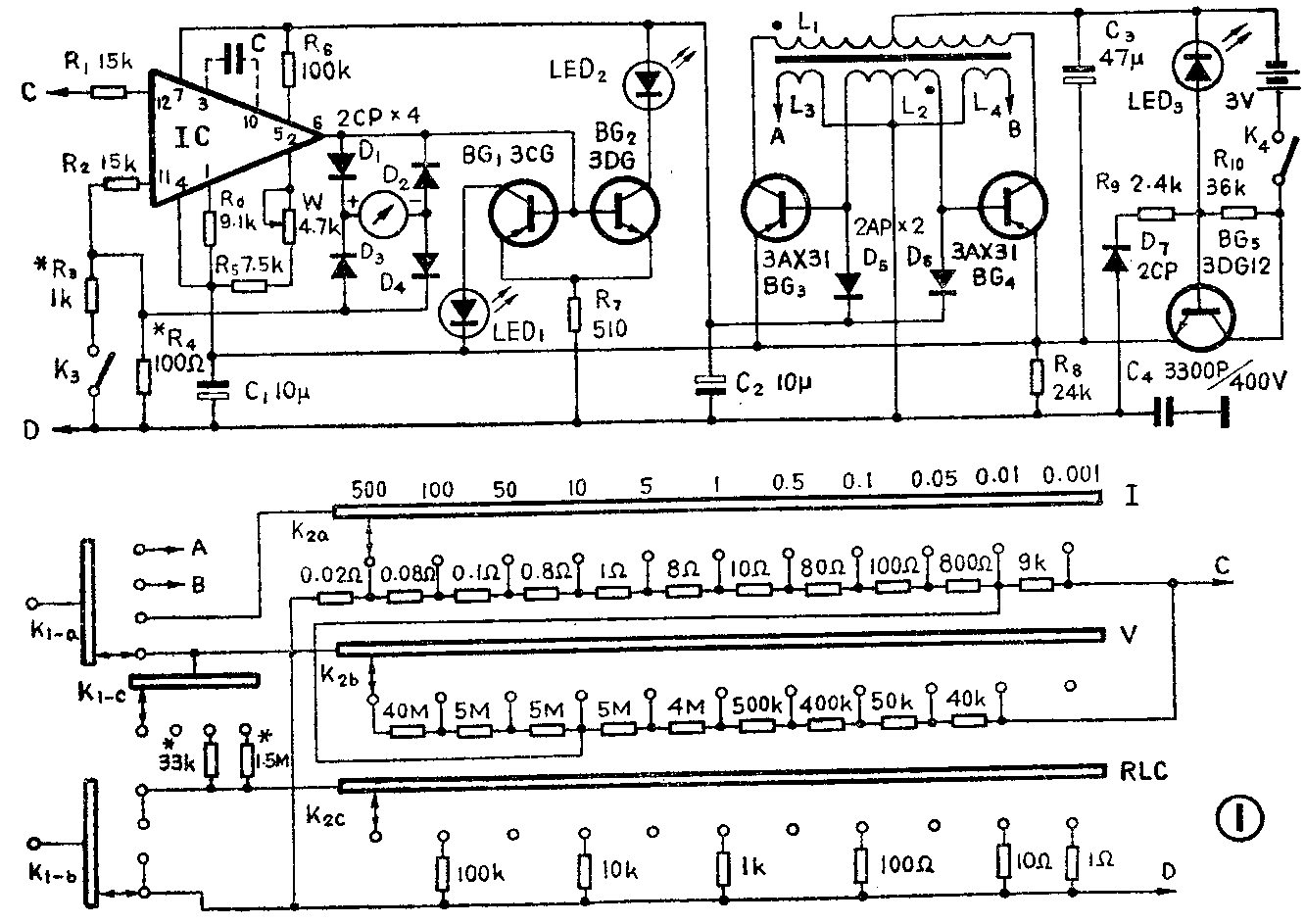
繁用表的电路见图1,分为检测及放大两部分,检测部分电路较简单,这里就不再介绍。放大器由集成运放块担任。输入的被测量接至运放的同相输入端(12),二极管D\(_{1}\)~D4、表头R\(_{4}\)、R2和R\(_{3}\)构成反馈电路,使放大器有很深的电流负反馈。晶体管BG1、BG\(_{2}\),发光管LED1、LED\(_{2}\)和R7等组成极性显示电路。当运放输入端输入一正电压时,则运放输出端的电压上升为正1.4伏,于是BG\(_{2}\)导通,LED2发光,显示输入信号为正极性;当运放输入端输入一负电压时,则输出端为负电压,因而BG\(_{1}\)导通,LED1发光,表示为负极性;若运放输入为交流电压,则LED\(_{1}\)、LED2同时发光。

整个放大器的放大倍数约为200,运放与100微安的电流表构成了相当于满量程为10毫伏的电压表或1微安的电流表。测交流时,应将开关K\(_{3}\)接通,以减小反馈量使其指示与直流刻度相吻合。
电源部分采用了晶体管稳压及升压电路,首先将3伏直流电稳定在1.2伏左右,再经直流变换及升压器升至正、负5伏左右。这样不仅可以省去两个价钱较贵的积层电池,缩小了电源体积,同时也使得电源电压由3伏下降至2伏时,繁用表仍能稳定可靠地工作。图示直流变换器电路易起振、效率高,一般不用调整,变换效率就可达70%以上。图中D\(_{5}\)、D6用于将次级交变电压整流后供给运放块作电源电压。次级L\(_{2}\)中心抽头交流通过电容C4接“地”的目的是使正、负电压对称。L\(_{3}\)、L4绕组提供测试电阻、电感和电容所需的10千赫的中频电压。L\(_{3}\)输出1.5伏左右的电压,用于测试阻抗较高的档位,L4输出30毫伏左右的电压,用于测试阻抗较低的档位。
发光二极管LED\(_{3}\)与BG3组成简单的稳压电路。LED\(_{3}\)兼作稳压管与电源指示灯。D7的作用是防止电池电压通过R\(_{9}\)使得变换器电路不能正常启动。
元器件选择与制作
集成运放块用FC—54,也可以用5G28。一般说来,低功耗或高阻型的集成运放都可以。BG\(_{1}\)用3CG或3CX型,BG2用3DG或3DX型的管子,它们的β应大于100。发光二极管选用工作电压为1.9伏左右。表头选用100μA的,若用其它规格的表头应注意更换R\(_{4}\)的阻值,使它与表头满度值的积为10mV即可。K1选用3刀4掷的,K\(_{2}\)选用3刀11掷的,要求选用质量较高,绝缘电阻大的瓷质波段开关。K3选用小型电源开关。检测电路中的电阻应用电桥挑选。
升压变压器B用磁环绕制,磁环的尺寸为φ18×φ8×5(mm)。L\(_{1}\)~L4用高强度漆包线绕制。L\(_{1}\)用的线径为0.21mm,双线并绕24圈,L2的线径为0.1mm,双线并绕120圈,L\(_{3}\)、L4的线径同L\(_{1}\)、L2,L\(_{3}\)绕1圈、L4绕30圈。电池用5号电池。印制板见图2(1∶1)。

安装与调整
整个仪器装在一个半导体收音机机壳内,表内元器件安排见图3。最好用金属材料作表壳,以免杂波干扰。本表为了屏蔽,在机壳表面铺设了一层1mm厚的铝板,内部与电路的接地端通过电容C\(_{4}\)相连。检测部分电阻焊在波段开关上。

调试时,为防止意外情况下损坏集成块,先不接入电路,把电源部分焊好后先进行调整。在印制板接集成块7、4脚的位置分别接4.7K电阻到地作为正、负电源负载。接通电源后,用万用表分别测出这两只电阻上的压降,输出的正、负电压均在5伏左右。若无电压,或数值差得太远,应将次级L\(_{2}\)两头互换一下,电路就可以起振。当电源正常后接上集成块。
全部电路工作正常后可进行检验工作。直流档的校验用5伏档,将繁用表与精度较高的电压表并联,接在一个可调电源上(可用电池组加电位器代替),将电源电压调节到标准表满度5伏为止,然后调换R\(_{4}\)阻值使繁用表也满度5伏,直流档算调好了。交流档的调试与上述同,只是需闭合开关K3,调R\(_{3}\)使两表指示相同。
电阻、电感及电容在同一档位校准。为了简化面盘上的档位刻度,电阻挡的倍率利用了电压与电流挡的0.001、0.01、0.1、1、10、100及空档作为×1000档,参见图4。电感、电容的倍率关系与上述倍率相差一固定的数量级,使用时只要记住它们的基准就行,不必另行标注。

绘制表盘上电阻刻度时,首先选出100Ω、200Ω、400Ω、800Ω、1.6K、3.2K、6.4K几只标准电阻,再用这些二进制数值的电阻组合成十进制的各种阻值进行刻度。为了减小工作量,表盘刻度间隔较大的地方可以自己根据需要进行插值而定。
电感、电容刻度的标定方法也可以按上述电阻刻度方法进行。由于它们在使用时要求不太高,所以分度可以间隔大些。在0.001档位时,因被测电感内部线绕电阻的影响会产生一定的测试误差。用这档测电容时,需在电容刻度线上再标注一些数值,供测试电容用,这一档能测1000μF左右的电容。由于测量时电压很低,高档为1.5伏、低档为30mV左右,所以测量时可不分电容极性。
实际使用时,为使测量淮确,应注意以下几点:1.测电阻、电感、电容时,应将这些元件直接接在表笔插座上进行测量,不易用表笔,以免感应和分布电容带来测试误差。2.测量电流、电压时,应注意发光管的极性指示并将K\(_{3}\)置于合适的位置。3.测电阻、电容、电感时,应注意选取合适的倍率数,用×10、×100、×1000档时,开关K1应扳至高档位,在×1以下档时,K\(_{1}\)应放在低档位。(李文谦)