场扫描电路是生产光栅的重要电路之一,其电路形式很多。有一类电路是振荡电路和输出电路可以互相分开的;另一类电路是振荡电路和输出电路不能互相分开的各种大回环振荡电路,它的特点是输出电路也是振荡电路的组成部分。我们准备将场扫描电路的检修分三部分介绍,第一部分是场振荡部分;第二部分是场输出部;第三部是大回环振荡部分。本文先介绍场振荡部分。
常见的场振荡电路有间歇振荡、互补振荡、集成片振荡等,其中在国内黑白电视机中应用最多的是间歇振荡电路,下面就着重介绍间歇振荡电路,而其它两种电路,因检修方法基本相同,所以仅对特殊之处作一些必要的补充。
一、间歇式场振荡电路
电路如图1所示,常见故障有以下四种:

1.水平一条亮线
第一检查是否停振:①用万用表直流电压档测量振荡管各脚的直流电压或基极、发射极之间的电压,可判断振荡管是否起振。振荡管BG\(_{22}\)在正常工作时各脚直流电压见表1,由表1可见:电路正常工作时,BG22基极电压低于发射极电压0.2V左右,这说明电路处于振荡状态,如果电路停振,BG\(_{22}\)就会变成放大状态,BG22基极电压就要高于发射极电压0.6V左右。还有一种方法是人为制造停振法,用一根导线短路振荡管基极或发射极绕组,同时用万用表观察BG\(_{22}\)的VEB电压,如果绕组被短路时,V\(_{EB}\)由2V变为0.6V,则说明电路起振,否则,说明电路停振。②用万用表交流电压档测量BG22的B、E脚对地交流电压,检查电路是否起振,测量时在表笔上串一个0.1μF的电容,以隔直流电压的影响,电路工作正常时,BG\(_{22}\)发射极对地交流电压为0.2V左右,基极对地交流电压为0.1V左右。如果测不出这两个电压,则说明电路不起振。③用示波器观察振荡管各脚有无波形来判断电路是否起振,电路正常时的各点波形见图1。
第二查找停振原因:在图1中,影响电路振荡的元件有振荡管BG\(_{22}\)、荡振变压器B3、电阻R\(_{122}\)、R125、R\(_{126}\)、W7、W\(_{8}\),锯齿波形成电路中的C107、R\(_{124}\)。①、测量BG22各脚对地的直流电压,看停振时电路的直流供电是否正常。如果测得C脚为10.5V、B脚为5V、E脚为4.3V,则说明电路的直流供电正常,即BG\(_{22}\)、R122、R\(_{123}\)都正常。如果检查结果与上不符,可进一步测量BG22各脚对地的正反向电阻,根据阻值是否有较大的变化来分析这些元件是否正常,BG\(_{22}\)各脚对地的正常阻值可见表1。②检查BG22是否损坏,在电路板上用万用表R×10档测量BG\(_{22}\)的BC、BE、CE的正反向电阻,正常时的阻值见表2,如果测量结果与表2相差较大,再取下管子作进一步检查。有时管子的放大倍数不够,电路也不起振。③检查锯齿波形成电路中的C107、R\(_{124}\)是否断线或容量枯竭。④、检查振荡变压器各绕组的直流电阻是否正常。正常时绕组①、②阻值为65Ω,③、④阻值为27Ω,⑤、⑥阻消为170Ω。如果测量结果与正常值相差较大,有可能是绕组霉烂、短路或接触不良等。当绕组有少最短路时,用测阻值的方法就难以判断,这时可用一个好的变压器换上试试。


2.光栅和图象线性不好
场线性不好应重点检查场输出管工作状态和波形校正电路。但有时故障也发生在场振荡电路中。检查和判断故障是否发生在振荡电路内,简单的方法是用示波器观察BG\(_{22}\)发射极的输出波形,正常时波形见图1,如果看到图2所示波形,则说明故障在振荡电路内,这时应重点检查BG22、C\(_{1}\)07。

3.场幅度过大或不足
在检查这类故障时,最好用示波器观察BG\(_{22}\)发射极的锯齿波幅度,如果锯齿波幅度异常(过大或不足),则说明故障在振荡电路内。在振荡电路内影响场输出幅度的主要元件有BG22、C\(_{1}\)06、C107、R\(_{122}\)、C108、BG\(_{49}\)。
4.场不同步
场不同步可分为两种情况来讨论:一种情况是调节场同步电位器,图象在不同步的瞬间有同步点,这表明场振荡频率是正确的,故障在同步放大电路或积分电路。另一种情况是调节场同步电位器,图象没有同步点,这时故障一般在场振荡电路。
①同步放大电路和积分电路:用万用表检查BG\(_{21}\)的基极,看有无0.2V左右的负压,如果没有,则说明在BG21的基极无同步信号输入,如果有负压,但幅度太小,不足0.5V,则说明同步信号对电路不起作用。积分电路可用示波器观察第一积分电路和第二积分电路的波形,特别是第二积分电路的波形幅度是否正常。在检查时,要焊开二极管BG\(_{48}\)的一端,其目的是排除振荡电路对前面电路的影响,防止判断错误。焊开BG48后的波形如图3所示。

②振荡电路:振荡电路主要是振荡频率发生较大偏移而造成场不同步,在检查时应重点检查影响频率的元件,如W\(_{7}\)、W8、C\(_{1}\)07、R124、R\(_{125}\)。
二、互补式场振荡电路
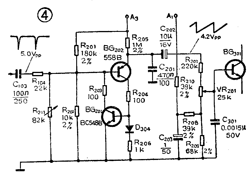
电路如图4所示,常见故障大致是以上谈到的四种,检查故障的方法也与上述方法基本相同,这里就不再一一讨论了。

正常工作时,BG\(_{2}\)01、BG202各脚的对地电压、对地电阻见表1,BG\(_{2}\)01、BG202各极之间的正反向阻值见表2。在BG\(_{2}\)01的基极上,有一个负0.4V左右的直流电压,这是电路正常工作的标志。在检修场不同步故障时,可不必焊开R104,即不必把振荡电路与同步放大电路分开,因为在此电路中,振荡电路对同步放大电路的影响不大。影响振荡频率的元器件有:BG\(_{2}\)02的基极偏置电阻(R201、R\(_{2}\)02、R211),C\(_{2}\)02的充放电电路(R205、C\(_{2}\)02、R207、VR\(_{2}\)01,R209、BG\(_{2}\)01、BG202、R\(_{2}\)03、R204、R\(_{2}\)06、D304)等。
三、集成片场振荡电路
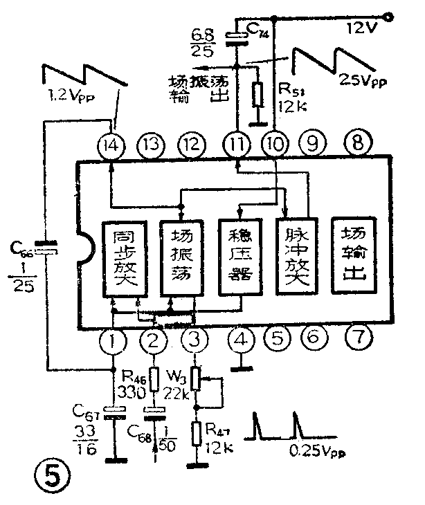
电路如图5所示,它的场振荡信号在集成片内经过第二次形成放大后,才输出到外电路。影响振荡频率的元件,在集成片外只有W\(_{3}\)、R47、C\(_{66}\)、影响脚输出信号(场锯齿波输出)的有无和大小的外部元件是C74、R\(_{51}\)。

它的故障现象和检查方法与前述两种电路基本相同。在正常情况下,有关脚的直流电压,对地电阻在表3中已列出。用示波器检查,主要观察集成片的②、、的波形,正常的波形已标在图5中。②脚波形正常,说明输入的同步信号是正常的。脚波形正常,说明集成片内的第二次形成放大电路工作正常,波形正常,说明集成片内的场振荡电路的工作是正常的。

实际故障举例
例1:北京牌842型黑白电视机,出现水平一条亮线故障。振荡电路如图1所示。
1.判断场振荡电路是否振荡,用万用表测量振荡管BG\(_{22}\)基极和发射极的对地直流电压。B脚为3.8伏,E脚为3.1伏,基极电压比发射极电压高0.7伏,说明电路已停振,再用示波器看BG22的B、E、C三脚均无波形。
2.找出导致停振的故障点,先测BG\(_{22}\)各脚的直流电压,B脚为3.8伏,E脚为3.1伏,C脚为3.1伏,集电极电压很低,只有3.1伏,这是基极的3.8伏电压经BC结降压后得到的,说明集电极供电不正常。再测BG22各脚对地正反向阻值,B脚的R\(_{+}\)和R-均为3K,E脚的R\(_{+}\)和R-均为1—2K,C脚的R\(_{+}\)为8.8K,R-为∞,与表1对照,也说明集电极电路有问题。分别测量R\(_{122}\)和场振荡变压器③、④绕组的电阻值,发现绕组内部断线,更换新变压器后,故障排除。
例2:北京牌842型黑白电视机,出现场不同步故障现象。
1.调节场同步调柄,图象有同步的一点,但是稳不住,说明场振荡频率基本是对的,可能是同步放大电路有问题。因此再测量同步放大管BG\(_{21}\)的各脚直流电压,E脚为零伏,B脚为负1伏,C脚为8.8伏,看表1,其基极电压为负0.2伏,现在为负1伏,说明送来的同步信号不小。所测到的集电极电压比表1所列的值偏高了,但与基极电压相对应(基极负偏置大,集电极电流小,所以集电极电压高),说明集电极电路也基本正常。
2.用示波器检查:BG\(_{21}\)集电极波形正常,第一积分电路波形正常、第二积分电路无波形,说明故障在第二积分电路内,焊下R121一端测阻值,发现R\(_{121}\)断线,换上一个5.6KΩ、1/8W的电阻,故障排除。(李福祥 汪锡明)