问:一台电视机发生因高压下降而引起的光栅暗淡、散焦及图象过大等故障。查行输出级未发现问题。但显象管外壁的石墨层有严重鼓起、脱落现象,故障是否由此产生?有何补救办法?
答:当由显象管玻壳内外壁两层石墨层形成的高压滤波电容失效或容量明显减小时,会引起显象管第二阳极高压的下降,从而导致产生光栅亮度暗、散焦、图象过大等现象。但一般这些现象并不很严重,因为显象管外壁的石墨层总不会完全脱落或鼓起,高压也不会下降大多。所以当故障较严重时,在高压包输出的高压正常的情况下,应先查高压硅堆或整流管的内阻是否太大。如果故障较轻,而且高压硅堆或整流管又无问题,则说明故障由石墨层脱落而引起。可以在显象管第二阳极与地间接一个容量为220~510微微法的高压电容进行补救,电容的耐压一般9英寸机用10千伏以上;12英寸机用12千伏;16和19英寸机用大于15千伏的。(王德沅)
问:一台三洋12—T—284UI型12英寸黑白电视机,出现如下故障:光栅暗淡,将亮度逐渐开大,亮度增加不多,图象却逐渐扩大,当光度电位器旋至最大位置时,光栅消失,伴音始终正常,这是什么原因造成的?
答:这种故障是由于一体化行输出变压器T602内三个高压整流二极管中的某个二极管正向电阻变大所致。它使得高压明显降低,亮度变暗。当亮度电位器开大,使显象管阴极发射电子增加时,由于整流二极管正向内阻变大,高压随之再度下降,致使图象变大。如果整流二极管损坏程度严重,当亮度电位器全部开大时,光栅就会完全消失。
由于这种机子使用的是一体化行输出变压器,无法单个调换损坏的整流二极管,因此必须调换整个行输出变压器,才能排除故障。(花维国)
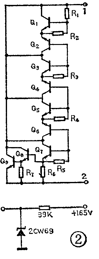
问:在一些外国电视机电路图上,有一块集成电路TAA550A,它仅有两只引出脚,不知其内部电路,损坏后能用国产元件代替吗?

答:TAA550A.B.C.的内部电路如图1所示,由9只NPN型三极管,7个电阻组成,只有两个引出脚。TAA550起稳压作用,相当于一只稳压二极管,稳压特性比稳压二极管好,其参数如表。


当TAA550A损坏后,如果配不到原型号或性能相同的集成电路时,可用国产稳压二极管代替。能直接代替的型号有2CW119,2CW120,2CW69,2CW70等。因稳压二极管I\(_{2}\)较小,需将限流电阻增大,使稳压管的I2为4mA左右,如图2。也可用2CW62、2CW63、2CW78、2CWll2两只顺向串联后代替。83年3期上有关TAA550内电路的说明不妥,请原谅。(汪非)
问:一台飞跃9D3—1A型黑白电视机,收看中突然光栅消失,从电视机后盖里冒出一股青烟并有焦臭味,此时旋动亮度电位器不起作用,但伴音正常。打开电视机后盖,发现电阻7R\(_{22}\)已烧毁。经检查该部分的有关电容器7C19、7C\(_{21}\)均无短路现象,中压整流二极管7BG12也没有损坏。是什么原因使电阻7R\(_{22}\)烧毁?怎样排除这个故障?
答:这个故障是由于聚焦电位器7W\(_{1}\)的金属外壳与内部的马蹄形碳膜体连接中压400V端短路所造成。聚焦电位器7W1的金属外壳与内部马蹄形碳膜体相距很近,电视机使用日久,就会在它们之间存积杂质污垢和氧化物。由于聚焦电位器7W\(_{1}\)的金属外壳接地,接中压400V的马蹄形碳膜体一端就会通过杂质污垢和氧化物对金属外壳放电,直至击穿短路。由于短路时电流很大,电阻7R22即被烧毁,中压400V不能加至显象管的加速极和亮度电位器上,造成上述故障。
解决的办法是,将聚焦电位器7W\(_{1}\)从印制电路板上焊下,拆开后用汽油或酒精将马蹄形碳膜体上的杂志污垢和氧化物擦洗净,并用小刀轻轻将碳膜体及电位器胶木座板上被电弧灼焦的焦黑层刮去,即可重新使用。(花维国)
问:我有一台上海牌104—2型电视机,信号强时收看正常,但信号弱或对比度电位器关小时,出现荡幅回扫亮线。经检查,微分消隐电路各元件都是好的,帧振荡电路各级电压也基本正常,不知是什么原因?
答:这种故障主要是帧振荡变压器初级线圈开路引起的,一般不易发现。因为帧振荡变压器初级虽然开路,但电流仍能通过并联在初级两端的阻尼寄生振荡电阻R\(_{53}\)(5.1K)加到电子管G11(6N1)的屏极(6脚),所以静态工作电压基本正常。另外,帧振荡变压器匝数较多,漏感、分布电容都比较大,通过极间耦合仍能维持振荡。因为振荡较弱,产生的逆程消隐脉冲幅度较小,对逆程回扫线抑制不够,因此出现满幅回扫线。只要更换帧振荡变压器,故障就会消失。(梁怀斌)
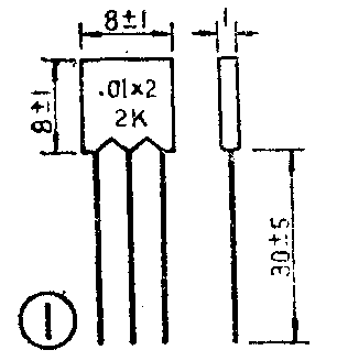
答:RC阻容组合元件是由电阻器、电容器组合起来而做成的一个元件,常用于半导体电子设备中。它的外形及其外形尺寸见图1,其特点是体积很小,使用方便。它的内部线路及其内部元件的参数一般由厂家根据用户的需要制定。图2就是一种RC阻容元件的内部线路图。它由二只0.01μF瓷片电容和一只2KΩ电阻连接组成,常在收音机的检波级后面作滤波使用。业余爱好者也可把此元件当成两只0.01μF瓷片电容或一只2KΩ、1/8W电阻使用。也可以并联成一只0.02μF电容使用。(徐勇)
问:我见到有的瓷片电容上标有“103”、“502”等字样,这些符号是什么意思?是否表示它们的容量分别为103PF和502PF?
答:这种瓷片电容上的103不是表明它是103PF,502也不是表明它是502PF。这类瓷片电容的标值一般都用3位数表示,最后一位数表示是10的几次方,具体读数时要用前两位数乘上第3位数所表示的10的几次方,单位是“PF”。例如:“103”所表示的电容量为10×10\(^{3}\)PF=10000PF=0.01μF;“502”所示的电容量为50×102=5000PF;“403”表示的电容量则为40×10\(^{3}\)PF=40000PF=0.04μF。(徐勇)
问:盒式录音机是谁发明的?目前我国盒式录音机社会拥有量为多少?
答:当今遍及世界各地的盒式录音机及其所用的盒式磁带是荷兰非利浦公司于1962年最早研制成功的。并于1963年公诸于世。
我国试制盒式录音机和盒式磁带是从八十年代初期开始的,1979年起产量才大幅度增加,每年的年产量为:1979年16万台;1980年74.3万台;1981年154.6万台;1982年374.1万台;1983年450万台。截止到1983年底我国总共生产了约1070万台,如果算上来料组装的30多万台,及近几年来国外进口的,个人带进国内的约200~300万台,则我国目前盒式录音机的社会拥有量约为1370万台。(祥)
问:一台康艺2828—S型收录机,电源变压器烧坏,初级为乱绕,圈数弄不清了,请协助提供该变压器的绕制数据。

答:一些进口机的小功率变压器初级大多采用乱绕法,层间不加绝缘,但所用漆包线漆皮较厚,相当国产QZ型漆包线。自己绕制可参考附图,绕组间加0.05mm聚脂薄膜3层(或用0.12mm电缆纸3层)。最外层用0.05mm电话纸4层(或0.12mm电缆纸2层)包起来。(郁星海)
问:我的三洋M2429收录机用了一段时间之后,现在录不上音。自录的磁带,放音时声音很小,不知从何处入手解决?



答:这种现象是录音灵敏度底的表现,故障可能出自下述两方面:1.磁头磨损,三洋M2429机采用普通坡莫合金磁头,这种磁头寿命约1000小时。磁头磨损后,缝隙变宽,导致录音灵敏度下降。判断磁头磨损程度有两种方法,一种是肉眼观察,磁头与磁带接触的部位是否出现较深的凹槽。二是听放音,用一盘高音好的音乐节目带放音,磁头磨损越是严重,高音损失越严重,如果高音已听不到多少,说明磁头不能再用了。2.偏磁电路出故障,三洋M2429机采用直流偏磁(如图1)。图中R703是偏磁电阻,可以算出偏磁电流为5.1V/56K≈90μA。检查这种直流偏磁电路是否有故障,可以直接将万用表串入录放磁头电路(如图2),也可检查R\(_{7}\)03是否开路。以上两种可能性,一般磁头磨损居多。图3是M2429局部印板图,如果磁头磨损不太严重,可在R703上并联一只27KΩ~47KΩ的电阻,以增加偏磁电流,提高录音灵敏度。如果增加了偏磁电流录音灵敏度仍很低,那么磁头就必须更换了。(上官沁)

